Запчасти Volvo EC460B 48901 Гидравлика, мотор вентилятора масляного охлаждения EC460B PRIME S/N 15001-/85001-

Схема запчастей Volvo EC460B - 48901 Гидравлика, мотор вентилятора масляного охлаждения EC460B PRIME S/N 15001-/85001-
FIT
1:1
100%

Артикул

Название

Примечание

Количество

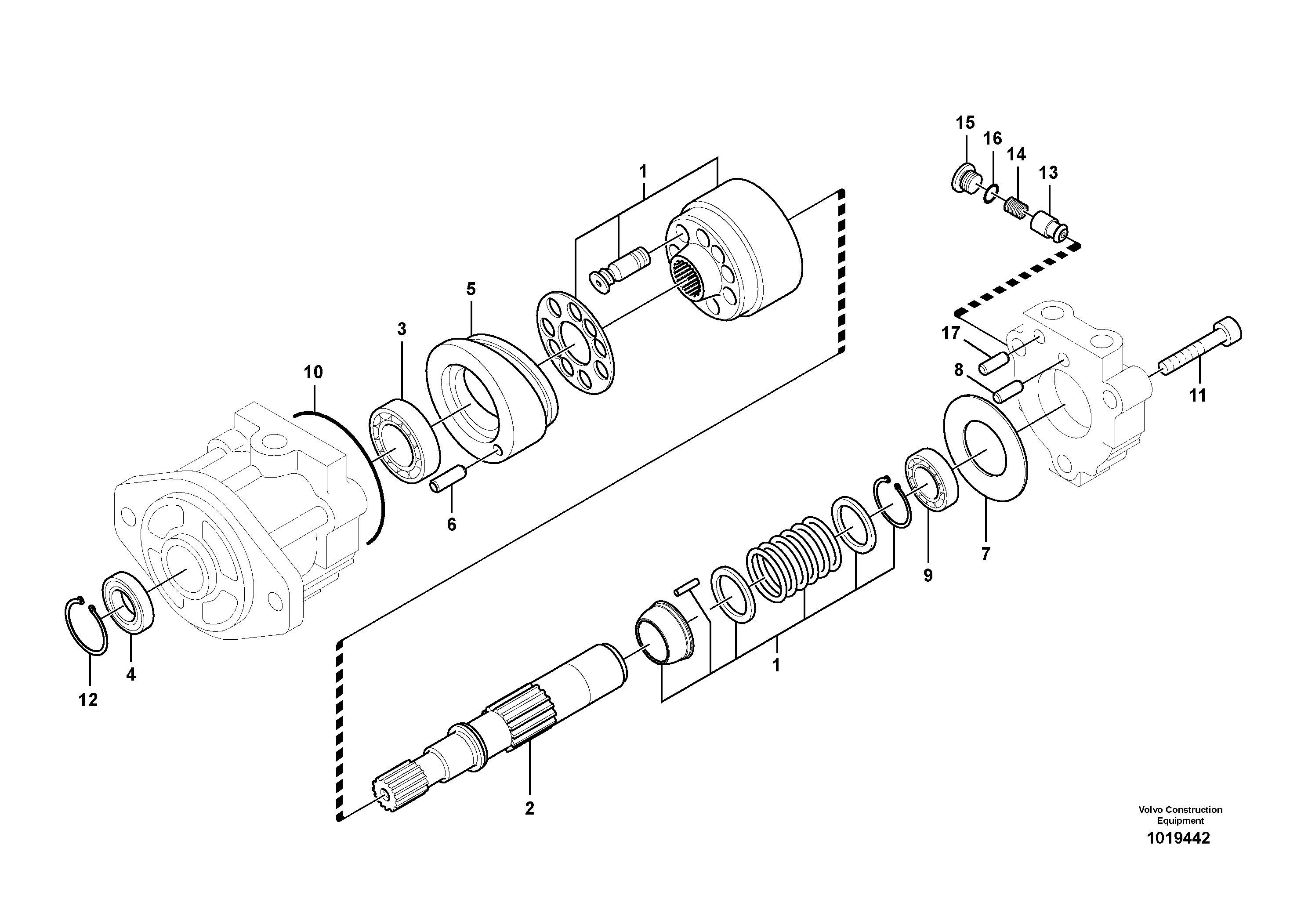
VOE 14533496

Motor

1шт.

1

VOE 14537417

Блок цилиндров

1шт.

10

VOE 14536018

Кольцо уплотнительное (О-кольцо)

1шт.

10

VOE 14536018

Кольцо уплотнительное (О-кольцо)

1шт.

100

VOE 14537416

Sealing Kit

1шт.

11

SA 8230-33220

Болт

1шт.

12

VOE 14512772

Кольцо

1шт.

13

VOE 14536020

Клапан обратный

1шт.

13

VOE 14536020

Non-return valve

1шт.

14

VOE 14536021

Пружина

1шт.

14

VOE 14536021

Пружина

1шт.

15

VOE 14536022

Пробка (заглушка)

1шт.

16

SA 9511-12014

Кольцо уплотнительное (О-кольцо)

1шт.

17

SA 8230-32410

Палец

1шт.

2

VOE 14537413

Вал

1шт.

2

VOE 14537413

Вал

1шт.

3

SA 8230-33970

Ball bearing

1шт.

3

SA 8230-33970

Ball bearing

1шт.

4

VOE 14537414

Сальник

1шт.

5

VOE 14537415

Пластина

1шт.

6

VOE 14512771

Палец

1шт.

7

VOE 14536015

Пластина

1шт.

7

VOE 14536015

Пластина

1шт.

8

VOE 14536016

Палец

1шт.

9

VOE 14536017

Подшипник

1шт.

Выбрано товаров: 25