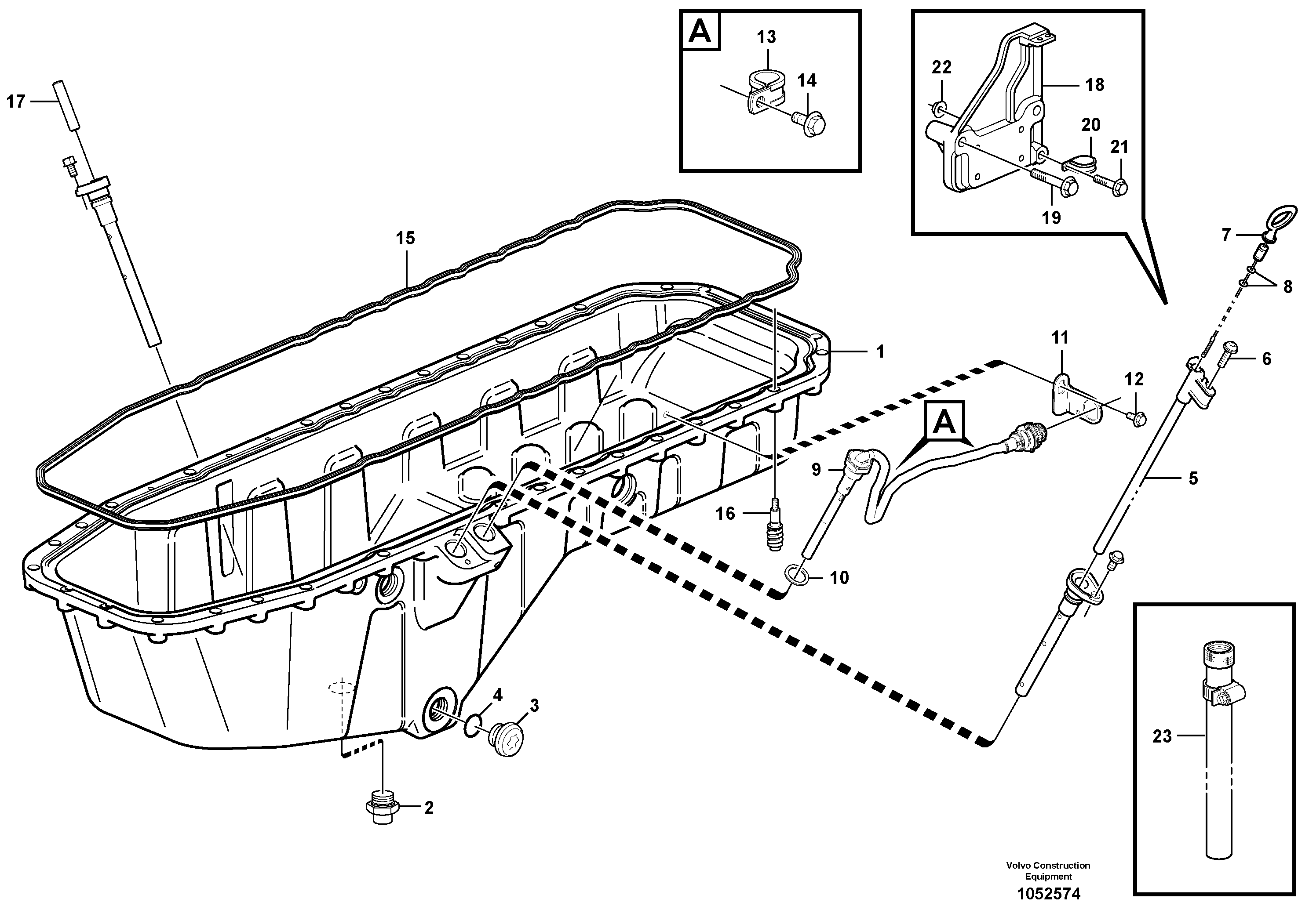
Запчасти Volvo EC460C 59613 Oil sump with mounting parts EC460CHR HIGH REACH DEMOLITION

Схема запчастей Volvo EC460C - 59613 Oil sump with mounting parts EC460CHR HIGH REACH DEMOLITION
FIT
1:1
100%

Артикул

Название

Примечание

Количество

10

VOE 949329

Прокладка

1шт.

10

VOE 949329

Прокладка

1шт.

11

VOE 3988328

Кронштейн

1шт.

12

VOE 947107

Flange screw

1шт.

12

VOE 947107

Flange screw

1шт.

13

VOE 949746

Зажим

1шт.

13

VOE 949746

Зажим

1шт.

14

VOE 947107

Flange screw

1шт.

14

VOE 947107

Flange screw

1шт.

15

VOE 20532272

Прокладка стекла

1шт.

16

VOE 20739547

Flange screw

1шт.

17

VOE 20533484

Пробка (заглушка)

1шт.

18

VOE 11423008

Кронштейн

1шт.

19

VOE 13965187

Screw

1шт.

19

VOE 13965187

Болт

1шт.

2

VOE 15128018

Клапан

1шт.

20

VOE 13949746

Зажим

1шт.

20

VOE 13949746

Зажим

1шт.

21

VOE 945444

Flange screw

1шт.

21

VOE 945444

Flange screw

1шт.

22

VOE 948645

Flange lock nut

1шт.

22

VOE 948645

Flange lock nut

1шт.

23

VOE 11127320

Шланг

1шт.

23

VOE 11127320

Шланг

1шт.

3

VOE 11127354

Пробка магнитная

1шт.

3

VOE 11127354

Пробка (заглушка)

1шт.

4

VOE 13948610

Кольцо уплотнительное (О-кольцо)

1шт.

4

VOE 13948610

Кольцо уплотнительное (О-кольцо)

1шт.

5

VOE 11423484

Oil dipstick

1шт.

6

VOE 975371

Болт

1шт.

6

VOE 975371

Винт шестигранник (торцевой ключ)

1шт.

7

VOE 11423481

Oil dipstick

1шт.

8

VOE 949187

Кольцо уплотнительное (О-кольцо)

1шт.

8

VOE 949187

Кольцо уплотнительное (О-кольцо)

1шт.

9

VOE 11423761

Oil level sensor

1шт.

Выбрано товаров: 35