Запчасти Volvo EC650 35734 Установка двигателя EC650 ?KERMAN ?KERMAN EC650 SER NO - 538

Схема запчастей Volvo EC650 - 35734 Установка двигателя EC650 ?KERMAN ?KERMAN EC650 SER NO - 538
FIT
1:1
100%

Артикул

Название

Примечание

Количество

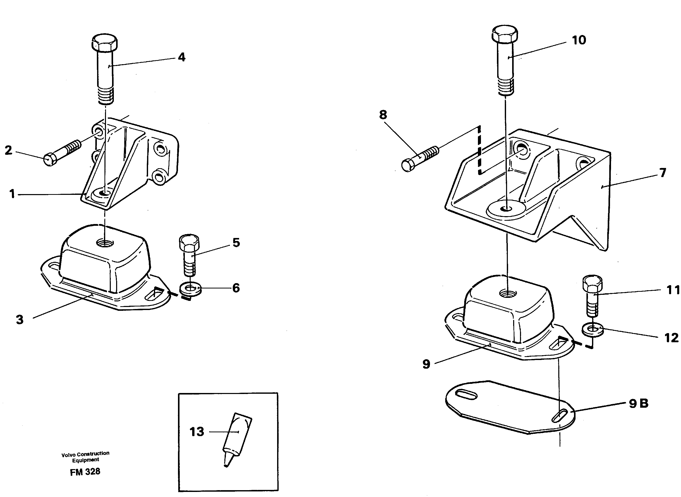
1

VOE 14054866

Engine Mounting

LH

1шт.

1

VOE 14054866

Установка двигателя

LH

1шт.

10

VOE 955388

Винт шестигранник

1шт.

10

VOE 955388

Винт шестигранник

1шт.

11

VOE 955363

Винт шестигранник

1шт.

11

VOE 955363

Винт шестигранник

1шт.

12

VOE 14266321

Шайба

1шт.

13

VOE 14024293

Locking Fluid

1шт.

13

VOE 14024293

Locking Fluid

1шт.

2

VOE 955581

Винт шестигранник

1шт.

2

VOE 955581

Винт шестигранник

1шт.

3

VOE 14216299

Rubber Damper

1шт.

3

VOE 14216299

Rubber Damper

1шт.

4

VOE 955388

Винт шестигранник

1шт.

4

VOE 955388

Винт шестигранник

1шт.

5

VOE 955363

Винт шестигранник

1шт.

5

VOE 955363

Винт шестигранник

1шт.

6

VOE 14266321

Шайба

1шт.

7

VOE 14262706

Установка двигателя

RH

1шт.

8

VOE 13965193

Болт

1шт.

8

VOE 13965193

Flange screw

1шт.

9

VOE 14213835

Rubber Damper

1шт.

9B

VOE 14266331

Прокладка

1шт.

9B

VOE 14266331

Прокладка

1шт.

Выбрано товаров: 0