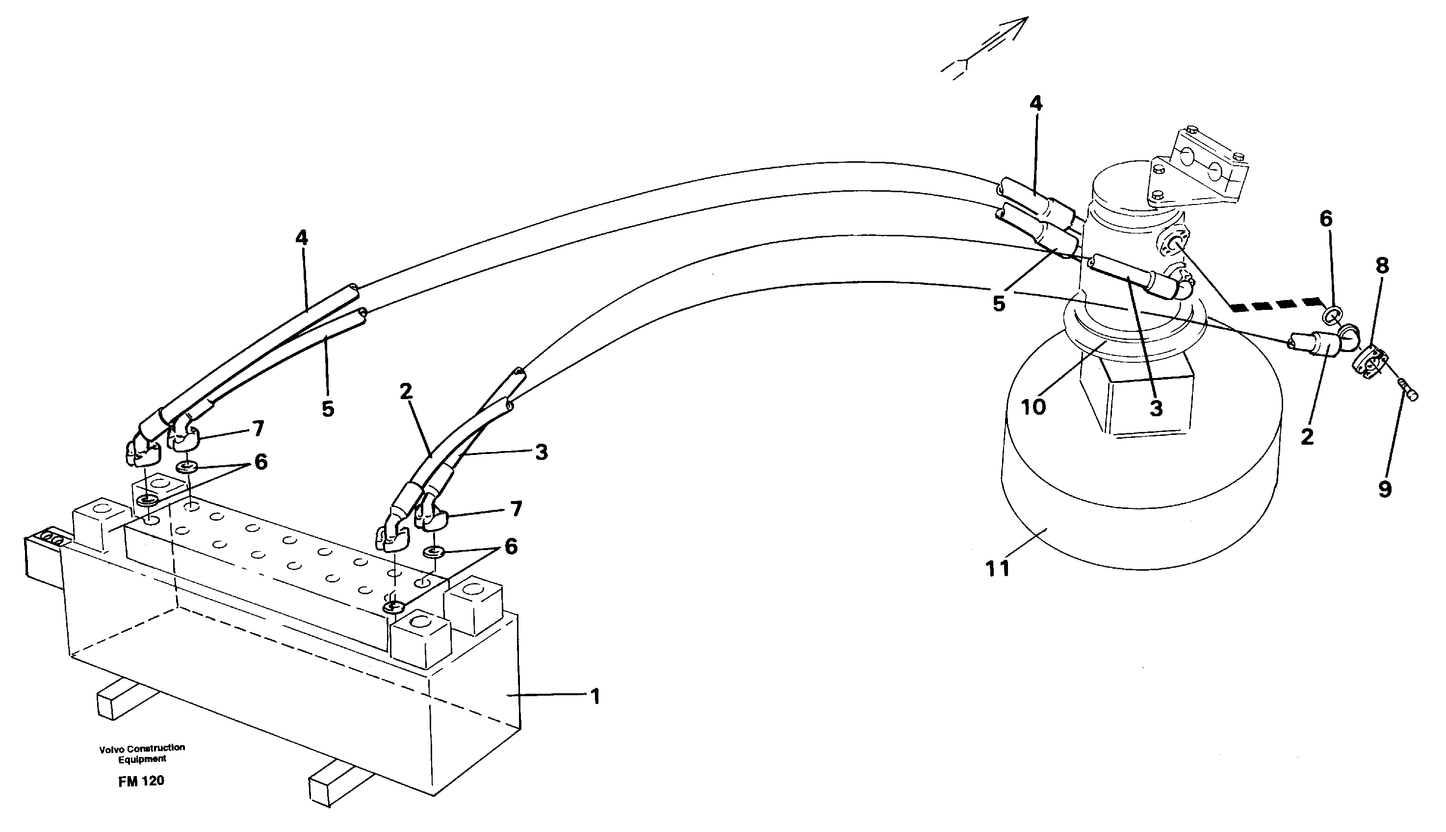
Запчасти Volvo EC650 29316 Hydraulic system, travel EC650 ?KERMAN ?KERMAN EC650 SER NO - 538

Схема запчастей Volvo EC650 - 29316 Hydraulic system, travel EC650 ?KERMAN ?KERMAN EC650 SER NO - 538
FIT
1:1
100%

Артикул

Название

Примечание

Количество

2

VOE 14055002

Hydraulic Hose

1шт.

3

VOE 14055003

Hydraulic Hose

1шт.

4

VOE 14055004

Hydraulic Hose

1шт.

5

VOE 14055005

Hydraulic Hose

1шт.

6

VOE 14215715

Кольцо уплотнительное

1шт.

6

VOE 14215715

Кольцо уплотнительное

1шт.

8

VOE 14048189

Flange Half

1шт.

8

VOE 14048189

Flange Half

1шт.

9

VOE 13970972

Винт шестигранник

1шт.

9

VOE 13970972

Винт шестигранник

1шт.

Выбрано товаров: 0