Запчасти Volvo EC650 26827 Four-way valve EC650 ?KERMAN ?KERMAN EC650 SER NO - 538

Схема запчастей Volvo EC650 - 26827 Four-way valve EC650 ?KERMAN ?KERMAN EC650 SER NO - 538
FIT
1:1
100%

Артикул

Название

Примечание

Количество

VOE 14263733

Directional Valve

1шт.

VOE 14024293

Locking Fluid

250ML

1шт.

VOE 14024293

Locking Fluid

250ML

1шт.

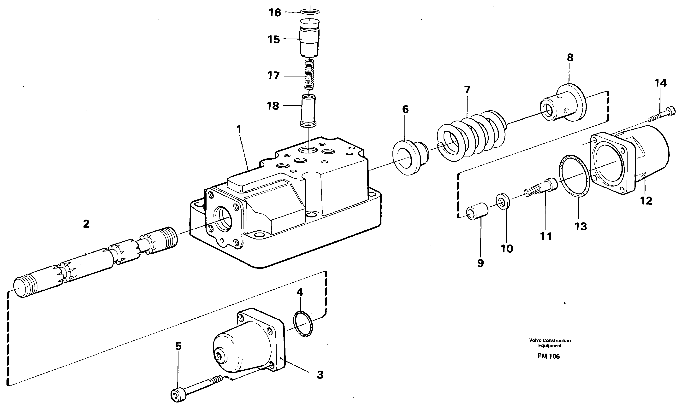
1

VOE 14234787

Valve Housing

1шт.

1

VOE 14234787

Valve Housing

1шт.

10

VOE 14044702

Шайба

1шт.

10

VOE 14044702

Шайба

1шт.

11

VOE 14023268

Болт

1шт.

11

VOE 14023268

Болт

1шт.

12

VOE 14041088

Cap

1шт.

12

VOE 14041088

Крышка

1шт.

13

VOE 14012308

Кольцо уплотнительное (О-кольцо)

1шт.

13

VOE 14012308

Кольцо уплотнительное (О-кольцо)

1шт.

14

VOE 14023264

Болт

1шт.

14

VOE 14023264

Болт

1шт.

15

VOE 14040428

Guide

1шт.

15

VOE 14040428

Guide

1шт.

16

VOE 14211759

Кольцо уплотнительное (О-кольцо)

1шт.

16

VOE 14211759

Кольцо уплотнительное (О-кольцо)

1шт.

17

VOE 14040429

Compression Spring

1шт.

17

VOE 14040429

Compression Spring

1шт.

18

VOE 14040430

Поршень

1шт.

18

VOE 14040430

Поршень

1шт.

2

VOE 14263761

Slide

1шт.

3

VOE 14041087

Крышка

1шт.

3

VOE 14041087

Cap

1шт.

4

VOE 13949238

Кольцо уплотнительное (О-кольцо)

1шт.

4

VOE 13949238

Кольцо уплотнительное (О-кольцо)

1шт.

5

VOE 14014659

Болт

1шт.

5

VOE 14014659

Болт

1шт.

6

VOE 14236709

Spring Disc

1шт.

6

VOE 14236709

Spring Disc

1шт.

7

VOE 14041583

Compression Spring

1шт.

7

VOE 14041583

Compression Spring

1шт.

8

VOE 14040408

Spring Disc

1шт.

8

VOE 14040408

Spring Disc

1шт.

9

VOE 14040406

Вставка

1шт.

9

VOE 14040406

Вставка

1шт.

Выбрано товаров: 0