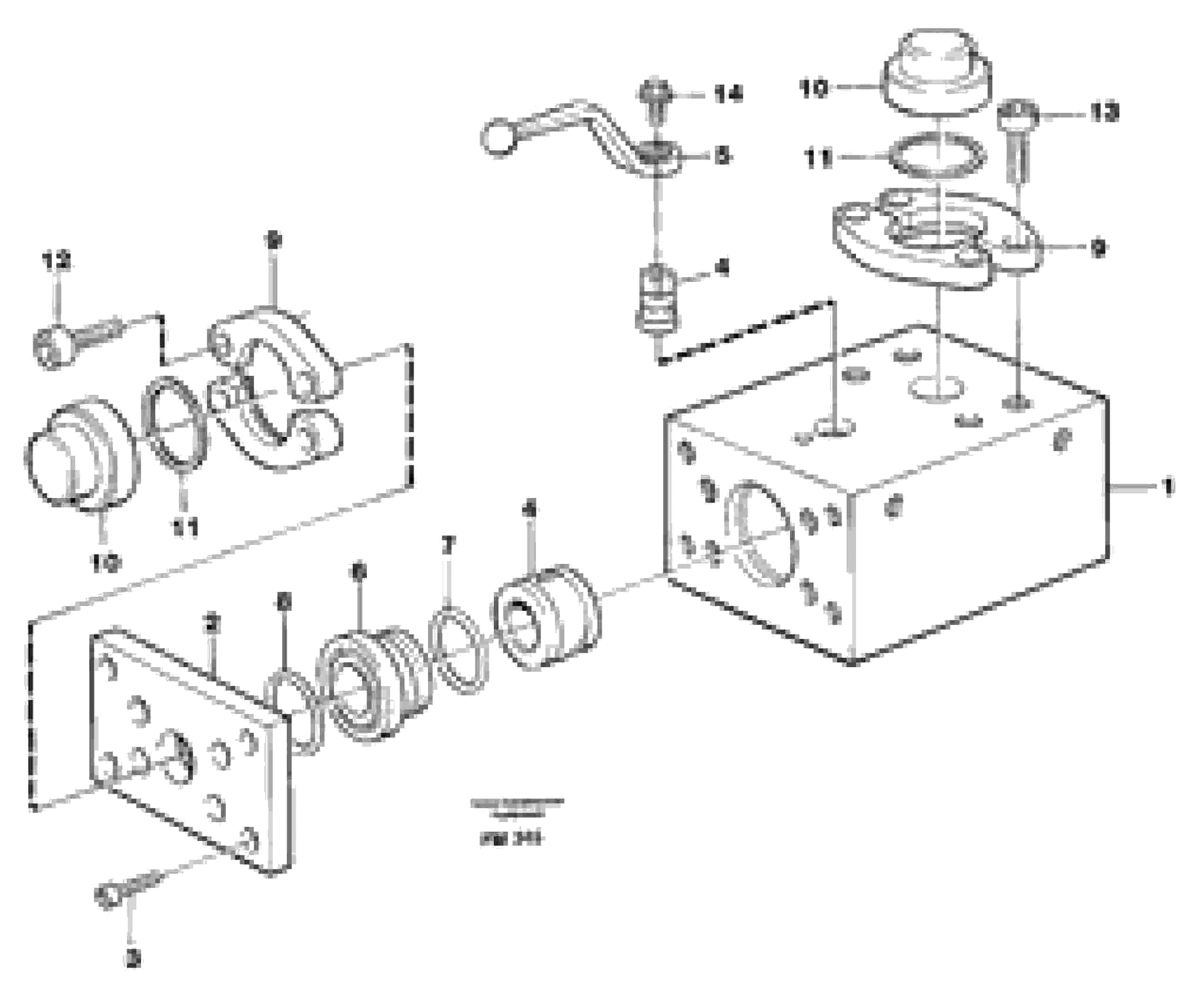
Запчасти Volvo EC650 27487 Ball valve for hammer equipment EC650 ?KERMAN ?KERMAN EC650 SER NO - 538

Схема запчастей Volvo EC650 - 27487 Ball valve for hammer equipment EC650 ?KERMAN ?KERMAN EC650 SER NO - 538
FIT
1:1
100%

Артикул

Название

Примечание

Количество

VOE 14340152

Клапан

1шт.

1

VOE 14340149

Valve housing

1шт.

10

VOE 14053003

Пробка (заглушка)

1шт.

10

VOE 14053003

Пробка (заглушка)

1шт.

11

VOE 14215716

Кольцо уплотнительное

1шт.

11

VOE 14215716

Кольцо уплотнительное

1шт.

12

VOE 13949497

Болт

1шт.

12

VOE 13949497

Болт

1шт.

13

VOE 14263683

Allen Hd Screw

1шт.

14

VOE 14340988

Болт

1шт.

2

VOE 14340163

Крышка

1шт.

3

VOE 959236

Allen Hd Screw

1шт.

4

VOE 14340990

Ball valve

1шт.

5

VOE 11705487

11705487

1шт.

6

VOE 14340150

Втулка (распорная)

1шт.

7

VOE 13960176

Кольцо уплотнительное (О-кольцо)

1шт.

8

VOE 949659

Кольцо уплотнительное (О-кольцо)

1шт.

8

VOE 949659

Кольцо уплотнительное (О-кольцо)

1шт.

9

VOE 14236931

Flange half

1шт.

9

VOE 14236931

Flange half

1шт.

Выбрано товаров: 0