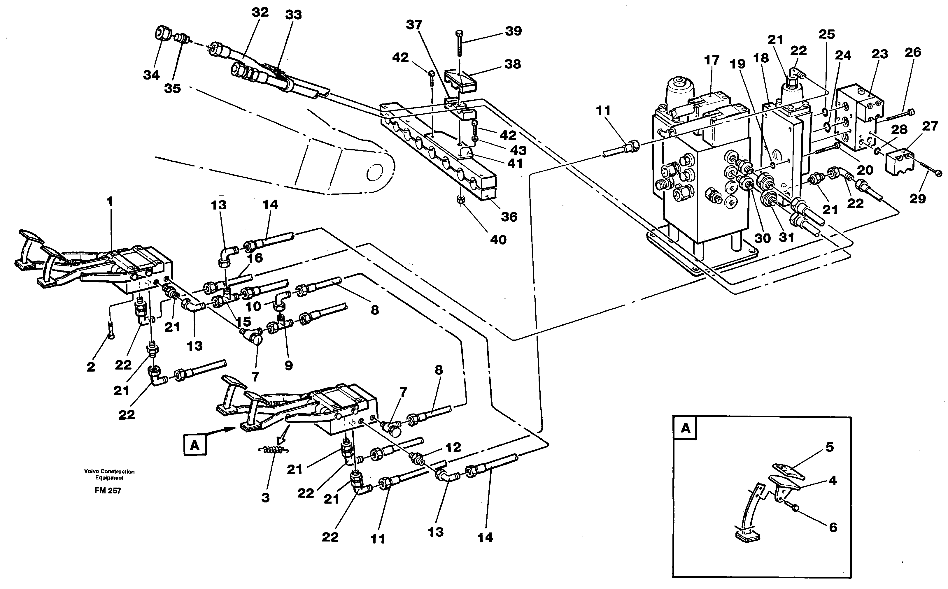
Запчасти Volvo EC650 52617 Pedal operated slope bucket hydraulics in base machine EC650 ?KERMAN ?KERMAN EC650 SER NO - 538

Схема запчастей Volvo EC650 - 52617 Pedal operated slope bucket hydraulics in base machine EC650 ?KERMAN ?KERMAN EC650 SER NO - 538
FIT
1:1
100%

Артикул

Название

Примечание

Количество

VOE 14213151

Marking strip

1шт.

VOE 14213152

Marking strip

1шт.

VOE 14213153

Marking strip

1шт.

VOE 14213154

Marking strip

1шт.

10

VOE 14012391

14012391

1шт.

11

VOE 14260240

Hydraulic hose

MARKED 54

1шт.

12

VOE 957030

Nipple

1шт.

12

VOE 957030

Nipple

1шт.

13

VOE 14012393

14012393

1шт.

14

VOE 14265073

Hydraulic hose

MARKED 52

1шт.

15

VOE 14052740

14052740

1шт.

16

VOE 14250306

Hydraulic hose

MARKED 53

1шт.

16

VOE 14250306

Hydraulic hose

MARKED 53

1шт.

19

VOE 13948700

Кольцо уплотнительное (О-кольцо)

1шт.

19

VOE 13948700

Кольцо уплотнительное (О-кольцо)

1шт.

2

VOE 959208

Allen Hd Screw

1шт.

20

VOE 14023403

Болт

1шт.

21

VOE 14023407

Пробка (заглушка)

1шт.

21

VOE 14023407

Пробка (заглушка)

1шт.

22

VOE 14012391

14012391

1шт.

24

VOE 949658

Кольцо уплотнительное (О-кольцо)

1шт.

24

VOE 949658

Кольцо уплотнительное (О-кольцо)

1шт.

25

VOE 949659

Кольцо уплотнительное (О-кольцо)

1шт.

25

VOE 949659

Кольцо уплотнительное (О-кольцо)

1шт.

26

VOE 959249

Allen Hd Screw

1шт.

28

VOE 14021159

Кольцо уплотнительное (О-кольцо)

1шт.

28

VOE 14021159

Кольцо уплотнительное (О-кольцо)

1шт.

29

VOE 13941747

Болт

1шт.

29

VOE 13941747

Болт

1шт.

3

VOE 14243542

Пружина натяжная

1шт.

30

VOE 14263574

Nipple

1шт.

31

VOE 14211062

14211062

1шт.

32

VOE 14248220

Hydraulic hose

1шт.

33

VOE 4881440

Cable tie

1шт.

33

VOE 4881440

Cable tie

1шт.

34

VOE 14012454

Гайка

1шт.

34

VOE 14012454

Гайка

1шт.

35

VOE 14211303

Пробка (заглушка)

1шт.

37

VOE 14263613

Зажим

1шт.

38

VOE 14263612

Top plate

1шт.

39

VOE 14023314

Болт

1шт.

4

VOE 14243548

Pedal plate

1шт.

40

VOE 963106

Lock nut

1шт.

40

VOE 963106

Lock nut

1шт.

41

VOE 14265877

14265877

1шт.

42

VOE 970961

Винт шестигранник

1шт.

42

VOE 970961

Винт шестигранник

1шт.

43

VOE 976945

Шайба

1шт.

43

VOE 976945

Шайба

1шт.

5

VOE 14025147

Pedal Rubber

1шт.

6

VOE 14213032

Болт

1шт.

6

VOE 14213032

Болт

1шт.

7

VOE 14012474

Banjo fitting

1шт.

8

VOE 14263249

Hydraulic hose

MARKED 51

1шт.

9

VOE 14012383

14012383

1шт.

Выбрано товаров: 0