Запчасти Volvo EC650 95077 Automatic lubrication, material handling equ EC650 ?KERMAN ?KERMAN EC650 SER NO - 538

Схема запчастей Volvo EC650 - 95077 Automatic lubrication, material handling equ EC650 ?KERMAN ?KERMAN EC650 SER NO - 538
FIT
1:1
100%

Артикул

Название

Примечание

Количество

VOE 14214037

Polyamid Hose

SER NO 519-, L = 4055MM

1шт.

VOE 14265783

Адаптер

1шт.

VOE 14214037

Polyamid Hose

SER NO 519-, L = 4055MM

1шт.

VOE 14214037

Polyamid Hose

L = 8000MM

1шт.

VOE 14214037

Polyamid Hose

L = 8000MM

1шт.

VOE 980781

Ferrule

1шт.

VOE 14245246

Hydraulic hose

SER NO 519-, L = 2600MM

1шт.

VOE 14245246

Hydraulic hose

SER NO 519-, L = 2600MM

1шт.

VOE 14214037

Polyamid Hose

SER NO 519-, L = 4055MM

1шт.

VOE 956983

Фиттинг

1шт.

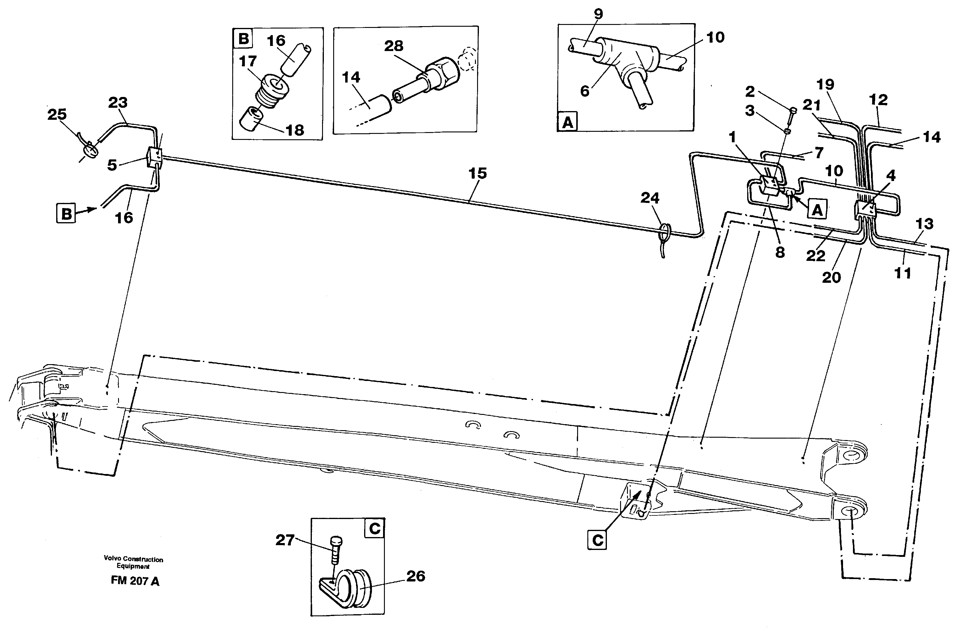
1

VOE 14251097

Main Dist. Block

1шт.

10

VOE 14214036

High pressure hose

L = 1500MM

1шт.

10

VOE 14214036

High pressure hose

L = 1500MM

1шт.

11

VOE 14214036

High pressure hose

L = 2900MM

1шт.

11

VOE 14214036

High pressure hose

L = 2900MM

1шт.

12

VOE 14214036

High pressure hose

L = 2400MM

1шт.

12

VOE 14214036

High pressure hose

L = 2400MM

1шт.

13

VOE 14214036

High pressure hose

L = 3300MM

1шт.

13

VOE 14214036

High pressure hose

L = 3300MM

1шт.

14

VOE 14214036

High pressure hose

L = 3000MM

1шт.

14

VOE 14214036

High pressure hose

L = 3000MM

1шт.

15

VOE 14214036

High pressure hose

L = 6000MM

1шт.

15

VOE 14214036

High pressure hose

L = 6000MM

1шт.

16

VOE 14214036

High pressure hose

1шт.

16

VOE 14214036

High pressure hose

1шт.

17

VOE 14214038

Sleeve

1шт.

17

VOE 14214038

Втулка (распорная)

1шт.

18

VOE 14214039

Шпилька

1шт.

18

VOE 14214039

Socket

1шт.

19

VOE 14214037

Polyamid Hose

1шт.

2

VOE 14211418

Болт

1шт.

2

VOE 14211418

Болт

1шт.

20

VOE 14214037

Polyamid Hose

1шт.

21

VOE 14214037

Polyamid Hose

L = 8000MM

1шт.

22

VOE 14214037

Polyamid Hose

1шт.

23

VOE 14214037

Polyamid Hose

SER NO -518

1шт.

24

VOE 14016673

Strip clamp

1шт.

24

VOE 14016673

Strip clamp

1шт.

25

VOE 4881440

Cable tie

1шт.

25

VOE 4881440

Cable tie

1шт.

26

VOE 952624

Зажим

1шт.

26

VOE 952624

Зажим

1шт.

27

VOE 14213038

Болт

1шт.

28

VOE 14267775

Адаптер

1шт.

3

VOE 14016486

Шайба

1шт.

3

VOE 14016486

Шайба

1шт.

4

VOE 14251100

Assembly Drawing

1шт.

5

VOE 14266476

Distribution block

1шт.

6

VOE 14214405

Tee

1шт.

7

VOE 14214036

High pressure hose

1шт.

7

VOE 14214036

High pressure hose

1шт.

8

VOE 14214036

High pressure hose

L = 500MM

1шт.

8

VOE 14214036

High pressure hose

L = 500MM

1шт.

9

VOE 14214036

High pressure hose

L = 200MM

1шт.

9

VOE 14214036

High pressure hose

L = 200MM

1шт.

Выбрано товаров: 0