Запчасти Volvo EC650 30067 Connection board EC650 SER NO 539-618

Схема запчастей Volvo EC650 - 30067 Connection board EC650 SER NO 539-618
FIT
1:1
100%

Артикул

Название

Примечание

Количество

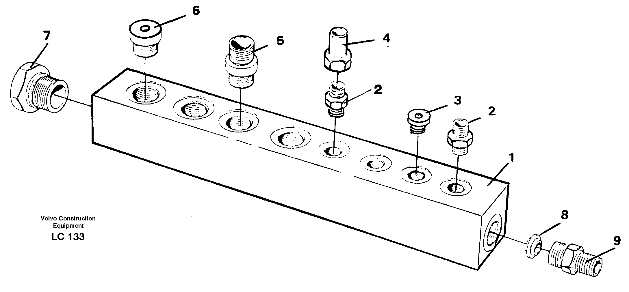
VOE 14265265

Terminal block

1шт.

1

VOE 14253004

Connection block

1шт.

2

VOE 14023407

Пробка (заглушка)

1шт.

2

VOE 14023407

Пробка (заглушка)

1шт.

3

VOE 14023407

Пробка (заглушка)

1шт.

3

VOE 14023407

Пробка (заглушка)

1шт.

4

VOE 14052565

Tube Assembly

1шт.

5

VOE 14012423

14012423

1шт.

6

VOE 14023409

Пробка (заглушка)

1шт.

6

VOE 14023409

Пробка (заглушка)

1шт.

7

VOE 14023410

Tube Plug

1шт.

8

VOE 14013069

Sealing washer

1шт.

8

VOE 14013069

Прокладка

1шт.

9

VOE 14046125

Nipple

1шт.

Выбрано товаров: 0