Запчасти Volvo EC650 9041 Four-way valve EC650 SER NO 539-618

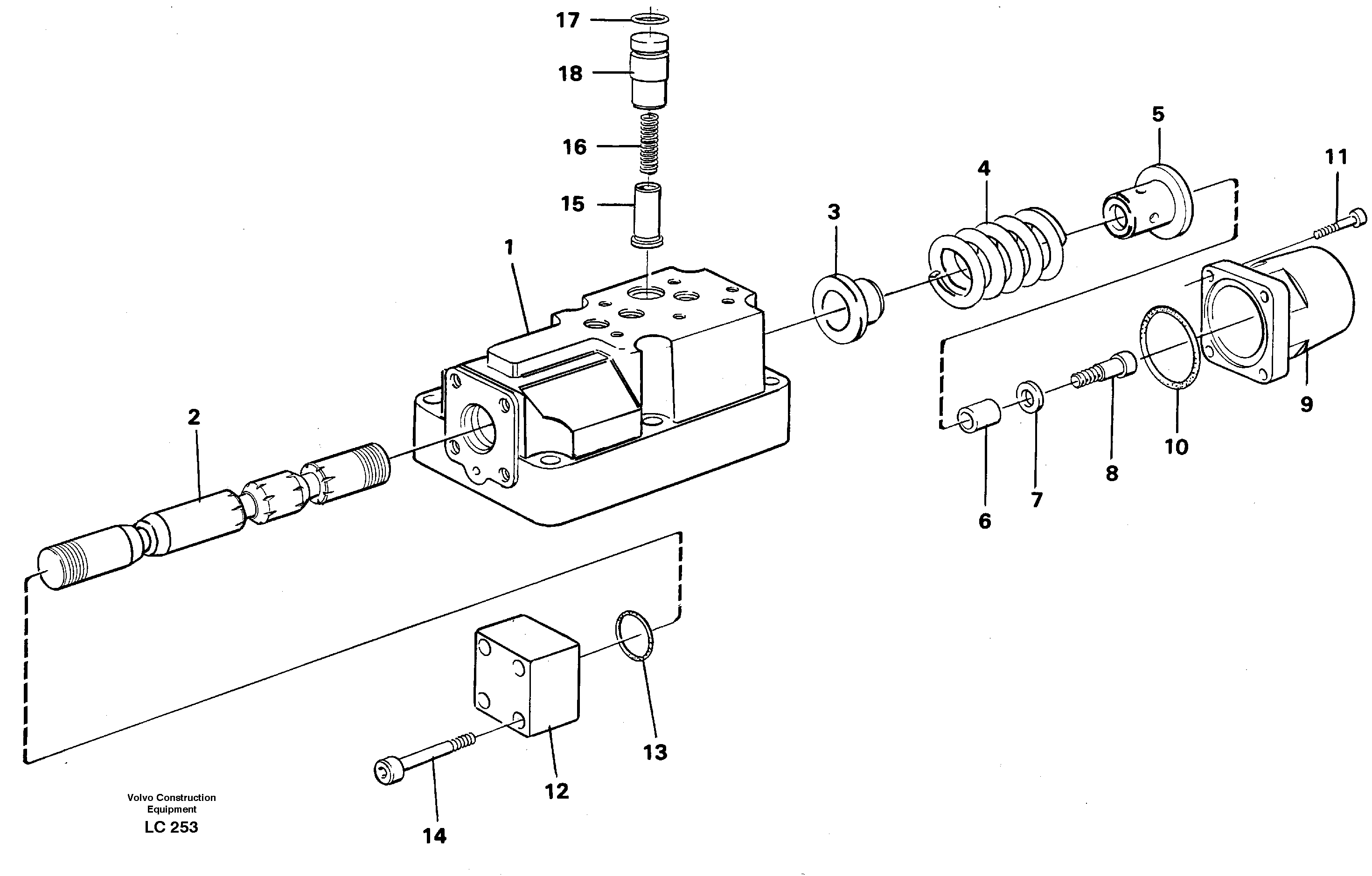
Схема запчастей Volvo EC650 - 9041 Four-way valve EC650 SER NO 539-618
FIT
1:1
100%

Артикул

Название

Примечание

Количество

VOE 14249351

Directional Valve

1шт.

1

VOE 14234787

Valve Housing

1шт.

1

VOE 14234787

Valve Housing

1шт.

10

VOE 14012308

Кольцо уплотнительное (О-кольцо)

1шт.

10

VOE 14012308

Кольцо уплотнительное (О-кольцо)

1шт.

11

VOE 14023264

Болт

1шт.

11

VOE 14023264

Болт

1шт.

12

VOE 14246561

Cap

1шт.

12

VOE 14246561

Крышка

1шт.

13

VOE 13949238

Кольцо уплотнительное (О-кольцо)

1шт.

13

VOE 13949238

Кольцо уплотнительное (О-кольцо)

1шт.

14

VOE 14023259

Allen Hd Screw

1шт.

14

VOE 14023259

Болт

1шт.

15

VOE 14040430

Поршень

1шт.

15

VOE 14040430

Поршень

1шт.

16

VOE 14040429

Compression Spring

1шт.

16

VOE 14040429

Compression Spring

1шт.

17

VOE 14211759

Кольцо уплотнительное (О-кольцо)

1шт.

17

VOE 14211759

Кольцо уплотнительное (О-кольцо)

1шт.

18

VOE 14040428

Guide

1шт.

18

VOE 14040428

Guide

1шт.

2

VOE 14236649

Slide

1шт.

3

VOE 14236709

Spring Disc

1шт.

3

VOE 14236709

Spring Disc

1шт.

4

VOE 14041583

Compression Spring

1шт.

4

VOE 14041583

Compression Spring

1шт.

5

VOE 14040408

Spring Disc

1шт.

5

VOE 14040408

Spring Disc

1шт.

6

VOE 14040406

Вставка

1шт.

6

VOE 14040406

Вставка

1шт.

7

VOE 14044702

Шайба

1шт.

7

VOE 14044702

Шайба

1шт.

8

VOE 14023268

Болт

1шт.

8

VOE 14023268

Болт

1шт.

9

VOE 14041088

Cap

1шт.

9

VOE 14041088

Крышка

1шт.

Выбрано товаров: 0