Запчасти Volvo EC700B 52656 Система масляной смазки EC700B

Схема запчастей Volvo EC700B - 52656 Система масляной смазки EC700B
FIT
1:1
100%

Артикул

Название

Примечание

Количество

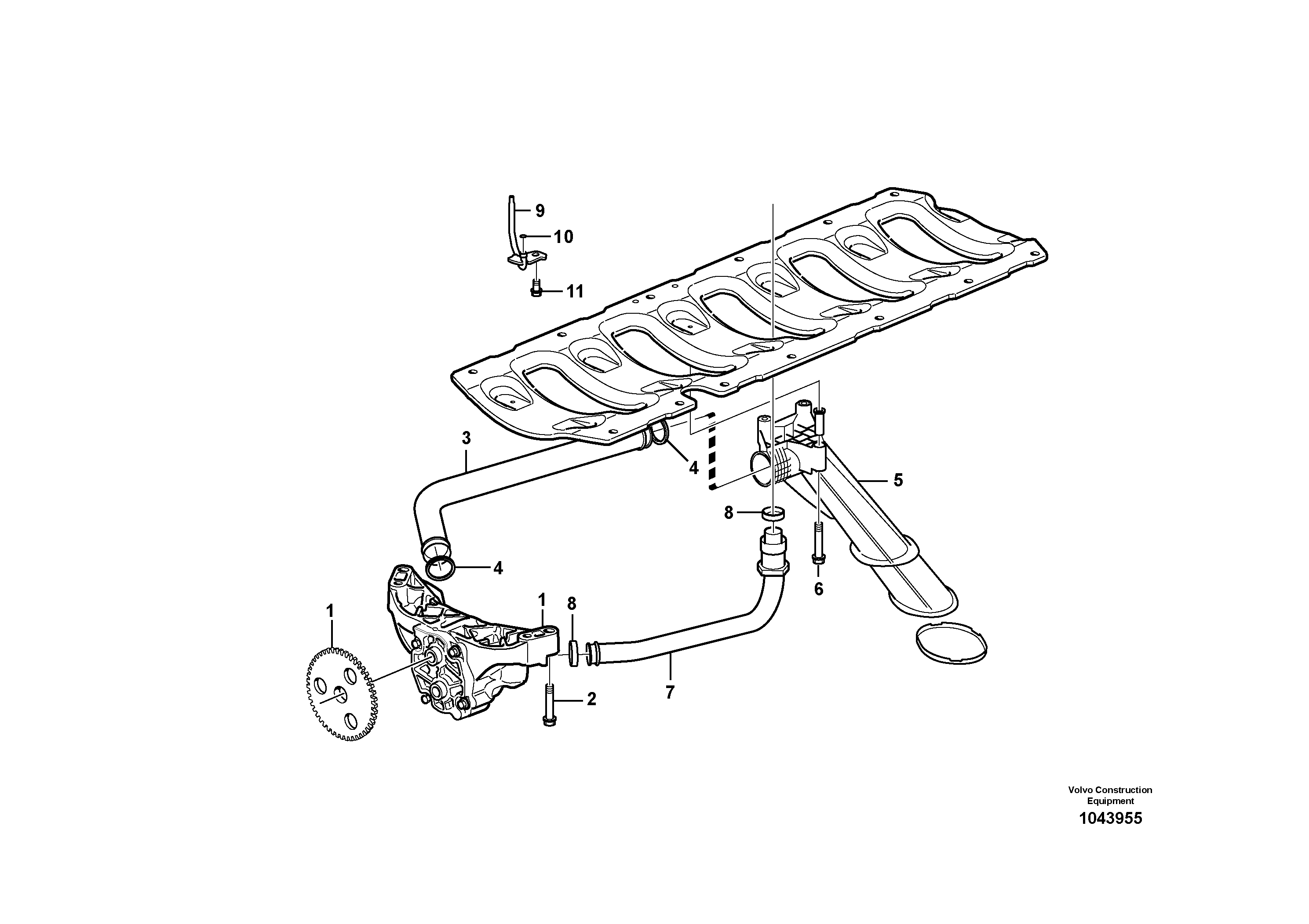
VOE 21344756

Болт

ENG 41489 -

1шт.

10

VOE 955982

Кольцо уплотнительное (О-кольцо)

1шт.

10

VOE 955982

Кольцо уплотнительное (О-кольцо)

1шт.

11

VOE 13966378

Flange screw

1шт.

11

VOE 13966378

Flange screw

1шт.

2

VOE 1547887

Болт

ENG - 41488

1шт.

2

VOE 1547887

Болт

ENG - 41488

1шт.

3

VOE 20553751

Suction pipe

1шт.

4

VOE 421629

Кольцо уплотнительное

1шт.

4

VOE 421629

Кольцо уплотнительное

1шт.

5

VOE 20547257

Oil Strainer

1шт.

6

VOE 977275

Flange screw

1шт.

7

VOE 20708889

Pressure Pipe

1шт.

8

VOE 1543578

Кольцо уплотнительное

1шт.

8

VOE 1543578

Кольцо уплотнительное

1шт.

9

VOE 20521450

Pstn Cool Jet

1шт.

Выбрано товаров: 0