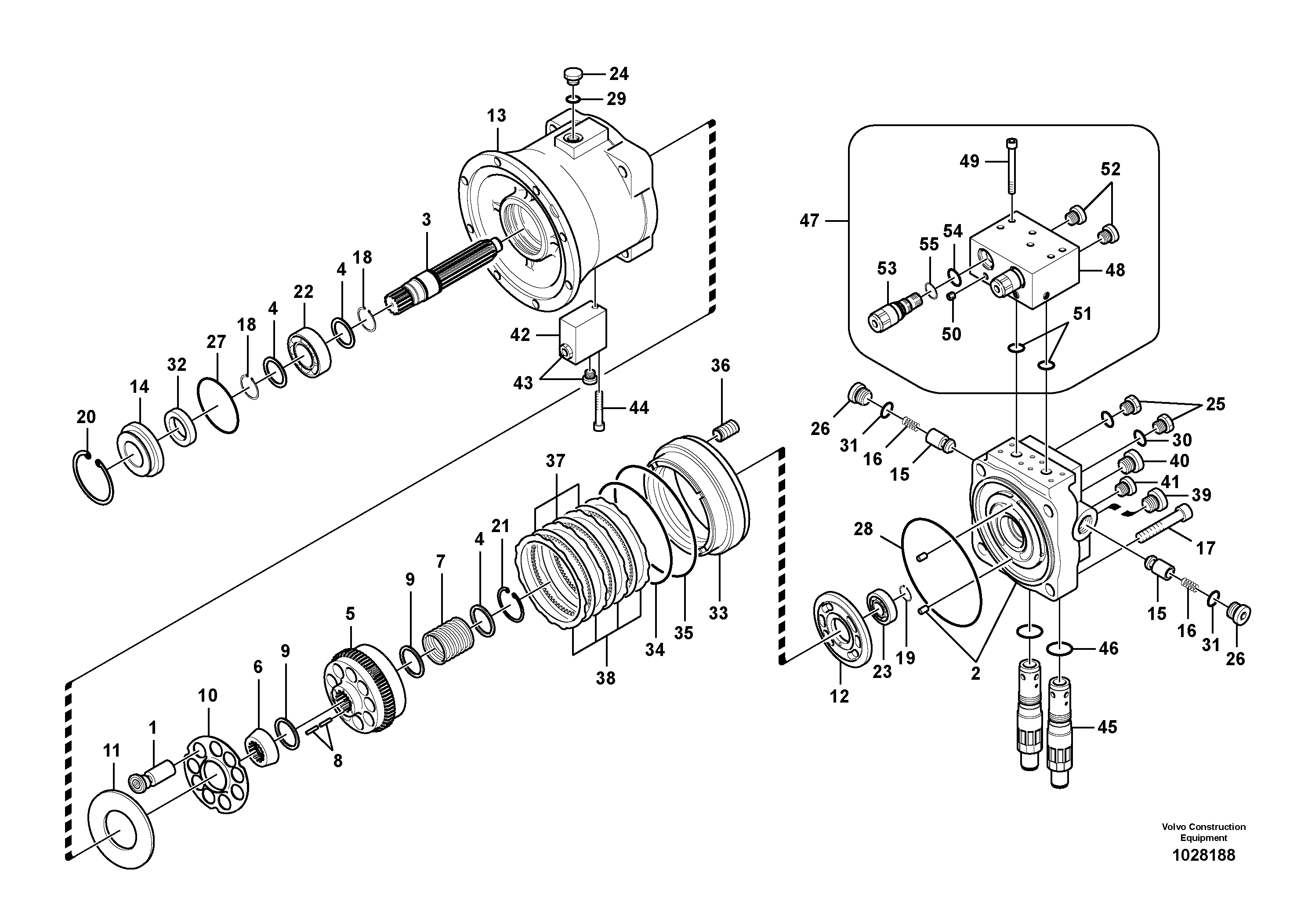
Запчасти Volvo ECR145C 97597 Поворотный редуктор (Гидромотор поворота платформы) ECR145C

Схема запчастей Volvo ECR145C - 97597 Поворотный редуктор (Гидромотор поворота платформы) ECR145C
FIT
1:1
100%

Артикул

Название

Примечание

Количество

VOE 14549861

Гидромотор

1шт.

1

VOE 14501616

Поршень

1шт.

10

SA 8230-13920

Пластина

1шт.

100

SA 8230-14370

Sealing

1шт.

11

SA 8230-14080

Пластина

1шт.

12

SA 8230-13930

Valve plate

1шт.

13

VOE 14568143

Casing

1шт.

14

SA 8230-14090

Крышка

1шт.

15

SA 8230-14170

Plunger

1шт.

16

SA 8230-14180

Пружина

1шт.

17

SA 8240-03530

Болт

1шт.

18

VOE 914465

Retaining ring

1шт.

18

VOE 914465

Кольцо стопорное

1шт.

19

SA 8230-26960

Кольцо

1шт.

2

VOE 14568141

Клапан

1шт.

20

VOE 914540

Retaining ring

1шт.

20

VOE 914540

Кольцо стопорное

1шт.

21

VOE 14505028

Кольцо

1шт.

22

SA 8230-26570

Подшипник

1шт.

23

VOE 14511641

Подшипник

1шт.

24

SA 8230-25640

Пробка (заглушка)

1шт.

25

VOE 14550218

Пробка (заглушка)

1шт.

26

SA 8230-25660

Пробка (заглушка)

1шт.

27

VOE 990592

Кольцо уплотнительное (О-кольцо)

1шт.

27

VOE 990592

Кольцо уплотнительное (О-кольцо)

1шт.

28

SA 8240-03361

Кольцо уплотнительное (О-кольцо)

1шт.

29

VOE 983502

Кольцо уплотнительное (О-кольцо)

1шт.

29

VOE 983502

Кольцо уплотнительное (О-кольцо)

1шт.

3

SA 8230-13670

Вал

1шт.

30

SA 8230-26191

Кольцо уплотнительное (О-кольцо)

1шт.

31

VOE 983509

Кольцо уплотнительное (О-кольцо)

1шт.

31

VOE 983509

Кольцо уплотнительное (О-кольцо)

1шт.

32

SA 8230-26860

Сальник

1шт.

33

SA 8230-13840

Поршень

1шт.

34

SA 8230-25511

Кольцо уплотнительное (О-кольцо)

1шт.

35

SA 8230-25521

Кольцо уплотнительное (О-кольцо)

1шт.

36

SA 8230-14140

Пружина

1шт.

37

SA 8230-13780

Friction plate

1шт.

38

SA 8230-13730

Separating plate

1шт.

39

VOE 14612051

Пробка (заглушка)

1шт.

4

SA 8230-14110

Вставка

1шт.

40

VOE 14550665

Пробка (заглушка)

1шт.

41

VOE 14529759

Пробка (заглушка)

1шт.

42

VOE 14550664

Клапан

1шт.

43

VOE 14550663

Пробка (заглушка)

1шт.

44

VOE 14511643

Болт

1шт.

45

SA 8230-27421

Клапан предохранительный (разгрузочный, сброса давления)

1шт.

46

VOE 990582

Кольцо уплотнительное (О-кольцо)

1шт.

46

VOE 990582

Кольцо уплотнительное (О-кольцо)

1шт.

47

VOE 14568144

Корпус клапана

1шт.

48

VOE 14568145

Casing

1шт.

49

SA 8240-03620

Болт

1шт.

5

SA 8230-13690

цилиндр

1шт.

50

VOE 14560637

Пробка (заглушка)

1шт.

50

VOE 14560637

Пробка (заглушка)

1шт.

51

VOE 14533611

Кольцо уплотнительное (О-кольцо)

1шт.

51

VOE 14533611

Кольцо уплотнительное (О-кольцо)

1шт.

52

VOE 14612051

Пробка (заглушка)

1шт.

53

VOE 14500037

Клапан

1шт.

54

VOE 983509

Кольцо уплотнительное (О-кольцо)

1шт.

54

VOE 983509

Кольцо уплотнительное (О-кольцо)

1шт.

55

SA 9566-10200

Кольцо

1шт.

6

SA 8230-14100

Тарелка клапана

1шт.

7

SA 8230-14130

Пружина

1шт.

8

SA 8230-26340

Щуп

1шт.

9

SA 8230-14120

Вставка

1шт.

Выбрано товаров: 66