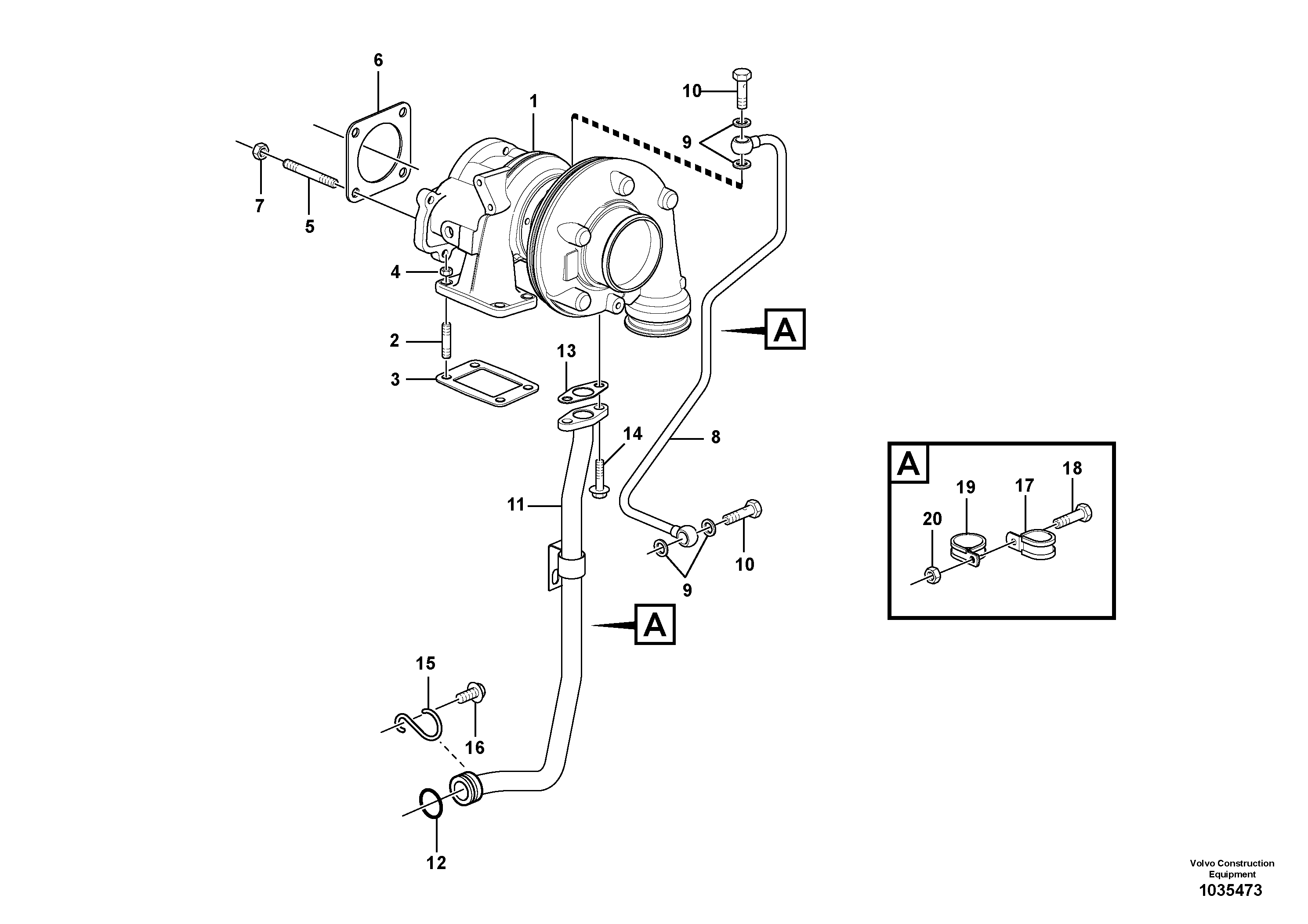
Запчасти Volvo ECR235C 34360 Турбокомпрессор (турбина) с установочными деталями ECR235C

Схема запчастей Volvo ECR235C - 34360 Турбокомпрессор (турбина) с установочными деталями ECR235C
FIT
1:1
100%

Артикул

Название

Примечание

Количество

1

VOE 20873313

Турбокомпрессор (турбина)

1шт.

10

VOE 7025167

Hollow screw

1шт.

10

VOE 7025167

Hollow screw

1шт.

11

VOE 21134532

Return line

1шт.

12

VOE 20405822

Кольцо уплотнительное

1шт.

12

VOE 20405822

Кольцо уплотнительное

1шт.

13

VOE 20405790

Прокладка

1шт.

13

VOE 20405790

Прокладка

1шт.

14

VOE 20405885

Болт

1шт.

14

VOE 20405885

Болт

1шт.

15

VOE 20405789

Тарелка клапана

1шт.

15

VOE 20405789

Тарелка клапана

1шт.

16

VOE 20405792

Болт

1шт.

16

VOE 20405792

Болт

1шт.

17

VOE 20450987

Зажим

1шт.

17

VOE 20450987

Зажим

1шт.

18

VOE 20405885

Болт

1шт.

18

VOE 20405885

Болт

1шт.

19

VOE 993277

Зажим

1шт.

2

VOE 20412314

Шпилька

1шт.

2

VOE 20412314

Шпилька

1шт.

20

VOE 20501349

Hexagon nut

1шт.

20

VOE 20501349

Hexagon nut

1шт.

3

VOE 20559835

Прокладка

1шт.

4

VOE 20412308

Hexagon nut

1шт.

4

VOE 20412308

Hexagon nut

1шт.

5

VOE 20412314

Шпилька

1шт.

5

VOE 20412314

Шпилька

1шт.

6

VOE 21342980

Прокладка

1шт.

7

VOE 20412308

Hexagon nut

1шт.

7

VOE 20412308

Hexagon nut

1шт.

8

VOE 21134371

Oil line

1шт.

9

VOE 13947621

Plane gasket

1шт.

9

VOE 13947621

Plane gasket

1шт.

Выбрано товаров: 34