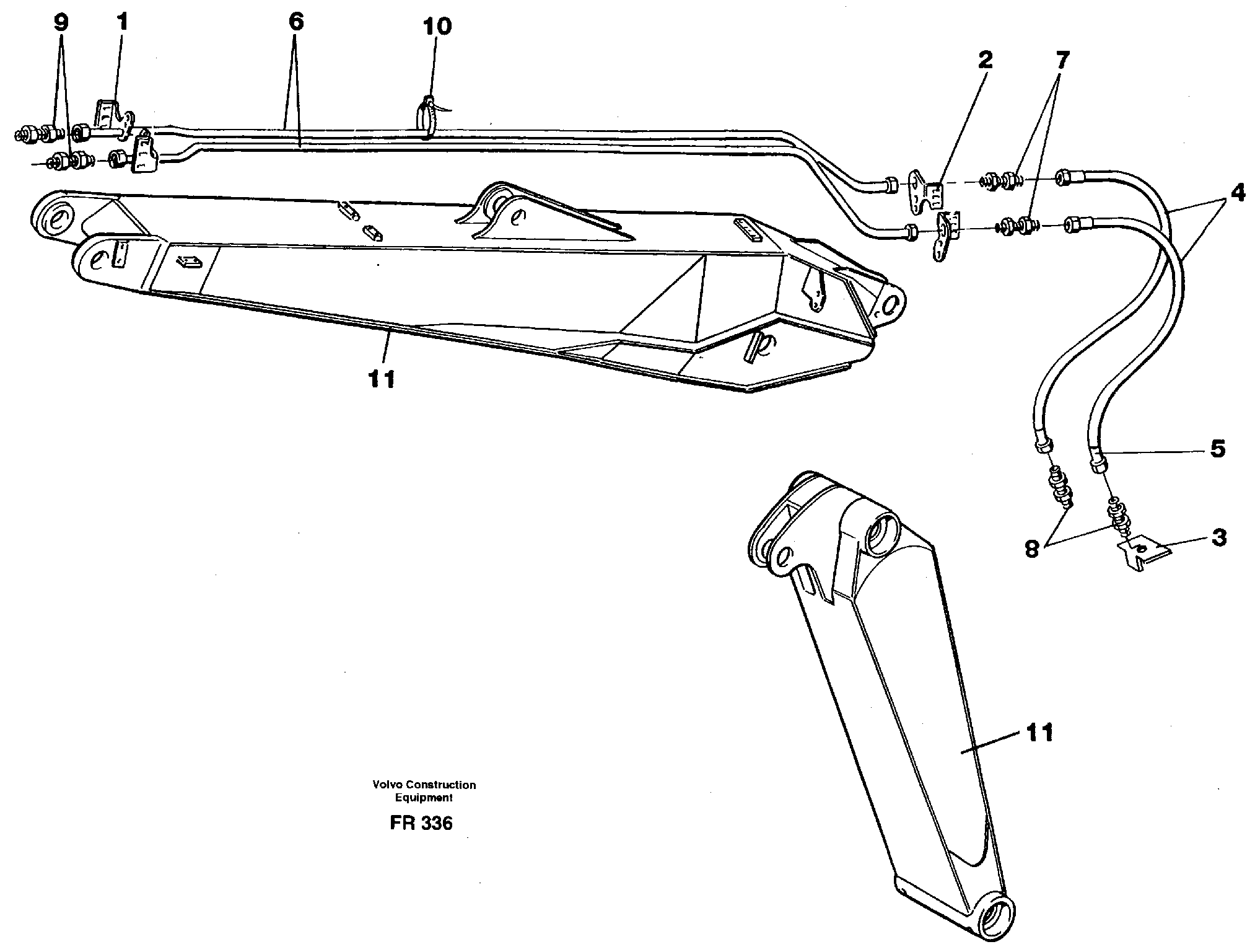
Запчасти Volvo EW130 37656 Grab/clamshell equipment for adjustable boom EW130 ?KERMAN ?KERMAN EW130 SER NO - 447

Схема запчастей Volvo EW130 - 37656 Grab/clamshell equipment for adjustable boom EW130 ?KERMAN ?KERMAN EW130 SER NO - 447
FIT
1:1
100%

Артикул

Название

Примечание

Количество

1

VOE 14252807

Attachment

1шт.

10

VOE 4881440

Strip Clamp

1шт.

10

VOE 4881440

Strip Clamp

1шт.

2

VOE 14251545

Attachment

1шт.

3

VOE 14251545

Attachment

1шт.

4

VOE 14237074

Hydraulic Hose

Marked L

1шт.

4

VOE 14237074

Hydraulic Hose

Marked L

1шт.

5

VOE 14213237

Marking Strip

1шт.

5

VOE 14213237

Marking Strip

1шт.

6

VOE 14245392

Hydraulic Hose

1шт.

6

VOE 14245392

Hydraulic Hose

1шт.

7

VOE 14012470

Фиттинг

1шт.

8

VOE 14012470

Фиттинг

1шт.

9

VOE 14012470

Фиттинг

1шт.

Выбрано товаров: 14