Запчасти Volvo EW130 12287 Hydraulic lock EW130 ?KERMAN ?KERMAN EW130 SER NO - 447

Схема запчастей Volvo EW130 - 12287 Hydraulic lock EW130 ?KERMAN ?KERMAN EW130 SER NO - 447
FIT
1:1
100%

Артикул

Название

Примечание

Количество

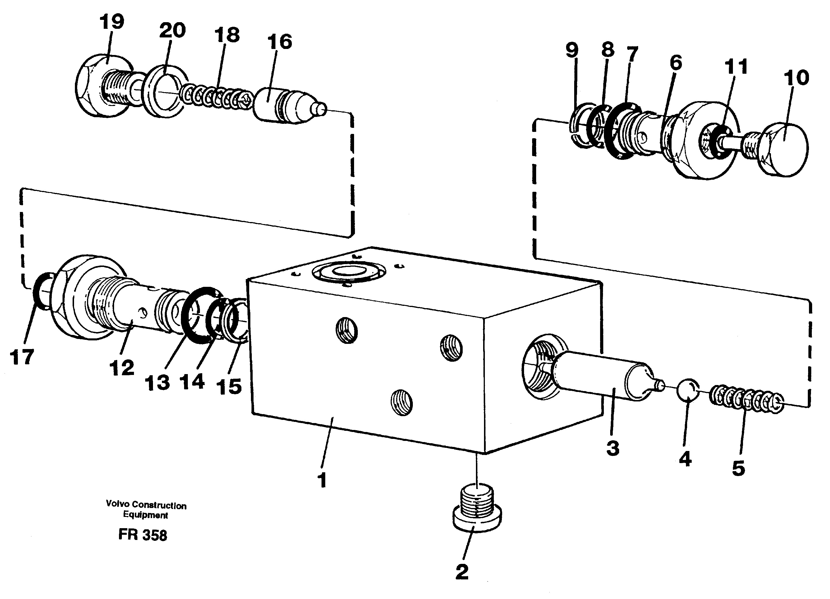
VOE 14242622

Hydraulic Lock

1шт.

VOE 14242622

Hydraulic Lock

1шт.

1

VOE 14240870

Valve Housing

1шт.

1

VOE 14240870

Valve Housing

1шт.

10

VOE 14246107

Пробка (заглушка)

1шт.

10

VOE 14246107

Пробка (заглушка)

1шт.

11

VOE 13960168

Кольцо уплотнительное (О-кольцо)

1шт.

11

VOE 13960168

Кольцо уплотнительное (О-кольцо)

1шт.

12

VOE 14239899

Valve Insert

1шт.

12

VOE 14239899

Valve Insert

1шт.

13

VOE 13960172

Кольцо уплотнительное (О-кольцо)

1шт.

13

VOE 13960172

Кольцо уплотнительное (О-кольцо)

1шт.

14

VOE 955976

Кольцо уплотнительное (О-кольцо)

1шт.

14

VOE 955976

Кольцо уплотнительное (О-кольцо)

1шт.

15

VOE 14048773

Back-up ring

1шт.

16

VOE 14053042

Slide

1шт.

17

VOE 13960168

Кольцо уплотнительное (О-кольцо)

1шт.

17

VOE 13960168

Кольцо уплотнительное (О-кольцо)

1шт.

18

VOE 14055942

Compression Spring

1шт.

18

VOE 14055942

Compression Spring

1шт.

19

VOE 14055943

Пробка (заглушка)

1шт.

19

VOE 14055943

Пробка (заглушка)

1шт.

2

VOE 14023407

Пробка (заглушка)

1шт.

2

VOE 14023407

Пробка (заглушка)

1шт.

20

VOE 14042936

Sealing washer

1шт.

20

VOE 14042936

Sealing washer

1шт.

3

VOE 14240869

Slide

1шт.

4

VOE 7000205

Ball

1шт.

4

VOE 7000205

Ball

1шт.

5

VOE 14031157

Compression Spring

1шт.

5

VOE 14031157

Compression Spring

1шт.

6

VOE 14246108

Cartridge Housi

1шт.

7

VOE 13960172

Кольцо уплотнительное (О-кольцо)

1шт.

7

VOE 13960172

Кольцо уплотнительное (О-кольцо)

1шт.

8

VOE 14211741

Кольцо уплотнительное (О-кольцо)

1шт.

8

VOE 14211741

Кольцо уплотнительное (О-кольцо)

1шт.

9

VOE 14048773

Back-up ring

1шт.

Выбрано товаров: 0