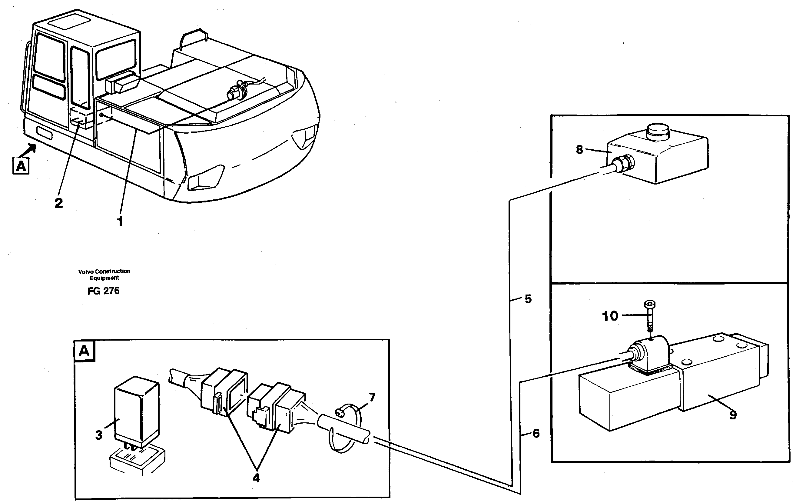
Запчасти Volvo EW130C 4940 Electric installation, overfilling protection EW130C ?KERMAN ?KERMAN EW130C SER NO - 583

Схема запчастей Volvo EW130C - 4940 Electric installation, overfilling protection EW130C ?KERMAN ?KERMAN EW130C SER NO - 583
FIT
1:1
100%

Артикул

Название

Примечание

Количество

1

VOE 14259717

14259717

1шт.

10

VOE 14214000

Болт

1шт.

10

VOE 14214000

Болт

1шт.

2

VOE 14259515

Cable

1шт.

3

VOE 11000132

Реле

1шт.

3

VOE 11000132

Реле

1шт.

4

VOE 948295

Insulator

1шт.

4

VOE 948295

Изолятор

1шт.

5

VOE 970628

El Cable

1шт.

6

VOE 970624

El Cable

1шт.

7

VOE 14016673

Strip clamp

1шт.

7

VOE 14016673

Strip clamp

1шт.

8

VOE 14261934

14261934

1шт.

Выбрано товаров: 13