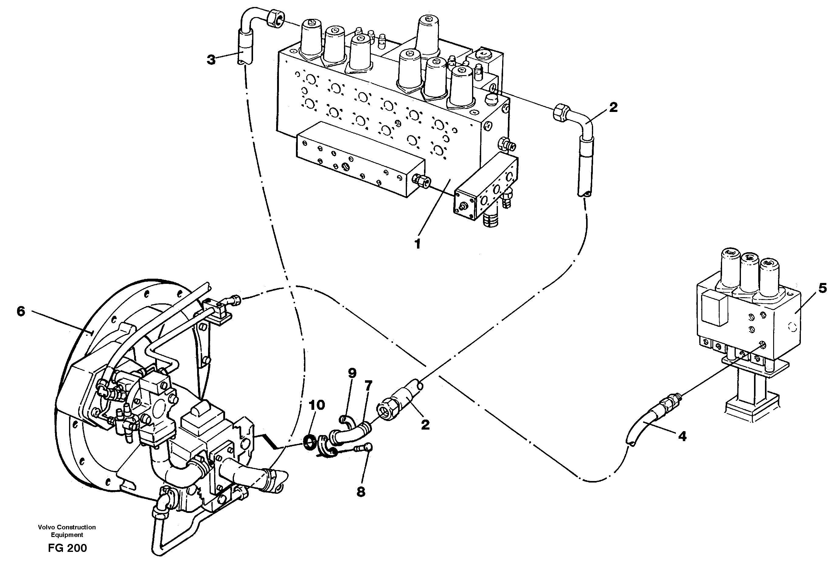
Запчасти Volvo EW130C 85639 Hydraulic system, feed line EW130C ?KERMAN ?KERMAN EW130C SER NO - 583

Схема запчастей Volvo EW130C - 85639 Hydraulic system, feed line EW130C ?KERMAN ?KERMAN EW130C SER NO - 583
FIT
1:1
100%

Артикул

Название

Примечание

Количество

10

VOE 990742

Кольцо уплотнительное (О-кольцо)

1шт.

10

VOE 990742

Кольцо уплотнительное (О-кольцо)

1шт.

2

VOE 14267481

Hydraulic hose

1шт.

3

VOE 14267480

Hydraulic hose

1шт.

4

VOE 14267482

Hydraulic hose

1шт.

7

VOE 14215425

14215425

1шт.

8

VOE 13970949

Винт шестигранник

1шт.

8

VOE 13970949

Винт шестигранник

1шт.

9

VOE 935312

Flange half

1шт.

9

VOE 935312

Flange half

1шт.

Выбрано товаров: 10