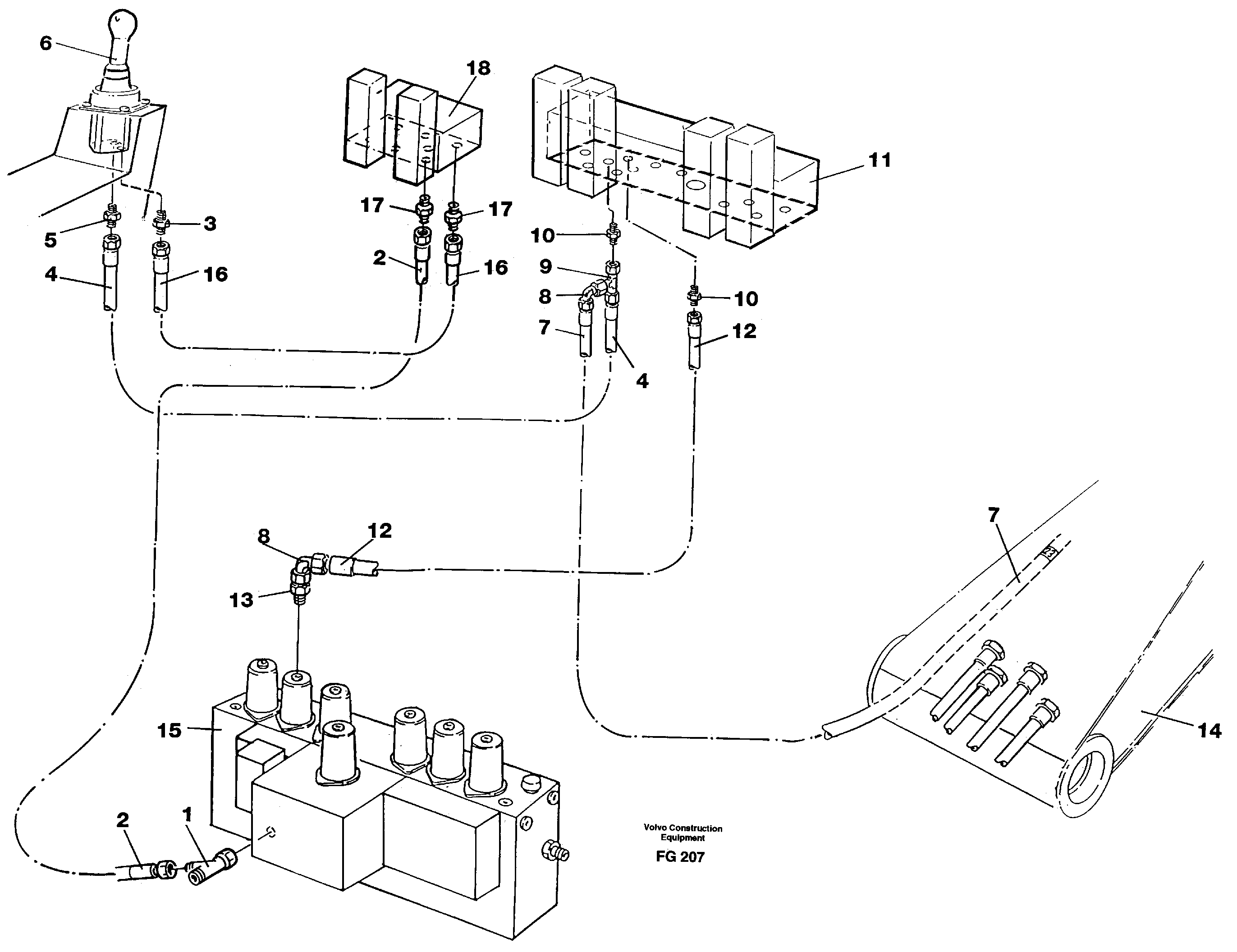
Запчасти Volvo EW130C 5686 Servo hydraulics, boom EW130C ?KERMAN ?KERMAN EW130C SER NO - 583

Схема запчастей Volvo EW130C - 5686 Servo hydraulics, boom EW130C ?KERMAN ?KERMAN EW130C SER NO - 583
FIT
1:1
100%

Артикул

Название

Примечание

Количество

VOE 14213123

Marking strip

1шт.

VOE 14213123

Marking strip

1шт.

VOE 14213123

Marking strip

1шт.

VOE 14213123

Marking strip

1шт.

VOE 14213123

Marking strip

1шт.

VOE 14213123

Marking strip

1шт.

1

VOE 14012383

14012383

1шт.

10

VOE 14012413

14012413

1шт.

12

VOE 14260242

Hydraulic hose

1шт.

13

VOE 14266009

14266009

1шт.

16

VOE 14260241

Hydraulic hose

1шт.

16

VOE 14260241

Hydraulic hose

1шт.

17

VOE 14012413

14012413

1шт.

2

VOE 14263253

Hydraulic hose

1шт.

3

VOE 957030

Nipple

1шт.

3

VOE 957030

Nipple

1шт.

4

VOE 14260242

Hydraulic hose

Marked 23

1шт.

5

VOE 14012413

14012413

1шт.

7

VOE 14250305

Hydraulic hose

Marked 23

1шт.

7

VOE 14250305

Hydraulic hose

Marked 23

1шт.

8

VOE 14012391

14012391

1шт.

9

VOE 14012383

14012383

1шт.

Выбрано товаров: 0