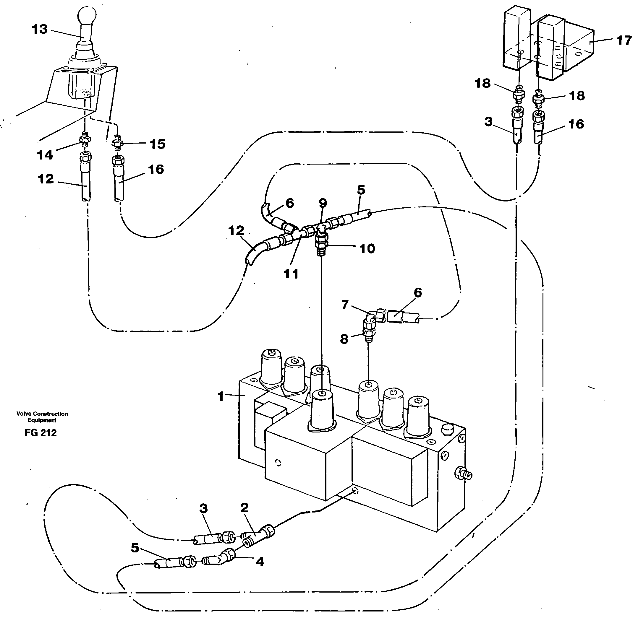
Запчасти Volvo EW130C 5687 Servo hydraulics, dipper arm EW130C ?KERMAN ?KERMAN EW130C SER NO - 583

Схема запчастей Volvo EW130C - 5687 Servo hydraulics, dipper arm EW130C ?KERMAN ?KERMAN EW130C SER NO - 583
FIT
1:1
100%

Артикул

Название

Примечание

Количество

10

VOE 14266009

14266009

1шт.

11

VOE 14012383

14012383

1шт.

12

VOE 14250305

Hydraulic hose

MARKED 13

1шт.

12

VOE 14250305

Hydraulic hose

MARKED 13

1шт.

12

VOE 14213113

Marking strip

1шт.

14

VOE 14259605

Nipple

1шт.

14

VOE 14259605

Nipple

1шт.

15

VOE 14259605

Nipple

1шт.

15

VOE 14259605

Nipple

1шт.

16

VOE 14260241

Hydraulic hose

MARKED 14

1шт.

16

VOE 14260241

Hydraulic hose

MARKED 14

1шт.

16

VOE 14213114

Marking strip

1шт.

16

VOE 14213114

Marking strip

1шт.

18

VOE 14012413

14012413

1шт.

2

VOE 14012383

14012383

1шт.

3

VOE 14263255

Hydraulic hose

1шт.

3

VOE 14263255

Hydraulic hose

1шт.

4

VOE 14012391

14012391

1шт.

5

VOE 14263250

Hydraulic hose

1шт.

6

VOE 14263244

Hydraulic hose

1шт.

7

VOE 14012391

14012391

1шт.

8

VOE 14266009

14266009

1шт.

9

VOE 14025145

Челночный клапан

1шт.

Выбрано товаров: 23