Запчасти Volvo EW130C 6102 Operating valve EW130C ?KERMAN ?KERMAN EW130C SER NO - 583

Схема запчастей Volvo EW130C - 6102 Operating valve EW130C ?KERMAN ?KERMAN EW130C SER NO - 583
FIT
1:1
100%

Артикул

Название

Примечание

Количество

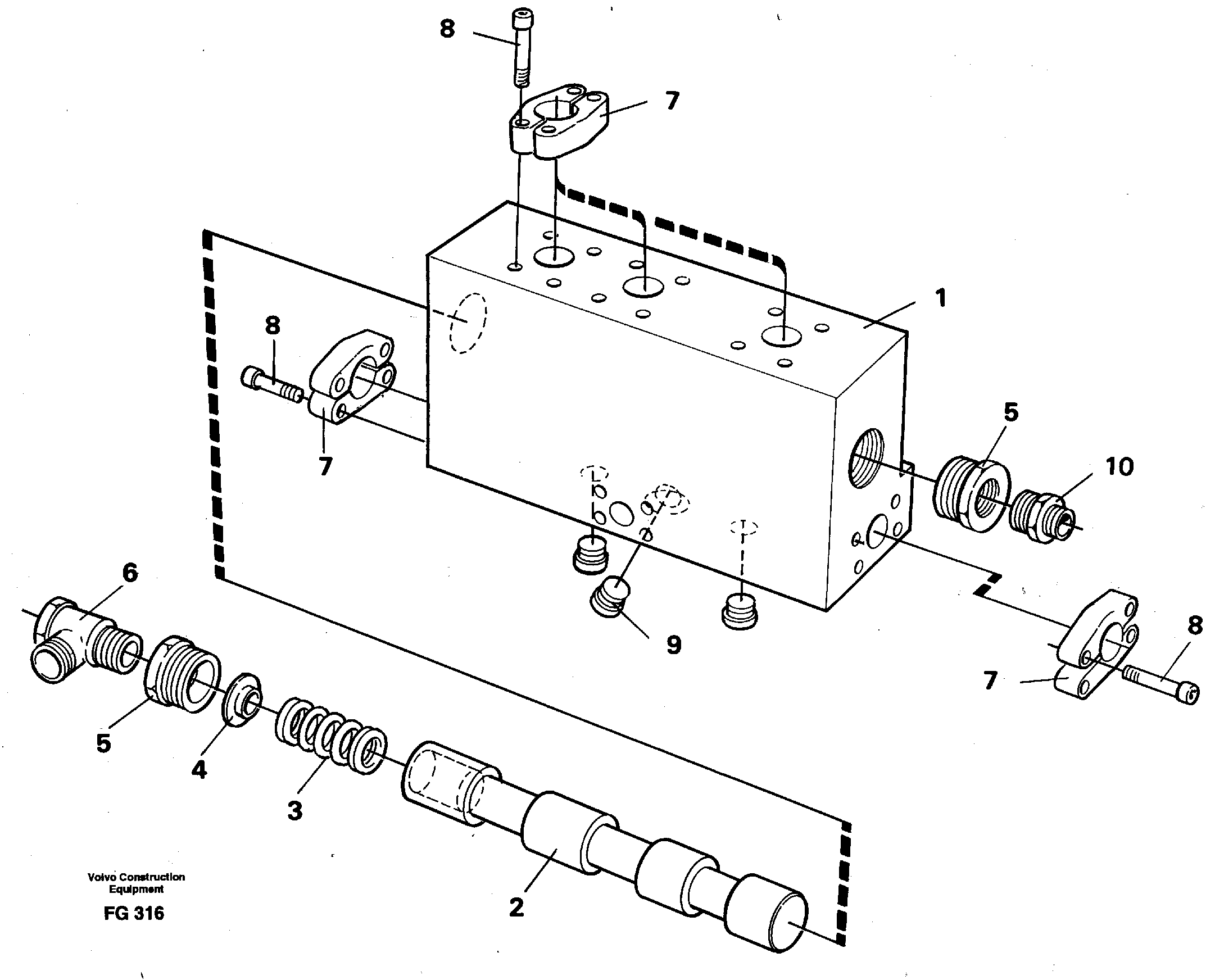
VOE 14258107

Operating valve

1шт.

VOE 14211860

Кольцо уплотнительное

1шт.

VOE 14211860

Кольцо уплотнительное

1шт.

1

VOE 14258108

Картер (корпус)

1шт.

10

VOE 14012413

14012413

1шт.

2

VOE 14258109

Slide

1шт.

3

VOE 14214989

Compression spring

1шт.

4

VOE 14254547

Spring disc

1шт.

5

VOE 14042630

Rdc Bushing

1шт.

6

VOE 14026430

Banjo fitting

1шт.

7

VOE 935312

Flange half

1шт.

7

VOE 935312

Flange half

1шт.

8

VOE 959240

Allen Hd Screw

1шт.

9

VOE 14023409

Пробка (заглушка)

1шт.

9

VOE 14023409

Пробка (заглушка)

1шт.

Выбрано товаров: 15