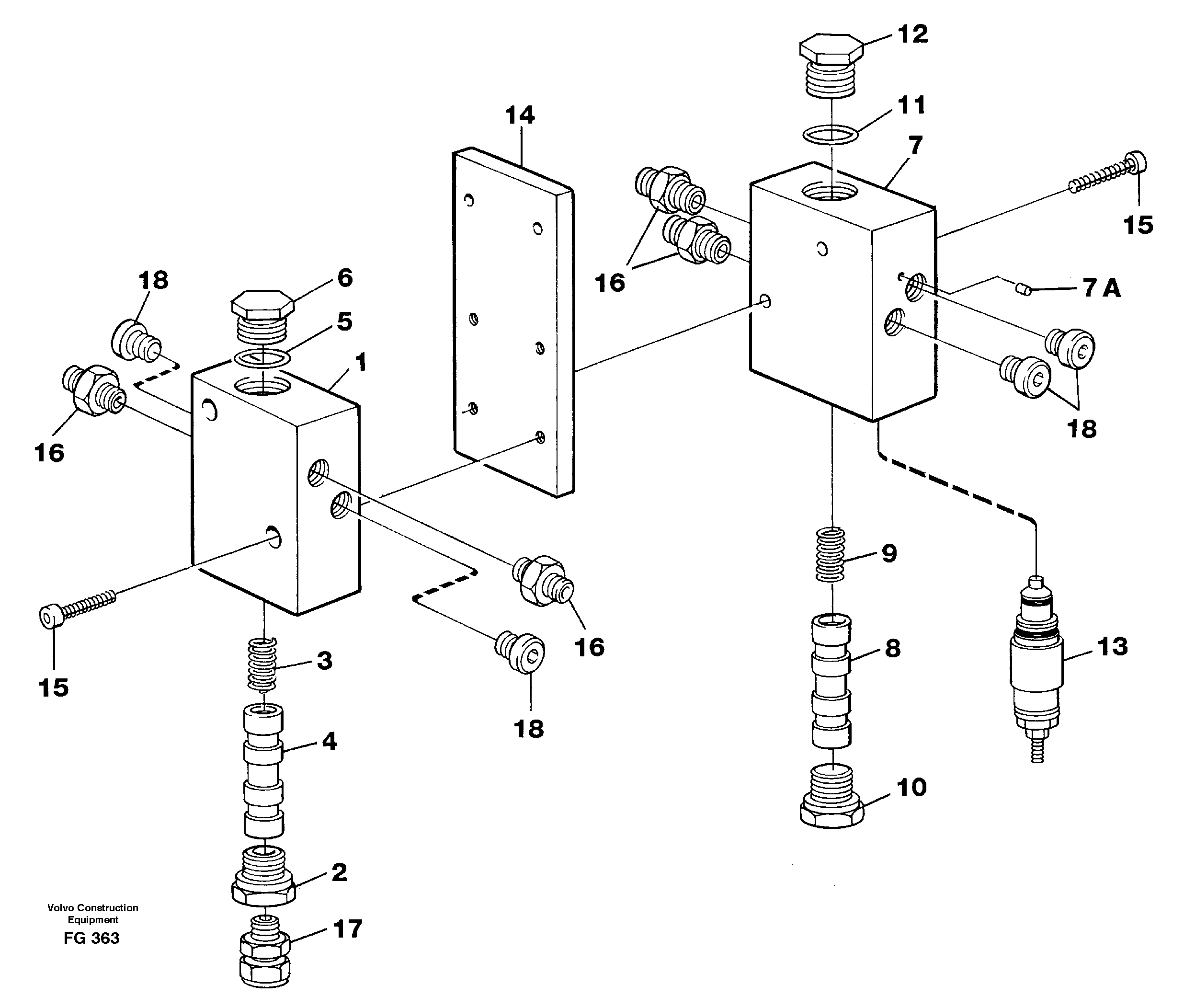
Запчасти Volvo EW130C 7842 Relay valves EW130C ?KERMAN ?KERMAN EW130C SER NO - 583

Схема запчастей Volvo EW130C - 7842 Relay valves EW130C ?KERMAN ?KERMAN EW130C SER NO - 583
FIT
1:1
100%

Артикул

Название

Примечание

Количество

VOE 14341033

Relay Valve

1шт.

VOE 14232859

Клапан

1шт.

VOE 14232859

Клапан

1шт.

VOE 14257298

Relay valve

1шт.

1

VOE 14232860

Картер (корпус)

1шт.

1

VOE 14232860

Картер (корпус)

1шт.

10

VOE 14046508

Tube Plug

1шт.

11

VOE 925059

Кольцо уплотнительное (О-кольцо)

1шт.

11

VOE 925059

Кольцо уплотнительное (О-кольцо)

1шт.

12

VOE 14012514

Rdc Bushing

1шт.

13

VOE 14216005

Pressure limiting valve

1шт.

14

VOE 14257470

14257470

1шт.

15

VOE 942314

Allen Hd Screw

1шт.

16

VOE 14012413

14012413

1шт.

17

VOE 14023056

14023056

1шт.

18

VOE 14023407

Пробка (заглушка)

1шт.

18

VOE 14023407

Пробка (заглушка)

1шт.

2

VOE 14012514

Rdc Bushing

1шт.

3

VOE 14046520

Compression spring

1шт.

3

VOE 14046520

Compression spring

1шт.

4

VOE 14232861

Slide

1шт.

5

VOE 925059

Кольцо уплотнительное (О-кольцо)

1шт.

5

VOE 925059

Кольцо уплотнительное (О-кольцо)

1шт.

6

VOE 14046508

Tube Plug

1шт.

7

VOE 14257133

Valve housing

1шт.

7A

VOE 14214716

Sealing plug

1шт.

7A

VOE 14214716

Sealing plug

1шт.

8

VOE 14232861

Slide

1шт.

9

VOE 14046520

Compression spring

1шт.

9

VOE 14046520

Compression spring

1шт.

Выбрано товаров: 30