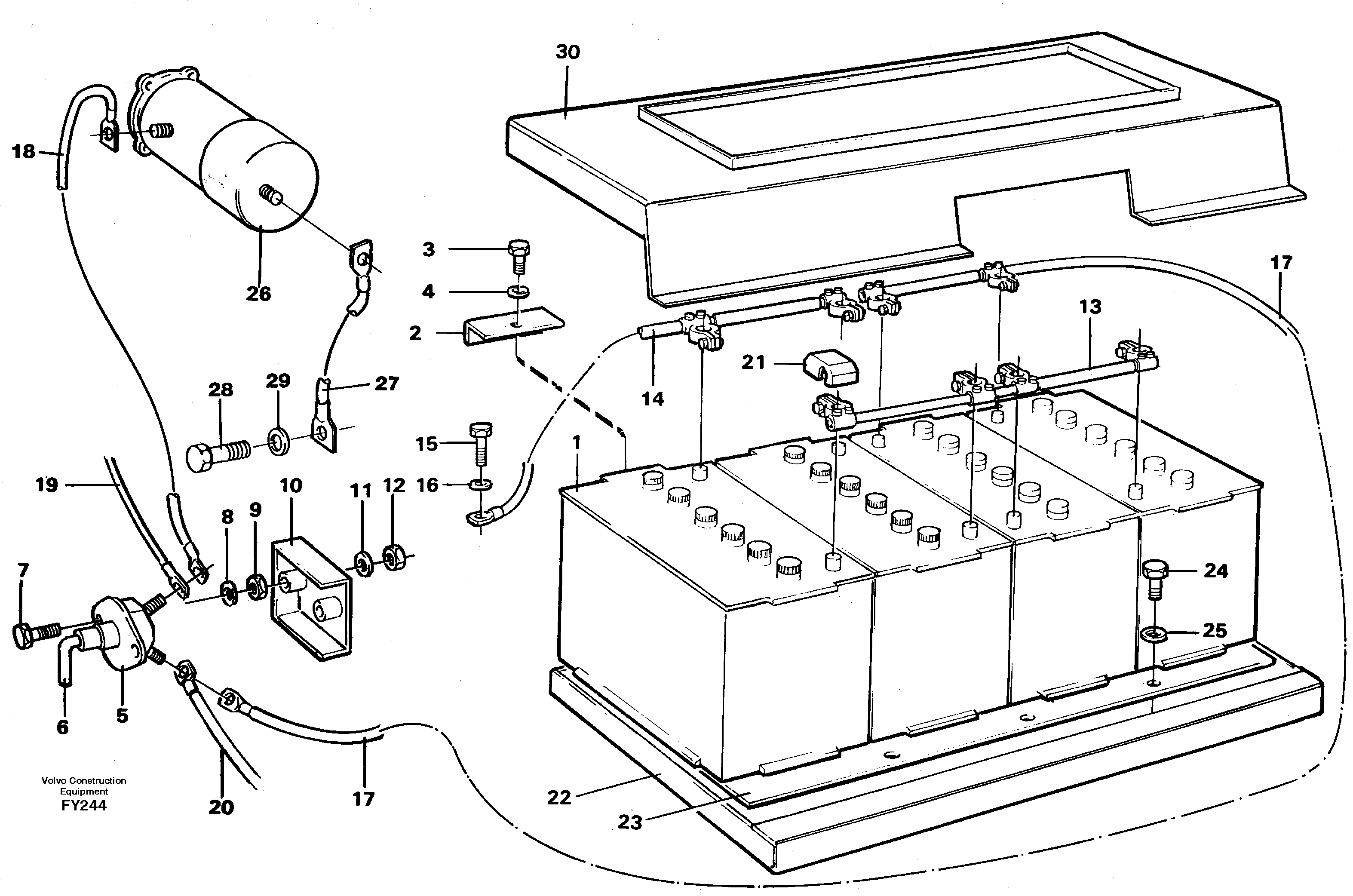
Запчасти Volvo EW130C 15236 Battery with assembling details EW130C SER NO 584-

Схема запчастей Volvo EW130C - 15236 Battery with assembling details EW130C SER NO 584-
FIT
1:1
100%

Артикул

Название

Примечание

Количество

1

VOE 11714689

Батарея аккумуляторная

12V 60AH

1шт.

10

VOE 14250098

Protection

1шт.

11

VOE 13955894

Шайба

1шт.

11

VOE 13955894

Шайба

1шт.

12

VOE 963106

Lock nut

1шт.

12

VOE 963106

Lock nut

1шт.

13

VOE 14346669

Battery cable

1шт.

14

VOE 14346670

Battery cable

1шт.

15

VOE 13970944

Винт шестигранник

1шт.

15

VOE 13970944

Винт шестигранник

1шт.

16

VOE 976945

Шайба

1шт.

16

VOE 976945

Шайба

1шт.

17

VOE 14251189

Cable

1шт.

18

VOE 14258165

Cable

1шт.

2

VOE 14251037

Attachment

1шт.

21

VOE 14260472

Terminal casing

1шт.

21

VOE 14260472

Terminal casing

1шт.

22

VOE 14251061

14251061

1шт.

23

VOE 14251060

Rubber mat

1шт.

24

VOE 940199

Винт шестигранник

1шт.

24

VOE 940199

Винт шестигранник

1шт.

25

VOE 13955894

Шайба

1шт.

25

VOE 13955894

Шайба

1шт.

27

VOE 14258166

Cable

1шт.

28

VOE 13970944

Винт шестигранник

1шт.

28

VOE 13970944

Винт шестигранник

1шт.

29

VOE 976945

Шайба

1шт.

29

VOE 976945

Шайба

1шт.

3

VOE 955300

Винт шестигранник

1шт.

3

VOE 955300

Винт шестигранник

1шт.

30

VOE 14251305

Крышка

1шт.

4

VOE 13955894

Шайба

1шт.

4

VOE 13955894

Шайба

1шт.

5

VOE 1140319

Battery main switch

1шт.

5

VOE 1140319

Battery main switch

1шт.

6

VOE 1140427

Handle

1шт.

7

VOE 14214371

Болт

1шт.

7

VOE 14214371

Болт

1шт.

8

VOE 13955894

Шайба

1шт.

8

VOE 13955894

Шайба

1шт.

9

VOE 955782

Hexagon nut

1шт.

9

VOE 955782

Hexagon nut

1шт.

Выбрано товаров: 42