Запчасти Volvo EW130C 61593 Clamshell rest EW130C SER NO 584-

Схема запчастей Volvo EW130C - 61593 Clamshell rest EW130C SER NO 584-
FIT
1:1
100%

Артикул

Название

Примечание

Количество

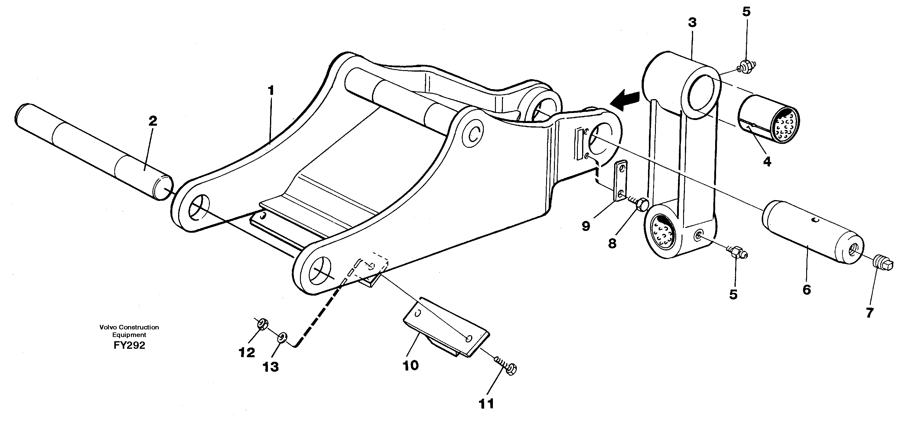
VOE 14259271

Carrier

1шт.

1

VOE 14258551

Grab Attachment

1шт.

10

VOE 14216061

Buffer

1шт.

11

VOE 13970970

Винт шестигранник

1шт.

11

VOE 13970970

Винт шестигранник

1шт.

12

VOE 13971072

Hexagon nut

1шт.

12

VOE 13971072

Hexagon nut

1шт.

13

VOE 13955897

Шайба

1шт.

13

VOE 13955897

Шайба

1шт.

2

VOE 14285190

Палец

1шт.

2

VOE 14285190

Вал

1шт.

3

VOE 14258728

Тяга поворотная

1шт.

4

VOE 14005512

Втулка

1шт.

5

VOE 14014069

Lubricating nipple

1шт.

5

VOE 14014069

Lubricating nipple

1шт.

6

VOE 14048078

14048078

1шт.

7

VOE 14013477

Tube Plug

1шт.

8

VOE 13970970

Винт шестигранник

1шт.

8

VOE 13970970

Винт шестигранник

1шт.

9

VOE 14040175

Striker plate

1шт.

Выбрано товаров: 20