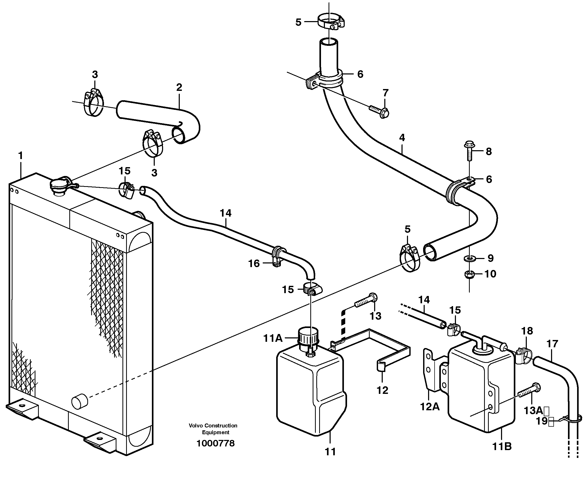
Запчасти Volvo EW140 82968 Система охлаждения EW140 SER NO 1001-1487

Схема запчастей Volvo EW140 - 82968 Система охлаждения EW140 SER NO 1001-1487
FIT
1:1
100%

Артикул

Название

Примечание

Количество

10

VOE 13971089

Lock nut

1шт.

10

VOE 13971089

Lock nut

1шт.

11

VOE 14379486

Бак (бачок) расширительный

SER NO - 1370

1шт.

11A

SA 1015-02630

Бак (бачок) расширительный

1шт.

11B

SA 1015-02630

Бак (бачок) расширительный

SER NO 1371 -

1шт.

12

VOE 14371833

Тарелка клапана

SER NO - 1370

1шт.

13

VOE 13946934

Болт

SER NO - 1370

1шт.

13

VOE 13946934

Болт

SER NO - 1370

1шт.

13A

VOE 13946173

Screw

SER NO 1371 -

1шт.

13A

VOE 13946173

Болт

SER NO 1371 -

1шт.

14

VOE 943366

Шланг

L = 1000MM

1шт.

15

ZM 2060781

Скоба (хомут)

1шт.

16

VOE 980614

Зажим

1шт.

16

VOE 980614

Зажим

1шт.

17

VOE 13961191

Hydraulic hose

SER NO 1371 -

1шт.

18

VOE 943471

Hose clamp

SER NO 1371 -

1шт.

19

VOE 4881438

Cable tie

SER NO 1371 -

1шт.

19

VOE 4881438

Cable tie

SER NO 1371 -

1шт.

2

VOE 14373383

Radiator hose

1шт.

3

VOE 11059298

Hose clamp

1шт.

3

VOE 11059298

Hose clamp

1шт.

4

VOE 14371590

Radiator hose

1шт.

5

VOE 943479

Hose clamp

1шт.

6

VOE 14371733

Зажим

1шт.

7

VOE 946329

Flange screw

1шт.

7

VOE 946329

Flange screw

1шт.

8

VOE 14370277

Болт

1шт.

8

VOE 14370277

Винт шестигранник

1шт.

9

VOE 976945

Шайба

1шт.

9

VOE 976945

Шайба

1шт.

Выбрано товаров: 30