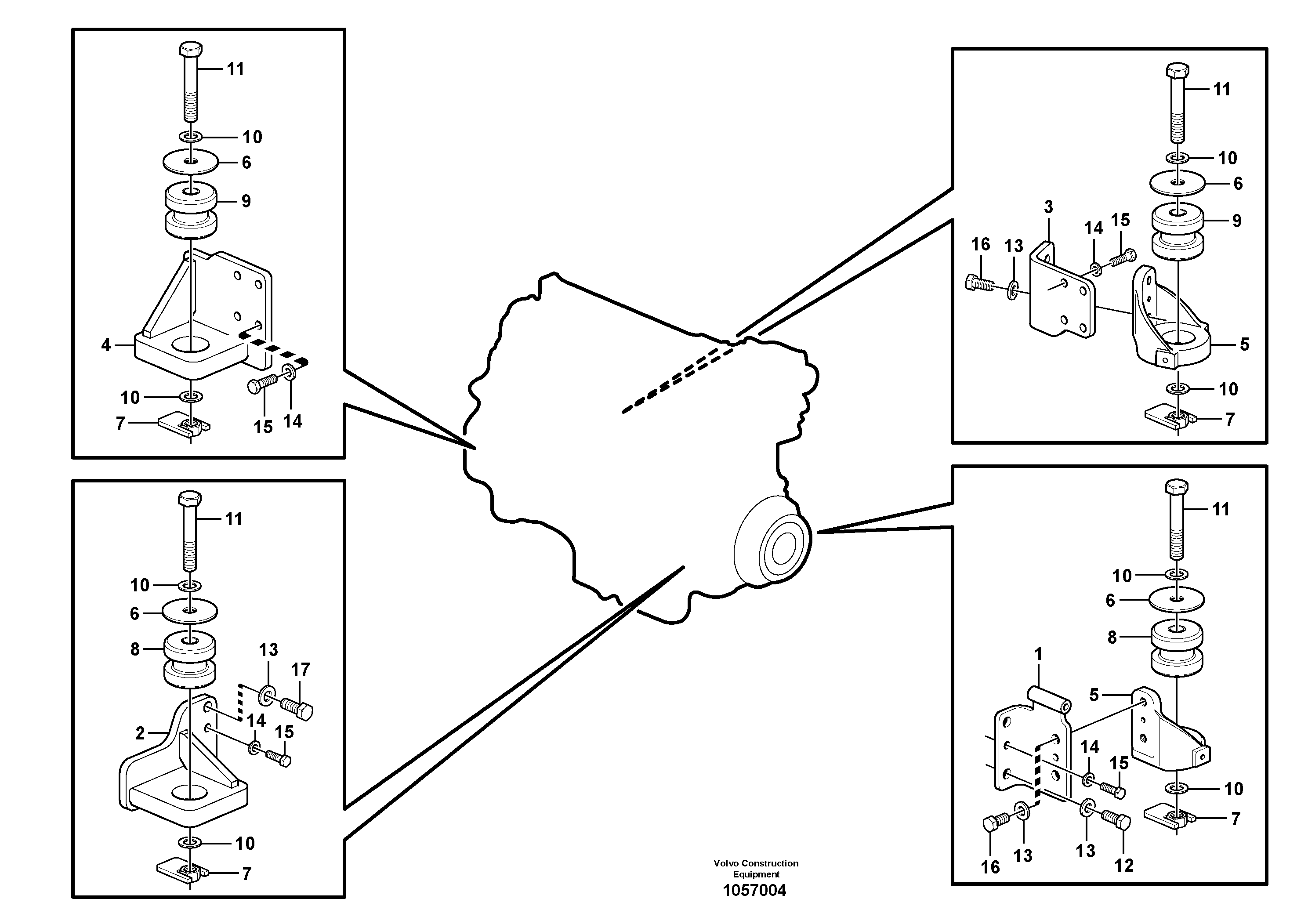
Запчасти Volvo EW140C 79025 Engine mount EW140C

Схема запчастей Volvo EW140C - 79025 Engine mount EW140C
FIT
1:1
100%

Артикул

Название

Примечание

Количество

1

VOE 14574171

Кронштейн

1шт.

10

VOE 14377796

Шайба

1шт.

10

VOE 14377796

Шайба

1шт.

11

VOE 992992

Болт

1шт.

12

VOE 978937

Винт шестигранник

1шт.

13

VOE 992045

Плоская шайба

1шт.

13

VOE 992045

Шайба

1шт.

14

VOE 13930908

Шайба

1шт.

14

VOE 13930908

Шайба

1шт.

15

VOE 993029

Винт шестигранник

1шт.

15

VOE 993029

Винт шестигранник

1шт.

16

VOE 978936

Винт шестигранник

1шт.

16

VOE 978936

Винт шестигранник

1шт.

17

VOE 978938

Винт шестигранник

1шт.

17

VOE 978938

Винт шестигранник

1шт.

2

VOE 14386005

Кронштейн

1шт.

3

VOE 14574169

Пластина

1шт.

4

VOE 14385910

Кронштейн

1шт.

5

VOE 14572876

Кронштейн

1шт.

6

VOE 14526169

Пластина

1шт.

6

VOE 14526169

Пластина

1шт.

7

VOE 14512933

Гайка

1шт.

8

VOE 14388015

Cushion

1шт.

9

VOE 14526154

Cushion

1шт.

9

VOE 14526154

Cushion

1шт.

Выбрано товаров: 25