Запчасти Volvo EW140C 60908 Working hydraulic, quick fit on boom EW140C

Схема запчастей Volvo EW140C - 60908 Working hydraulic, quick fit on boom EW140C
FIT
1:1
100%

Артикул

Название

Примечание

Количество

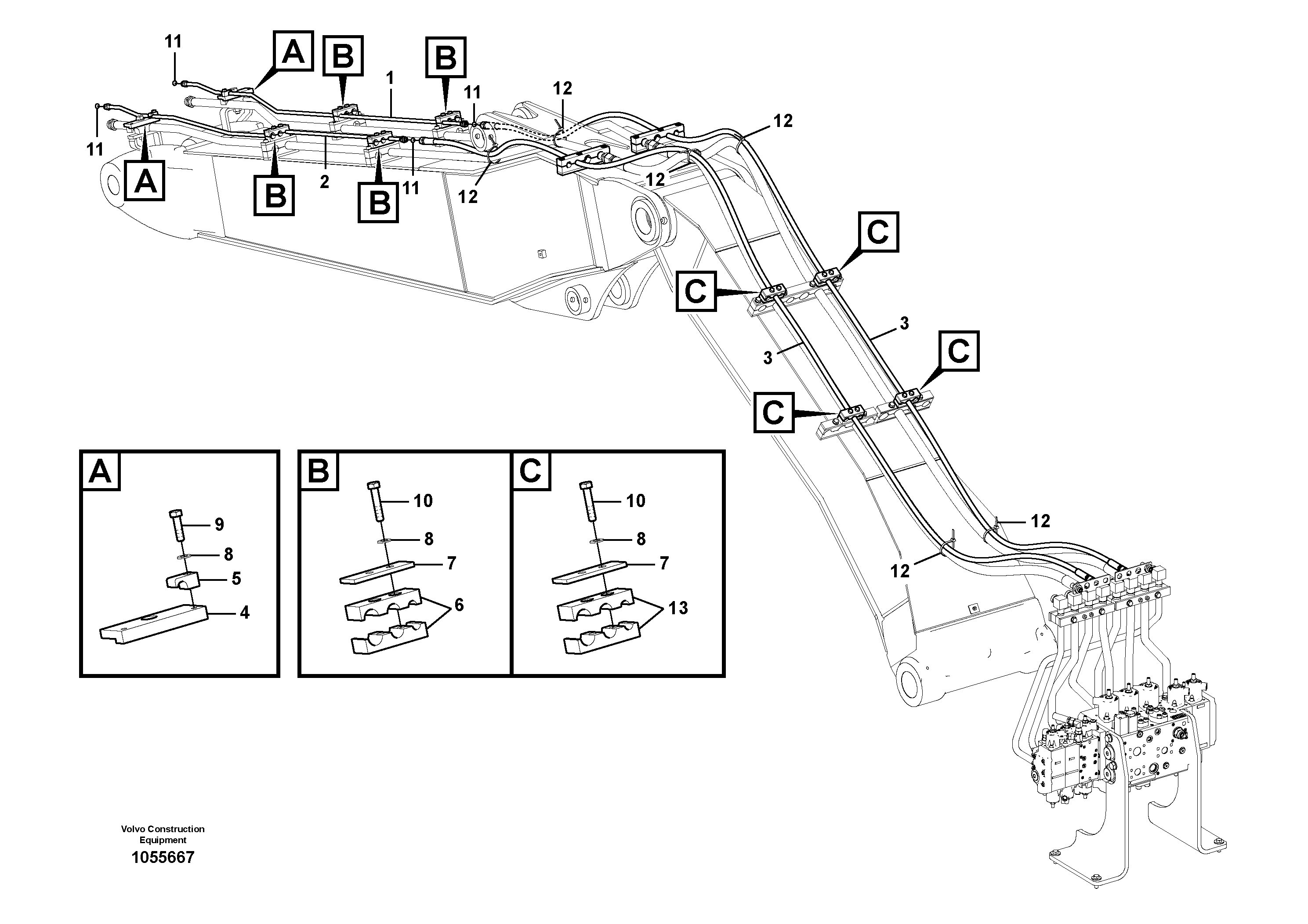
1

VOE 14387180

Трубка

1шт.

10

VOE 983245

Винт шестигранник

1шт.

10

VOE 983245

Винт шестигранник

1шт.

11

VOE 4880492

Кольцо уплотнительное (О-кольцо)

1шт.

11

VOE 4880492

Кольцо уплотнительное (О-кольцо)

1шт.

12

VOE 4881440

Cable tie

1шт.

12

VOE 4881440

Cable tie

1шт.

13

VOE 14387348

Зажим

1шт.

2

VOE 14387183

Трубка

1шт.

3

VOE 938685

Hose assembly

1шт.

4

VOE 14386684

Seat

1шт.

5

VOE 14881230

Зажим

1шт.

5

VOE 14881230

Зажим

1шт.

6

VOE 14387659

Скоба (хомут)

1шт.

7

VOE 14375965

Top plate

1шт.

8

VOE 13955894

Шайба

1шт.

8

VOE 13955894

Шайба

1шт.

9

VOE 983245

Винт шестигранник

1шт.

9

VOE 983245

Винт шестигранник

1шт.

Выбрано товаров: 19