Запчасти Volvo EW145B 12687 Dozer blade, rear EW145B

Схема запчастей Volvo EW145B - 12687 Dozer blade, rear EW145B
FIT
1:1
100%

Артикул

Название

Примечание

Количество

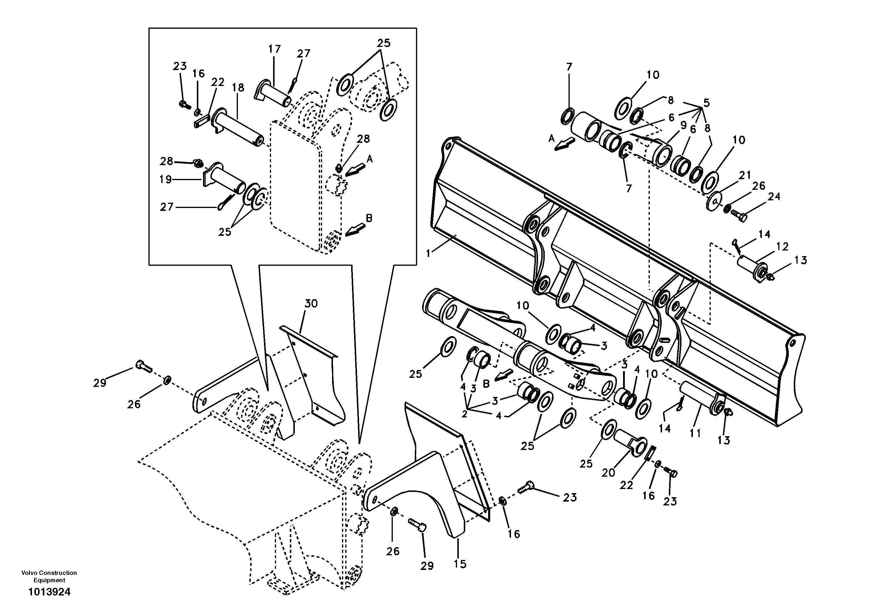
VOE 14562771

Лезвие отвала (аутригера)

1шт.

1

VOE 14525071

Лезвие отвала (аутригера)

1шт.

10

SA 1070-64410

Прокладка

1шт.

11

VOE 14562769

Палец

1шт.

12

VOE 14562770

Палец

1шт.

13

VOE 914167

Lubricating nipple

1шт.

13

VOE 914167

Lubricating nipple

1шт.

14

VOE 907903

Cotter Pin

(SA9323-07545)

1шт.

15

VOE 14525073

Опора

1шт.

16

SA 9211-10000

Шайба

1шт.

16

SA 9211-10000

Шайба

1шт.

17

VOE 14532377

Bearing spindle

1шт.

18

VOE 14532378

Bearing spindle

1шт.

19

VOE 14562768

Палец

1шт.

2

VOE 14562773

Body

1шт.

20

VOE 14532380

Bearing spindle

1шт.

21

VOE 14532381

Cover Washer

1шт.

22

SA 1070-64640

Пластина

1шт.

23

VOE 983251

Винт шестигранник

1шт.

23

VOE 983251

Винт шестигранник

1шт.

24

SA 9011-11608

Болт

1шт.

25

SA 1070-64410

Прокладка

1шт.

26

VOE 14880474

Шайба

1шт.

26

VOE 14880474

Шайба

1шт.

27

SA 9323-07545

Split Pin

1шт.

28

VOE 914167

Lubricating nipple

1шт.

28

VOE 914167

Lubricating nipple

1шт.

29

SA 9011-11605

Болт

1шт.

29

SA 9011-11605

Винт шестигранник

1шт.

3

SA 1070-64280

Втулка

1шт.

30

VOE 14525072

Крышка

1шт.

4

SA P4100599

Сальник

1шт.

5

VOE 14532374

Тяга поворотная

1шт.

6

SA 1070-64620

Втулка

1шт.

7

SA 1070-64630

Втулка

1шт.

8

SA P4100599

Сальник

1шт.

9

VOE 14562775

Тяга поворотная

1шт.

Выбрано товаров: 37