Запчасти Volvo EW145B 50933 Предпусковой подогреватель в сборе EW145B PRIME S/N 15001-

Схема запчастей Volvo EW145B - 50933 Предпусковой подогреватель в сборе EW145B PRIME S/N 15001-
FIT
1:1
100%

Артикул

Название

Примечание

Количество

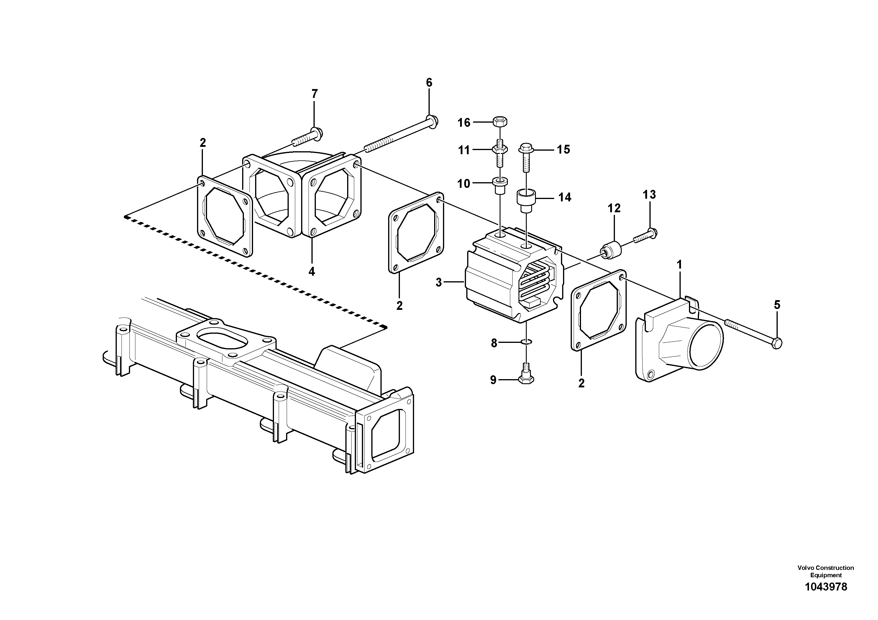
1

VOE 20498528

Hose Nipple

1шт.

10

VOE 20521558

Изолятор

1шт.

11

VOE 20726089

Соединитель

1шт.

12

VOE 20550336

Изолятор

1шт.

13

VOE 20550356

Болт

1шт.

14

VOE 20758437

Изолятор

1шт.

15

VOE 13949578

Болт

1шт.

15

VOE 13949578

Болт

1шт.

16

VOE 20505959

Hexagon nut

1шт.

16

VOE 20505959

Hexagon nut

1шт.

2

VOE 20531832

Прокладка

1шт.

2

VOE 20531832

Прокладка

1шт.

3

VOE 20758403

Heater

1шт.

4

VOE 20459938

Elbow

1шт.

4

VOE 20459938

Elbow

1шт.

5

VOE 20460124

Болт

1шт.

5

VOE 20460124

Болт

1шт.

6

VOE 20460124

Болт

1шт.

6

VOE 20460124

Болт

1шт.

7

VOE 20405504

Болт

1шт.

7

VOE 20405504

Болт

1шт.

8

VOE 20498524

Кольцо уплотнительное

1шт.

8

VOE 20498524

Кольцо уплотнительное

1шт.

9

VOE 20498498

Соединитель

1шт.

9

VOE 20498498

Соединитель

1шт.

Выбрано товаров: 25