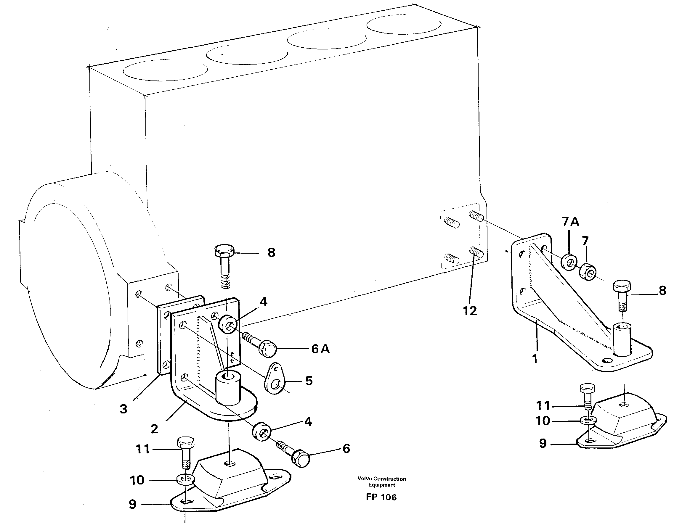
Запчасти Volvo EW150C 32976 Установка двигателя EW150C ?KERMAN ?KERMAN EW150C SER NO - 688

Схема запчастей Volvo EW150C - 32976 Установка двигателя EW150C ?KERMAN ?KERMAN EW150C SER NO - 688
FIT
1:1
100%

Артикул

Название

Примечание

Количество

VOE 14266810

Установка двигателя

LH

1шт.

VOE 14024293

Locking Fluid

1шт.

VOE 14024293

Locking Fluid

1шт.

1

VOE 14257205

Установка двигателя

1шт.

10

VOE 13960145

Шайба

1шт.

10

VOE 13960145

Шайба

1шт.

11

VOE 13970970

Винт шестигранник

1шт.

11

VOE 13970970

Винт шестигранник

1шт.

12

VOE 11998146

Шпилька

1шт.

2

VOE 14257210

Установка двигателя

RH

1шт.

3

VOE 14258737

Вставка

RH

1шт.

4

VOE 14040547

Вставка

1шт.

4

VOE 14040547

Вставка

1шт.

5

VOE 14252169

Attachment

1шт.

6

VOE 13965193

Болт

L = 50mm

1шт.

6

VOE 13965193

Flange screw

L = 50mm

1шт.

6A

VOE 13965194

Flange screw

L = 60mm

1шт.

6A

VOE 13965194

Болт

L = 60mm

1шт.

7

VOE 13971090

Lock nut

1шт.

7

VOE 13971090

Lock nut

1шт.

7A

VOE 14248129

Шайба

1шт.

7A

VOE 14248129

Шайба

1шт.

8

VOE 955372

Винт шестигранник

1шт.

8

VOE 955372

Винт шестигранник

1шт.

9

VOE 14266108

Rubber Damper

1шт.

9

VOE 14266108

Rubber Damper

1шт.

Выбрано товаров: 0