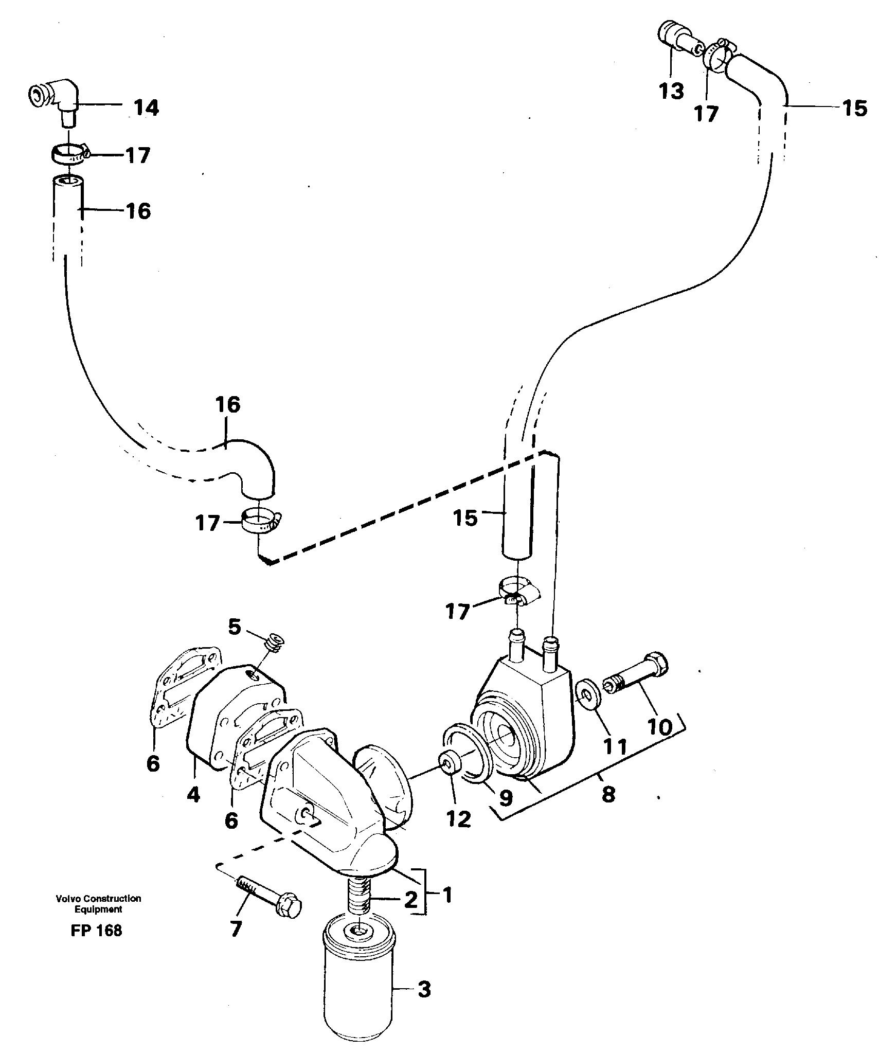
Запчасти Volvo EW150C 83932 Масляный радиатор EW150C ?KERMAN ?KERMAN EW150C SER NO - 688

Схема запчастей Volvo EW150C - 83932 Масляный радиатор EW150C ?KERMAN ?KERMAN EW150C SER NO - 688
FIT
1:1
100%

Артикул

Название

Примечание

Количество

1

VOE 11700790

Filter housing

1шт.

10

VOE 11700759

Болт

1шт.

11

VOE 11700760

Прокладка

1шт.

12

VOE 11997927

Кольцо уплотнительное

1шт.

12

VOE 11997927

Кольцо уплотнительное

1шт.

13

VOE 11988381

Адаптер

1шт.

14

VOE 11701602

Elbow

1шт.

15

VOE 943368

Шланг

L = 450mm

1шт.

15

VOE 943368

Шланг

L = 450mm

1шт.

16

VOE 943368

Шланг

L = 530mm

1шт.

16

VOE 943368

Шланг

L = 530mm

1шт.

17

VOE 13943472

Hose clamp

1шт.

2

VOE 11999547

Pipe connection

1шт.

3

VOE 3976603

Фильтр масляный

1шт.

4

VOE 11702144

Адаптер

1шт.

5

VOE 11997843

Пробка (заглушка)

1шт.

6

VOE 11998009

Прокладка

1шт.

6

VOE 11998009

Прокладка

1шт.

7

VOE 11998011

Болт

1шт.

8

VOE 11712750

Масляный радиатор

1шт.

9

VOE 11998014

Прокладка

1шт.

Выбрано товаров: 21