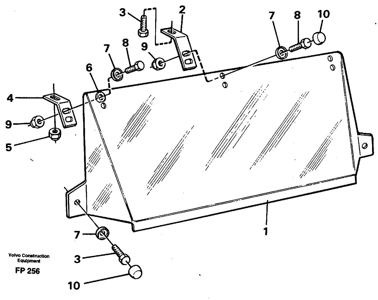
Запчасти Volvo EW150C 9862 Sun visor, outer EW150C ?KERMAN ?KERMAN EW150C SER NO - 688

Схема запчастей Volvo EW150C - 9862 Sun visor, outer EW150C ?KERMAN ?KERMAN EW150C SER NO - 688
FIT
1:1
100%

Артикул

Название

Примечание

Количество

1

VOE 14250507

Sun visor

1шт.

10

VOE 14214399

Cap

1шт.

2

VOE 14250505

14250505

1шт.

3

VOE 14213032

Болт

1шт.

3

VOE 14213032

Болт

1шт.

4

VOE 14250504

14250504

1шт.

5

VOE 14213384

Гайка

1шт.

6

VOE 14214408

Втулка

1шт.

7

VOE 14214400

Plastic washer

1шт.

8

VOE 13955272

Болт

1шт.

8

VOE 13955272

Болт

1шт.

9

VOE 13963105

Lock nut

1шт.

9

VOE 13963105

Lock nut

1шт.

Выбрано товаров: 13