Запчасти Volvo EW150C 10453 Hose rupture valve, knuckle cylinder EW150C ?KERMAN ?KERMAN EW150C SER NO - 688

Схема запчастей Volvo EW150C - 10453 Hose rupture valve, knuckle cylinder EW150C ?KERMAN ?KERMAN EW150C SER NO - 688
FIT
1:1
100%

Артикул

Название

Примечание

Количество

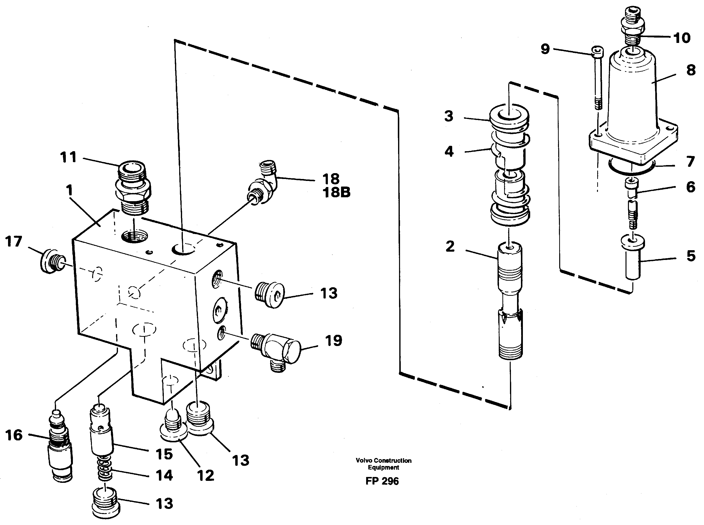
VOE 14342852

Line Brk Valve

1шт.

1

VOE 14251259

Valve housing

1шт.

10

VOE 14012413

14012413

1шт.

11

VOE 14215338

14215338

1шт.

12

VOE 14023409

Пробка (заглушка)

1шт.

12

VOE 14023409

Пробка (заглушка)

1шт.

13

VOE 14024233

Tube Plug

1шт.

14

VOE 14048993

Compression spring

1шт.

15

VOE 14236642

Peg

1шт.

16

VOE 14216055

Pressure limiting valve

1шт.

17

VOE 14023407

Пробка (заглушка)

1шт.

17

VOE 14023407

Пробка (заглушка)

1шт.

18

VOE 14012391

14012391

1шт.

18B

VOE 14211899

Кольцо уплотнительное (О-кольцо)

1шт.

19

VOE 14026430

Banjo fitting

1шт.

2

VOE 14252929

Slide

1шт.

3

VOE 14236271

Spring disc

1шт.

4

VOE 14236272

Compression spring

1шт.

5

VOE 14236273

Spacer sleeve

1шт.

6

VOE 14023240

Болт

1шт.

7

VOE 925091

Кольцо уплотнительное (О-кольцо)

1шт.

7

VOE 925091

Кольцо уплотнительное (О-кольцо)

1шт.

8

VOE 14236254

Крышка

1шт.

9

VOE 959223

Allen Hd Screw

1шт.

Выбрано товаров: 24