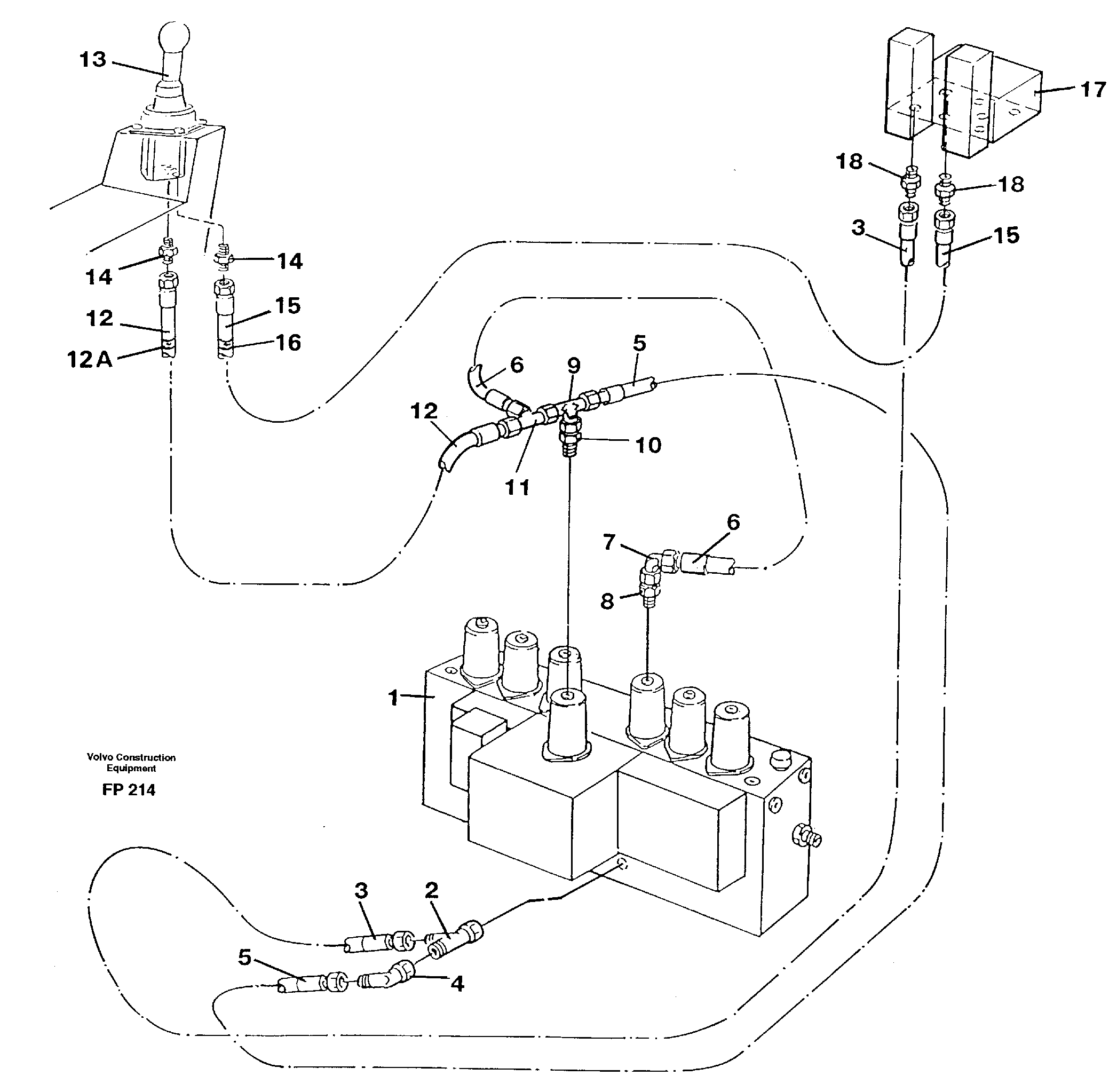
Запчасти Volvo EW150C 10462 Servo hydraulics, dipper arm EW150C ?KERMAN ?KERMAN EW150C SER NO - 688

Схема запчастей Volvo EW150C - 10462 Servo hydraulics, dipper arm EW150C ?KERMAN ?KERMAN EW150C SER NO - 688
FIT
1:1
100%

Артикул

Название

Примечание

Количество

10

VOE 14266009

14266009

1шт.

11

VOE 14012383

14012383

1шт.

12

VOE 14263257

Hydraulic hose

Marked 13

1шт.

12A

VOE 14213113

Marking strip

1шт.

14

VOE 14259605

Nipple

1шт.

14

VOE 14259605

Nipple

1шт.

15

VOE 14263256

Hydraulic hose

Marked 14

1шт.

16

VOE 14213114

Marking strip

1шт.

16

VOE 14213114

Marking strip

1шт.

18

VOE 14012413

14012413

1шт.

2

VOE 14012383

14012383

1шт.

3

VOE 14263254

Hydraulic hose

1шт.

4

VOE 14012391

14012391

1шт.

5

VOE 14263250

Hydraulic hose

1шт.

6

VOE 14263245

Hydraulic hose

1шт.

6

VOE 14263245

Hydraulic hose

1шт.

7

VOE 14012391

14012391

1шт.

8

VOE 14266009

14266009

1шт.

9

VOE 14025145

Челночный клапан

1шт.

Выбрано товаров: 19