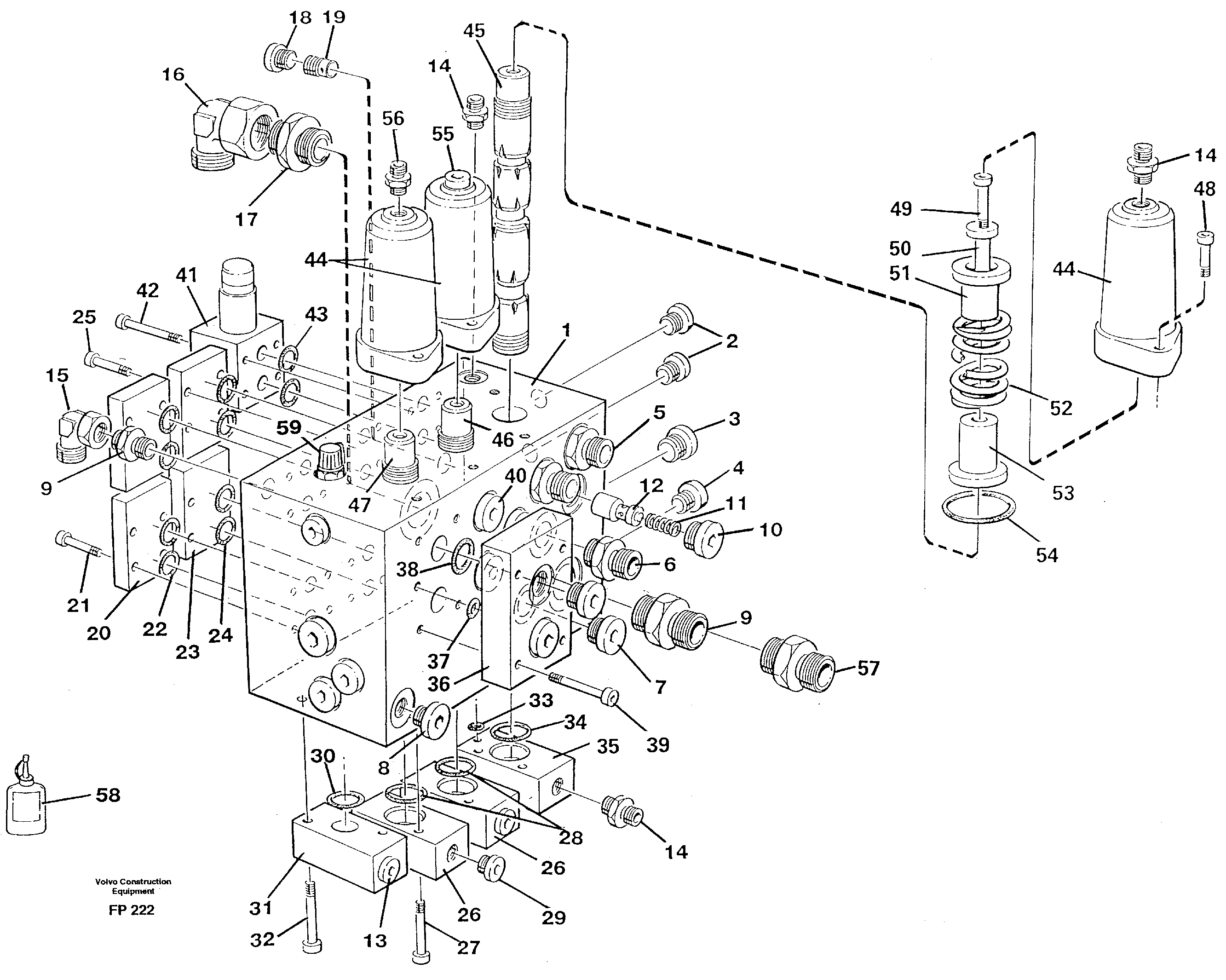
Запчасти Volvo EW150C 58857 Slew valve assembly EW150C ?KERMAN ?KERMAN EW150C SER NO - 688

Схема запчастей Volvo EW150C - 58857 Slew valve assembly EW150C ?KERMAN ?KERMAN EW150C SER NO - 688
FIT
1:1
100%

Артикул

Название

Примечание

Количество

1

VOE 14267438

Картер (корпус)

1шт.

10

VOE 14023409

Пробка (заглушка)

1шт.

10

VOE 14023409

Пробка (заглушка)

1шт.

11

VOE 14047743

Compression spring

1шт.

12

VOE 14236267

Peg

1шт.

13

VOE 14023407

Пробка (заглушка)

1шт.

13

VOE 14023407

Пробка (заглушка)

1шт.

14

VOE 14012413

14012413

1шт.

15

VOE 14012391

14012391

1шт.

16

VOE 14012396

14012396

1шт.

17

VOE 14012428

14012428

1шт.

18

VOE 14024363

Tube Plug

1шт.

19

VOE 14212793

Челночный клапан

1шт.

2

VOE 14023407

Пробка (заглушка)

1шт.

2

VOE 14023407

Пробка (заглушка)

1шт.

20

VOE 14048729

Seal flange

1шт.

20

VOE 14048729

Seal flange

1шт.

21

VOE 14023237

Болт

1шт.

21

VOE 14023237

Болт

1шт.

22

VOE 14021159

Кольцо уплотнительное (О-кольцо)

1шт.

22

VOE 14021159

Кольцо уплотнительное (О-кольцо)

1шт.

23

VOE 14048729

Seal flange

1шт.

23

VOE 14048729

Seal flange

1шт.

24

VOE 14021159

Кольцо уплотнительное (О-кольцо)

1шт.

24

VOE 14021159

Кольцо уплотнительное (О-кольцо)

1шт.

25

VOE 14023237

Болт

1шт.

25

VOE 14023237

Болт

1шт.

26

VOE 14236268

Крышка

1шт.

27

VOE 13959209

Болт

1шт.

27

VOE 13959209

Болт

1шт.

28

VOE 13949721

Кольцо уплотнительное (О-кольцо)

1шт.

28

VOE 13949721

Кольцо уплотнительное (О-кольцо)

1шт.

29

VOE 14023407

Пробка (заглушка)

1шт.

29

VOE 14023407

Пробка (заглушка)

1шт.

3

VOE 14023409

Пробка (заглушка)

1шт.

3

VOE 14023409

Пробка (заглушка)

1шт.

30

VOE 13949721

Кольцо уплотнительное (О-кольцо)

1шт.

30

VOE 13949721

Кольцо уплотнительное (О-кольцо)

1шт.

31

VOE 14250398

Крышка

1шт.

32

VOE 959242

Allen Hd Screw

1шт.

33

VOE 925053

Кольцо уплотнительное (О-кольцо)

1шт.

33

VOE 925053

Кольцо уплотнительное (О-кольцо)

1шт.

34

VOE 13949721

Кольцо уплотнительное (О-кольцо)

1шт.

34

VOE 13949721

Кольцо уплотнительное (О-кольцо)

1шт.

35

VOE 14251640

Крышка

1шт.

36

VOE 14250596

14250596

1шт.

37

VOE 925054

Кольцо уплотнительное (О-кольцо)

1шт.

37

VOE 925054

Кольцо уплотнительное (О-кольцо)

1шт.

38

VOE 925059

Кольцо уплотнительное (О-кольцо)

1шт.

38

VOE 925059

Кольцо уплотнительное (О-кольцо)

1шт.

39

VOE 941761

Винт шестигранник (торцевой ключ)

1шт.

4

VOE 14023408

Пробка (заглушка)

1шт.

40

VOE 14023409

Пробка (заглушка)

1шт.

40

VOE 14023409

Пробка (заглушка)

1шт.

41

VOE 14211238

Pressure limiting valve

1шт.

42

VOE 13941747

Болт

1шт.

42

VOE 13941747

Болт

1шт.

43

VOE 14021159

Кольцо уплотнительное (О-кольцо)

1шт.

43

VOE 14021159

Кольцо уплотнительное (О-кольцо)

1шт.

44

VOE 14236254

Крышка

1шт.

45

VOE 14341704

Valve slide

1шт.

46

VOE 14341705

Valve slide

1шт.

47

VOE 14341296

Valve slide

1шт.

48

VOE 959223

Allen Hd Screw

1шт.

49

VOE 14023240

Болт

1шт.

5

VOE 14012423

14012423

1шт.

50

VOE 14236273

Spacer sleeve

1шт.

51

VOE 14236271

Spring disc

1шт.

52

VOE 14236272

Compression spring

1шт.

53

VOE 14236271

Spring disc

1шт.

54

VOE 925091

Кольцо уплотнительное (О-кольцо)

1шт.

54

VOE 925091

Кольцо уплотнительное (О-кольцо)

1шт.

55

VOE 14023407

Пробка (заглушка)

1шт.

55

VOE 14023407

Пробка (заглушка)

1шт.

56

VOE 14012413

14012413

1шт.

57

VOE 14012428

14012428

1шт.

58

VOE 14024293

Locking fluid

1шт.

58

VOE 14024293

Locking fluid

1шт.

59

VOE 14212798

Testing nipple

1шт.

6

VOE 14012423

14012423

1шт.

7

VOE 14023409

Пробка (заглушка)

1шт.

7

VOE 14023409

Пробка (заглушка)

1шт.

8

VOE 14023409

Пробка (заглушка)

1шт.

8

VOE 14023409

Пробка (заглушка)

1шт.

9

VOE 14012428

14012428

1шт.

Выбрано товаров: 85