Запчасти Volvo EW150C 26738 Hatch, engine EW150C SER NO 689-

Схема запчастей Volvo EW150C - 26738 Hatch, engine EW150C SER NO 689-
FIT
1:1
100%

Артикул

Название

Примечание

Количество

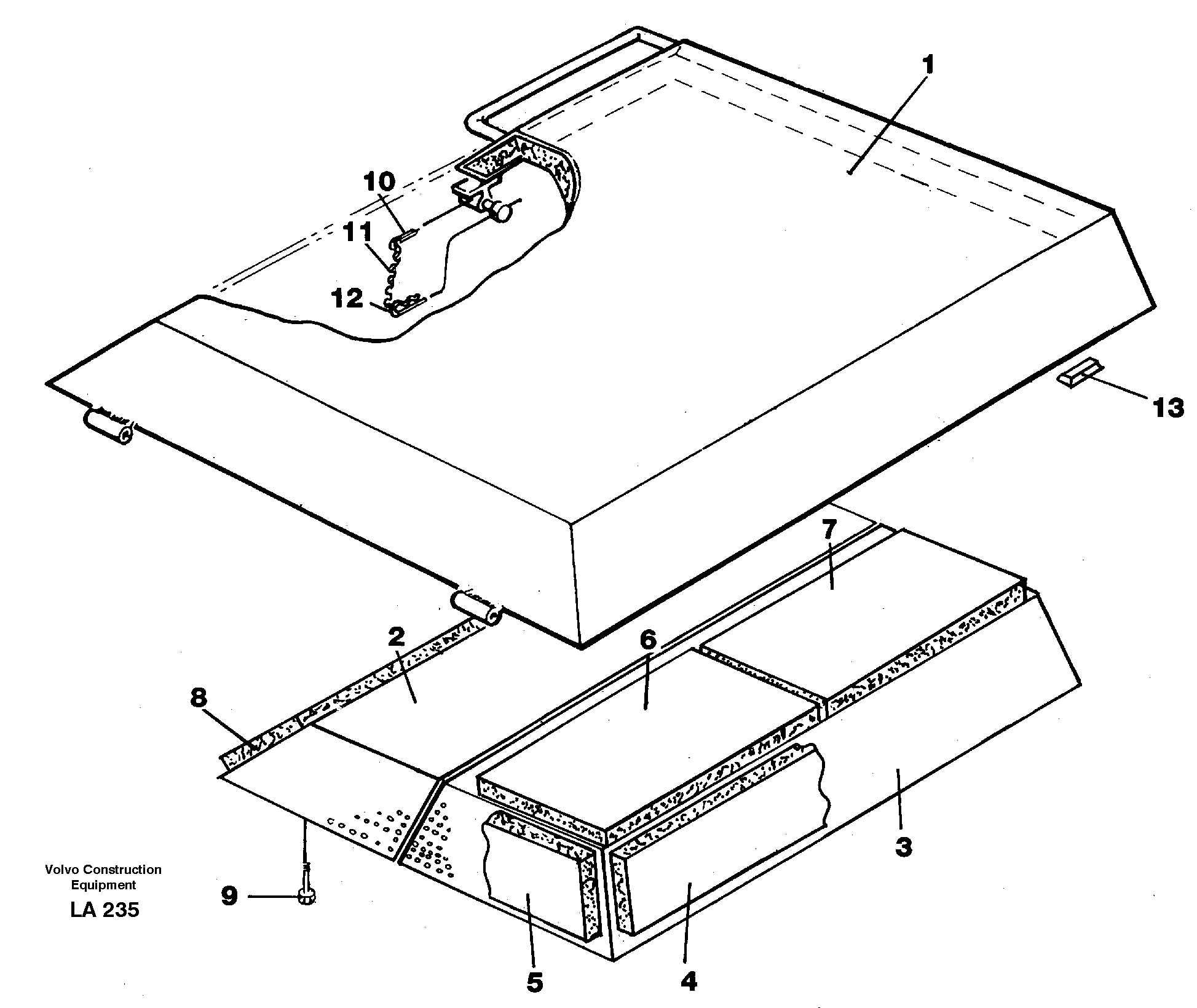
VOE 14258854

Hatch

1шт.

1

VOE 14258854

Hatch

1шт.

10

VOE 13907851

Cotter Pin

1шт.

11

VOE 14040521

Chain

1шт.

11

VOE 14040521

Chain

1шт.

12

VOE 14042729

Spring Pin

1шт.

12

VOE 14042729

Spring Pin

1шт.

13

VOE 14213014

Rubber Moulding

L=60mm

1шт.

13

VOE 14213014

Rubber Moulding

L=60mm

1шт.

2

VOE 14258848

Шайба

1шт.

3

VOE 14258849

Шайба

1шт.

4

VOE 14285501

Insulation

1шт.

5

VOE 14285503

Insulation

1шт.

6

VOE 14285505

Insulation

1шт.

7

VOE 14285504

Insulation

1шт.

8

VOE 14285502

Insulation

1шт.

9

VOE 14211258

Болт

1шт.

9

VOE 14211258

Болт

1шт.

Выбрано товаров: 18