Запчасти Volvo EW150C 99737 Гидробак EW150C SER NO 689-

Схема запчастей Volvo EW150C - 99737 Гидробак EW150C SER NO 689-
FIT
1:1
100%

Артикул

Название

Примечание

Количество

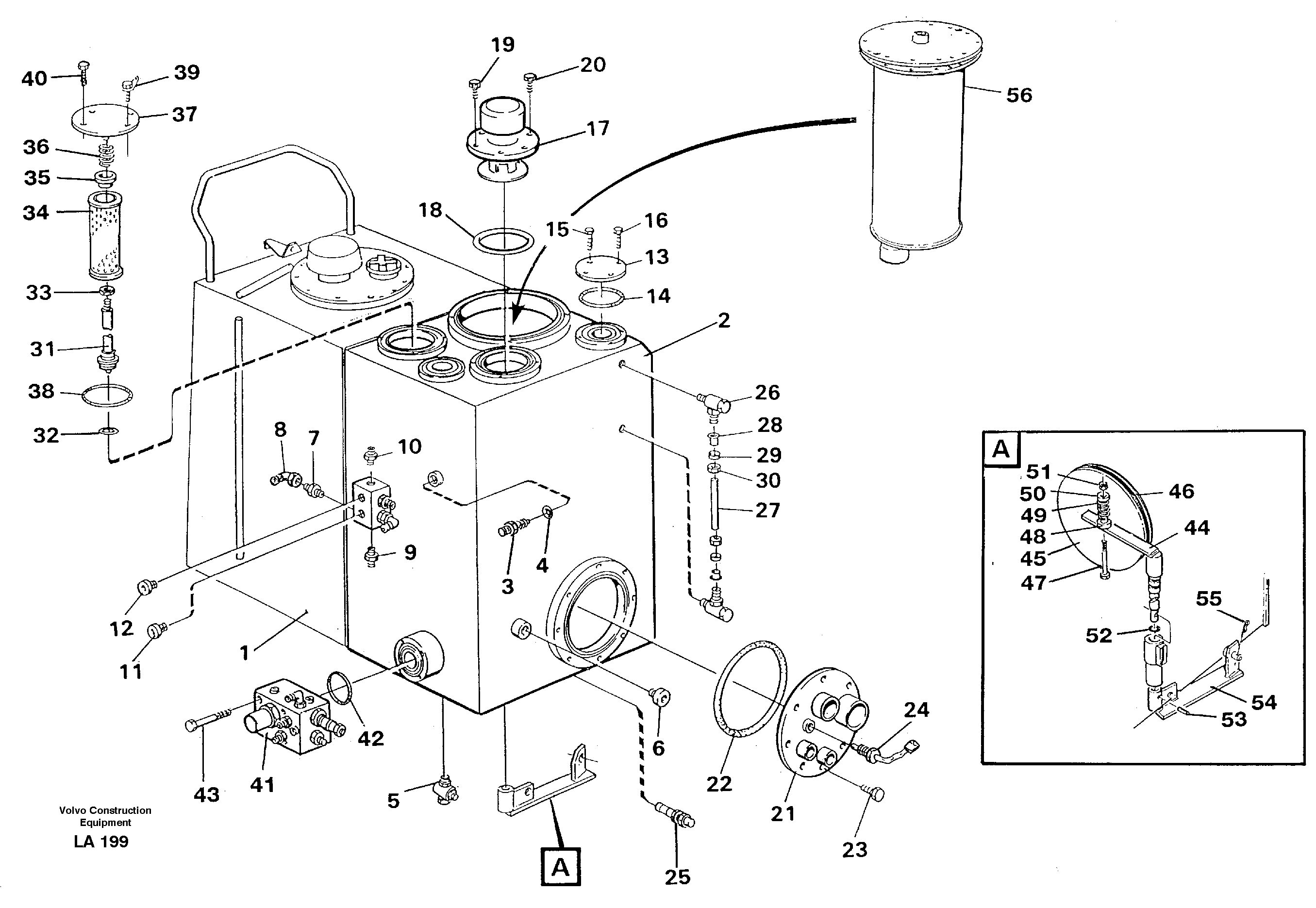
10

VOE 957030

Nipple

1шт.

10

VOE 957030

Nipple

1шт.

11

VOE 14023409

Пробка (заглушка)

1шт.

11

VOE 14023409

Пробка (заглушка)

1шт.

12

VOE 14023407

Пробка (заглушка)

1шт.

12

VOE 14023407

Пробка (заглушка)

1шт.

13

VOE 14043511

Крышка

1шт.

14

VOE 977016

Кольцо уплотнительное (О-кольцо)

1шт.

15

VOE 970945

Винт шестигранник

1шт.

15

VOE 970945

Винт шестигранник

1шт.

16

VOE 14046599

Болт

1шт.

17

VOE 14341682

Крышка

1шт.

18

VOE 14012329

Кольцо уплотнительное (О-кольцо)

1шт.

18

VOE 14012329

Кольцо уплотнительное (О-кольцо)

1шт.

19

VOE 14048873

Болт

1шт.

20

VOE 13955295

Болт

1шт.

20

VOE 13955295

Болт

1шт.

21

VOE 14267777

Фланец

1шт.

22

VOE 925280

Кольцо уплотнительное (О-кольцо)

1шт.

22

VOE 925280

Кольцо уплотнительное (О-кольцо)

1шт.

23

VOE 13955295

Болт

1шт.

23

VOE 13955295

Болт

1шт.

24

VOE 11039193

Temperature sensor

1шт.

24

VOE 11039193

Temperature sensor

1шт.

25

VOE 14263479

Induction sensor

1шт.

26

VOE 14026430

Banjo fitting

1шт.

27

VOE 14244817

Lvl Ind Pipe

1шт.

28

VOE 14012507

Insert pipe

1шт.

29

VOE 956968

Ferrule

1шт.

29

VOE 956968

Ferrule

1шт.

3

VOE 14263367

Level guard

1шт.

3

VOE 14263367

Level guard

1шт.

30

VOE 14012446

Гайка

1шт.

31

VOE 14250801

Filter retainer

1шт.

32

VOE 949658

Кольцо уплотнительное (О-кольцо)

1шт.

32

VOE 949658

Кольцо уплотнительное (О-кольцо)

1шт.

33

VOE 13971089

Lock nut

1шт.

33

VOE 13971089

Lock nut

1шт.

34

VOE 14268262

Фильтр топливный

1шт.

34

VOE 14268262

Фильтр топливный

1шт.

35

VOE 14237154

Guide

1шт.

36

VOE 14044696

Compression spring

1шт.

36

VOE 14044696

Compression spring

1шт.

37

VOE 14251036

Крышка

1шт.

38

VOE 14012329

Кольцо уплотнительное (О-кольцо)

1шт.

38

VOE 14012329

Кольцо уплотнительное (О-кольцо)

1шт.

39

VOE 14048873

Болт

1шт.

4

VOE 925058

Кольцо уплотнительное (О-кольцо)

1шт.

4

VOE 925058

Кольцо уплотнительное (О-кольцо)

1шт.

40

VOE 13955295

Болт

1шт.

40

VOE 13955295

Болт

1шт.

42

VOE 925073

Кольцо уплотнительное (О-кольцо)

1шт.

42

VOE 925073

Кольцо уплотнительное (О-кольцо)

1шт.

43

VOE 14023253

Болт

1шт.

43

VOE 14023253

Болт

1шт.

44

VOE 14251035

14251035

1шт.

45

VOE 14251034

Hatch

1шт.

46

VOE 14214622

V-ring

1шт.

47

VOE 14023314

Болт

1шт.

48

VOE 14236495

Вставка

1шт.

49

VOE 14054584

Compression spring

1шт.

5

VOE 11000127

Drain cock

1шт.

5

VOE 11000127

Drain cock

1шт.

50

VOE 11055612

Шайба

1шт.

50

VOE 11055612

Шайба

1шт.

51

VOE 955782

Hexagon nut

1шт.

51

VOE 955782

Hexagon nut

1шт.

52

VOE 925059

Кольцо уплотнительное (О-кольцо)

1шт.

52

VOE 925059

Кольцо уплотнительное (О-кольцо)

1шт.

53

VOE 14013979

Spring pin

1шт.

54

VOE 14251253

14251253

1шт.

55

VOE 14042729

Spring pin

1шт.

55

VOE 14042729

Spring pin

1шт.

6

VOE 14023409

Пробка (заглушка)

1шт.

6

VOE 14023409

Пробка (заглушка)

1шт.

7

VOE 14012423

14012423

1шт.

8

VOE 14012395

14012395

1шт.

9

VOE 14012413

14012413

1шт.

Выбрано товаров: 78