Запчасти Volvo EW150C 37960 Slope/grab bucket equipment, boom EW150C SER NO 689-

Схема запчастей Volvo EW150C - 37960 Slope/grab bucket equipment, boom EW150C SER NO 689-
FIT
1:1
100%

Артикул

Название

Примечание

Количество

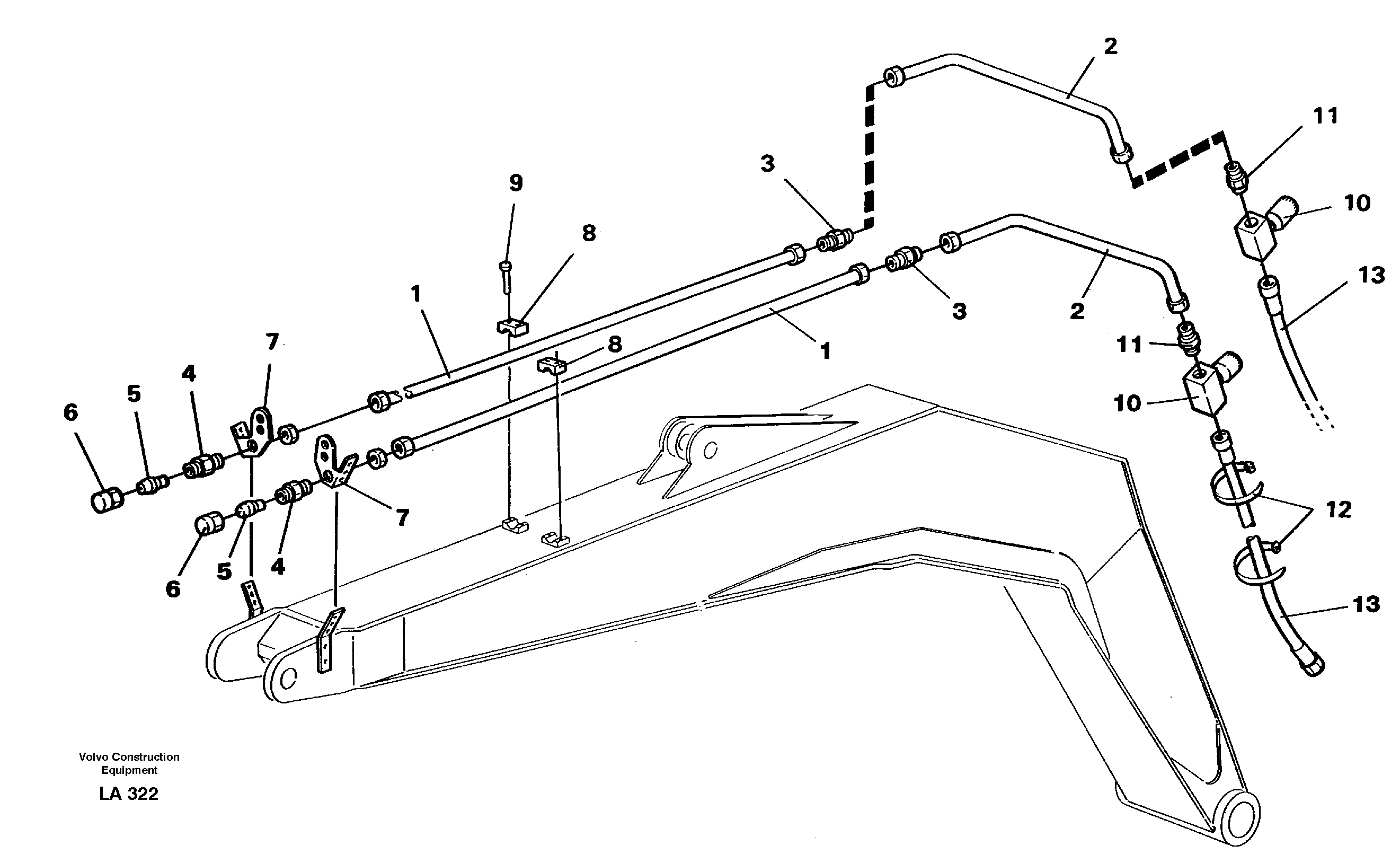
VOE 14258769

S Bkt/grab Atch

1шт.

1

VOE 14251917

Tube Assembly

1шт.

10

VOE 14025319

Restricting Reverse Valve

1шт.

11

VOE 14012423

14012423

1шт.

12

VOE 4881440

Cable tie

1шт.

12

VOE 4881440

Cable tie

1шт.

13

VOE 14245633

Hydraulic hose

1шт.

2

VOE 14257138

Tube Assembly

1шт.

3

VOE 14012404

14012404

1шт.

3

VOE 14012404

Фиттинг

1шт.

4

VOE 14012472

14012472

1шт.

5

VOE 13964090

Closure

1шт.

5

VOE 13964090

Closure

1шт.

6

VOE 14012452

Гайка

1шт.

6

VOE 14012452

Гайка

1шт.

7

VOE 14252807

Attachment

1шт.

8

VOE 14240722

Tube Clamp

1шт.

9

VOE 970952

Винт шестигранник

1шт.

9

VOE 970952

Винт шестигранник

1шт.

Выбрано товаров: 19