Запчасти Volvo EW150C 46086 Operating valve, hammer/shears EW150C SER NO 689-

Схема запчастей Volvo EW150C - 46086 Operating valve, hammer/shears EW150C SER NO 689-
FIT
1:1
100%

Артикул

Название

Примечание

Количество

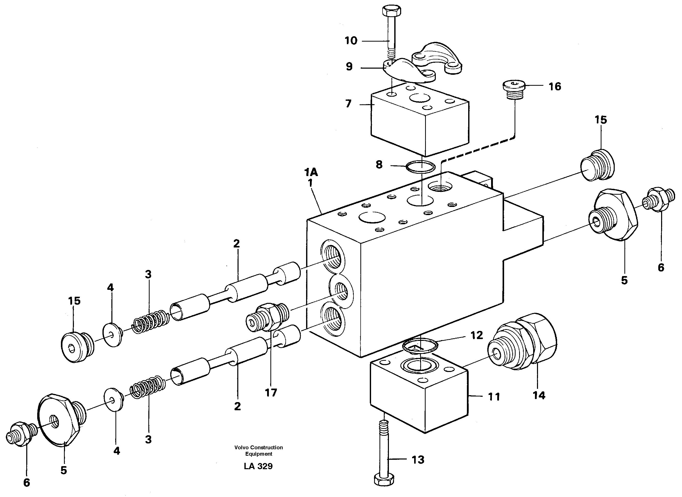
VOE 14253250

Operating valve

1шт.

1

VOE 14252940

Valve housing

1шт.

10

VOE 13970982

Винт шестигранник

1шт.

10

VOE 13970982

Винт шестигранник

1шт.

11

VOE 14282242

Фланец

1шт.

12

VOE 925064

Кольцо уплотнительное (О-кольцо)

1шт.

12

VOE 925064

Кольцо уплотнительное (О-кольцо)

1шт.

13

VOE 970980

Винт шестигранник

1шт.

13

VOE 970980

Винт шестигранник

1шт.

14

VOE 14042775

14042775

1шт.

15

VOE 14023411

Tube Plug

1шт.

16

VOE 14023409

Пробка (заглушка)

1шт.

16

VOE 14023409

Пробка (заглушка)

1шт.

17

VOE 14012428

14012428

1шт.

1A

VOE 14212578

Sealing plug

1шт.

1A

VOE 14212578

Sealing plug

1шт.

2

VOE 14253248

Slide

1шт.

3

VOE 14214989

Compression spring

1шт.

4

VOE 14254547

Spring disc

1шт.

5

VOE 14236805

Rdc Bushing

1шт.

6

VOE 14012413

14012413

1шт.

7

VOE 14257551

Фланец

1шт.

7

VOE 14257551

Фланец

1шт.

8

VOE 14215715

Кольцо уплотнительное

1шт.

8

VOE 14215715

Кольцо уплотнительное

1шт.

9

VOE 14048189

Flange half

1шт.

9

VOE 14048189

Flange half

1шт.

Выбрано товаров: 27