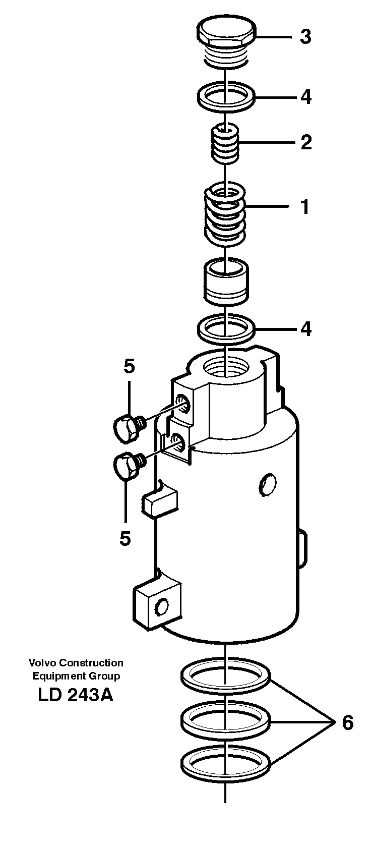
Запчасти Volvo EW160 27766 Axle locking cylinder EW160 SER NO 1001-1912

Схема запчастей Volvo EW160 - 27766 Axle locking cylinder EW160 SER NO 1001-1912
FIT
1:1
100%

Артикул

Название

Примечание

Количество

VOE 14372220

цилиндр

1шт.

1

VOE 11706161

Пружина

1шт.

2

VOE 11706162

Пружина

1шт.

3

VOE 11706160

Пробка (заглушка)

1шт.

4

VOE 11706163

Sealing Kit

1шт.

5

VOE 11706165

Пробка (заглушка)

1шт.

6

VOE 11706164

Sealing Kit

1шт.

Выбрано товаров: 7