Запчасти Volvo EW160B 26945 Adjustable steering column EW160B

Схема запчастей Volvo EW160B - 26945 Adjustable steering column EW160B
FIT
1:1
100%

Артикул

Название

Примечание

Количество

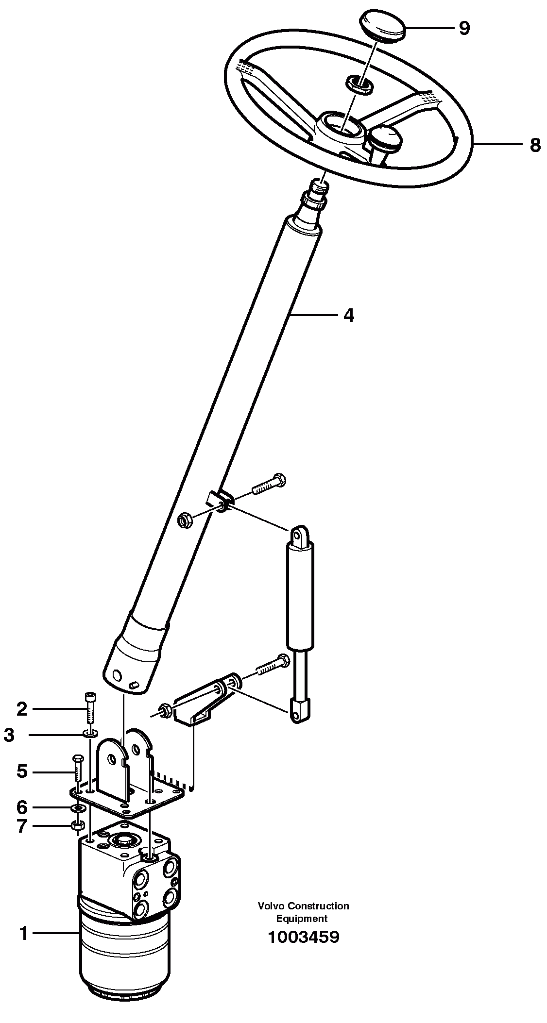
VOE 11200562

Steering wheel

1шт.

VOE 11200562

Steering wheel

1шт.

2

VOE 959240

Allen Hd Screw

1шт.

3

VOE 13930842

Шайба

1шт.

3

VOE 13930842

Шайба

1шт.

5

VOE 983252

Винт шестигранник

1шт.

5

VOE 983252

Винт шестигранник

1шт.

6

VOE 976945

Шайба

1шт.

6

VOE 976945

Шайба

1шт.

7

VOE 13971068

Hexagon nut

1шт.

7

VOE 13971068

Hexagon nut

1шт.

8

VOE 14371039

Steering wheel

1шт.

8

VOE 14371039

Steering wheel

1шт.

9

VOE 14371493

Cap

1шт.

9

VOE 14371493

Cap

1шт.

Выбрано товаров: 15