Запчасти Volvo EW170 & EW180 SER NO 3031- 26051 Коромысло клапанов

Схема запчастей Volvo EW170 & EW180 SER NO 3031- - 26051 Коромысло клапанов
FIT
1:1
100%

Артикул

Название

Примечание

Количество

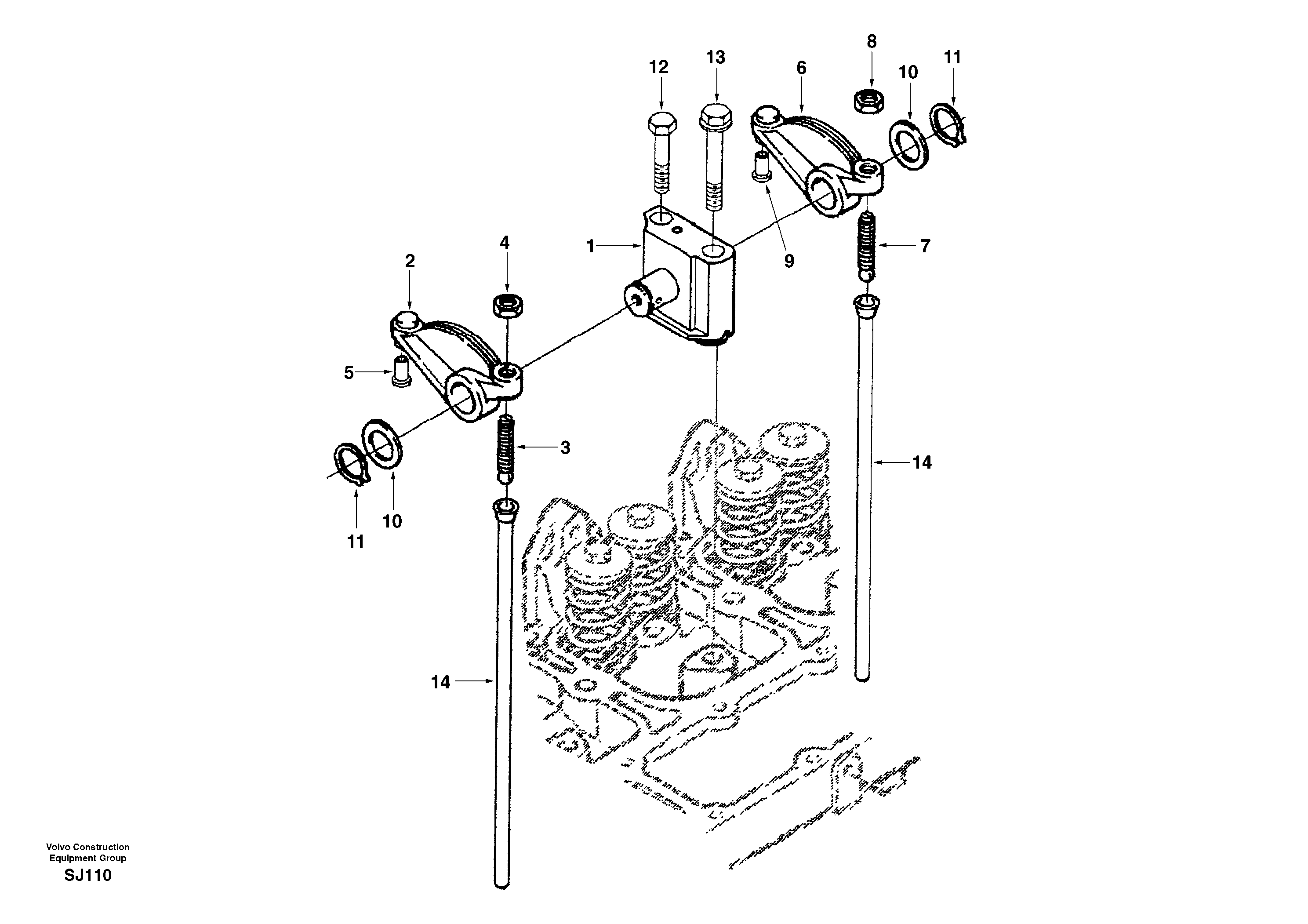
1

SA 3922488

Опора

1шт.

10

SA 3900245

Шайба

1шт.

11

SA 3900242

Кольцо

1шт.

12

SA 3901221

Болт

1шт.

13

SA 3920781

Болт

1шт.

14

SA 3284377

Bar

1шт.

2

SA 3910811

Коромысло клапанов

INLET

1шт.

3

SA 3900706

Болт

1шт.

4

SA 3927692

Гайка

1шт.

5

SA 3900705

Insert

1шт.

6

SA 3910810

Коромысло клапанов

EXHAUST

1шт.

7

SA 3900706

Болт

1шт.

8

SA 3927692

Гайка

1шт.

9

SA 3900705

Insert

1шт.

Выбрано товаров: 14