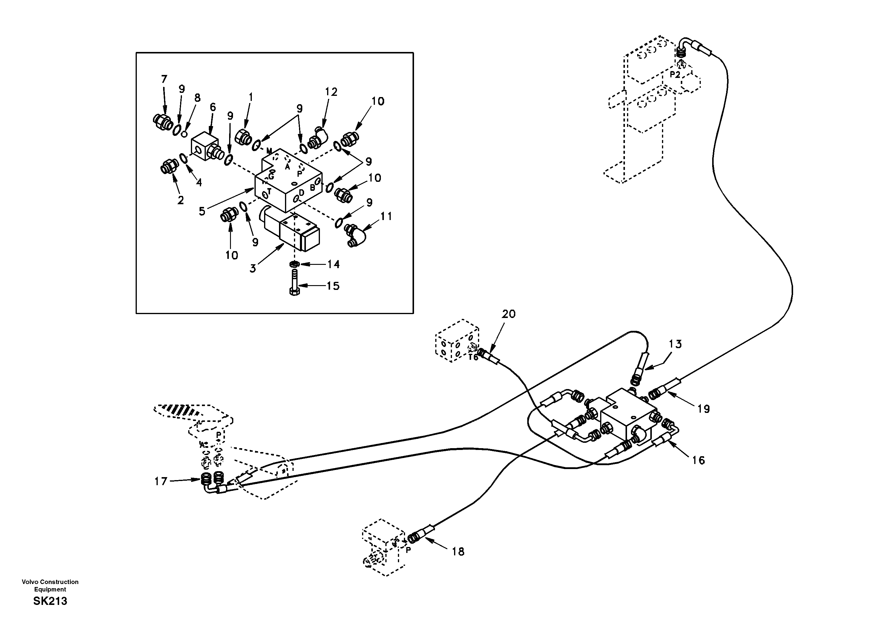
Запчасти Volvo EW170 9652 Hydraulic system, upper brake line -cruise control EW170 SER NO 3031-

Схема запчастей Volvo EW170 - 9652 Hydraulic system, upper brake line -cruise control EW170 SER NO 3031-
FIT
1:1
100%

Артикул

Название

Примечание

Количество

1

SA 9415-11021

Пробка (заглушка)

1шт.

10

SA 9412-11020

Соединитель

1шт.

11

SA 9413-11010

Elbow

1шт.

12

SA 9414-11010

Elbow

1шт.

13

SA 9453-02231

Hose assembly

1шт.

14

SA 9213-10000

Шайба пружинная

1шт.

15

VOE 992506

Винт шестигранник

1шт.

15

VOE 992506

Винт шестигранник

1шт.

16

SA 9455-02210

Шланг

1шт.

17

SA 9453-02229

Hose assembly

1шт.

18

SA 9453-02217

Hose assembly

1шт.

19

SA 9453-02226

Hose assembly

1шт.

2

SA 9412-11130

Соединитель

1шт.

20

SA 9453-02206

Hose assembly

1шт.

3

SA 1048-13411

Встроенный клапан в сборе

1шт.

4

SA 9511-12014

Кольцо уплотнительное (О-кольцо)

1шт.

5

SA 1135-00471

Корпус клапана

1шт.

6

SA 9411-93492

Tee

1шт.

7

SA 9411-92462

Соединитель

1шт.

8

SA 9676-51600

Ball

1шт.

9

SA 9511-12011

Кольцо уплотнительное (О-кольцо)

1шт.

Выбрано товаров: 21