Запчасти Volvo EW170 21293 Heating line EW170 & EW180 SER NO 3031-

Схема запчастей Volvo EW170 - 21293 Heating line EW170 & EW180 SER NO 3031-
FIT
1:1
100%

Артикул

Название

Примечание

Количество

VOE 14511415

Зажим

SER NO 3187-

1шт.

VOE 14511415

Зажим

SER NO 3187-

1шт.

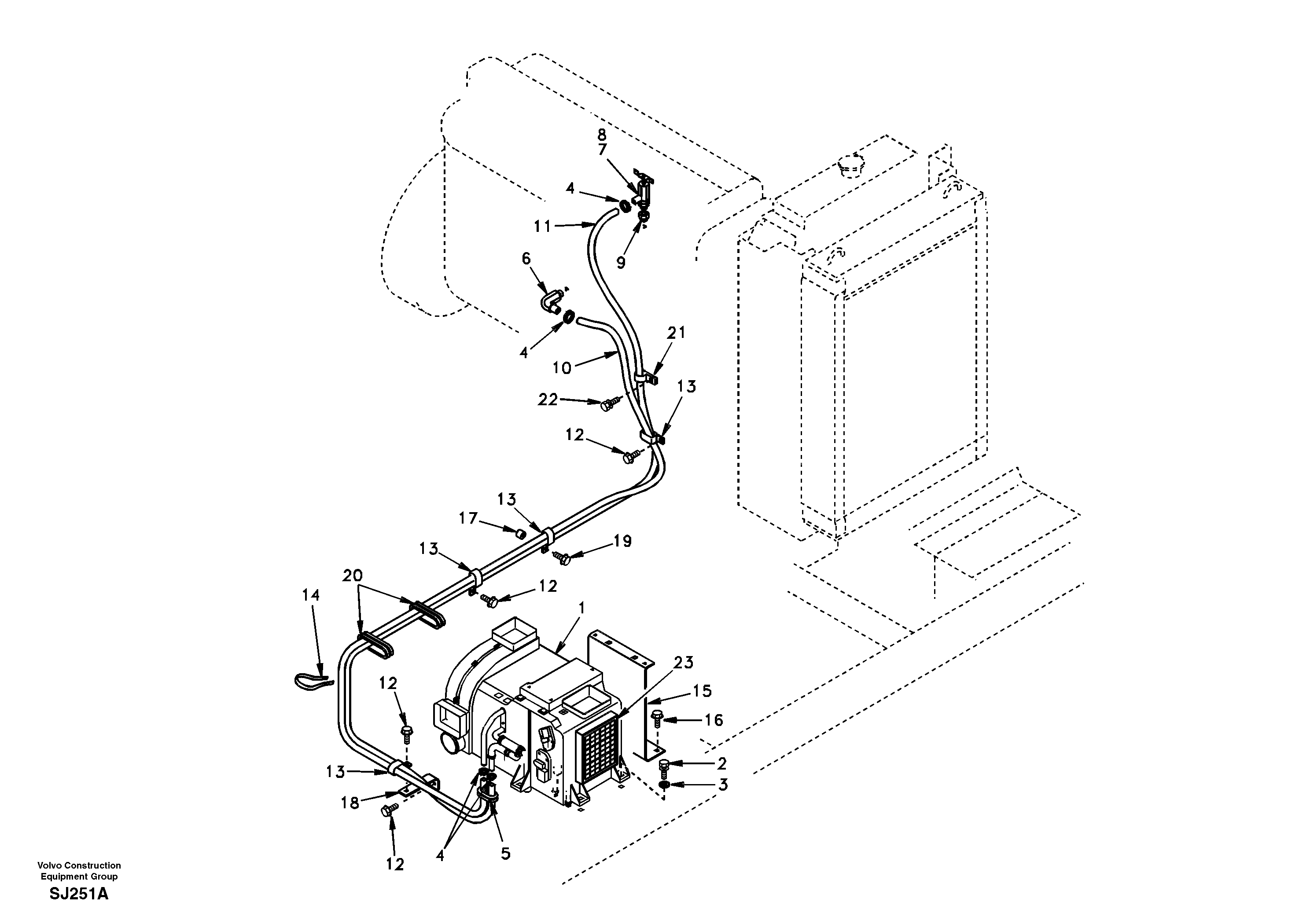
1

SA 1125-01221

Heater

1шт.

10

SA 9961-23321

Шланг

1шт.

11

SA 9961-23326

Шланг

1шт.

12

VOE 946471

Flange screw

1шт.

12

VOE 946471

Flange screw

1шт.

13

SA 9316-02402

Скоба (хомут)

1шт.

14

SA 9314-02300

Strip Clamp

1шт.

15

SA 1125-01252

Пластина

1шт.

16

VOE 946441

Flange screw

1шт.

16

VOE 946441

Flange screw

1шт.

17

SA 2022-02920

Вставка

1шт.

18

SA 1125-00650

Кронштейн

1шт.

19

SA 9041-21009

Болт

1шт.

2

VOE 946472

Flange screw

1шт.

2

VOE 946472

Flange screw

1шт.

20

VOE 14529275

Уплотнительная втулка

1шт.

20

VOE 14529275

Уплотнительная втулка

1шт.

21

SA 9315-02203

Скоба (хомут)

1шт.

22

VOE 946440

Flange screw

1шт.

22

VOE 946440

Flange screw

1шт.

23

SA 1125-03000

Фильтр топливный

1шт.

3

SA 9285-16000

Шайба

1шт.

4

SA 9313-00033

Зажим

SER NO 3001-3186

1шт.

5

SA 1025-03171

Уплотнительная втулка

1шт.

6

SA 9411-95650

Elbow

1шт.

7

SA 1024-00390

Клапан

1шт.

7

SA 1024-00390

Клапан

1шт.

8

SA 77359018

Переходник масляного фильтра

1шт.

9

SA 9411-95640

Соединитель

1шт.

Выбрано товаров: 31