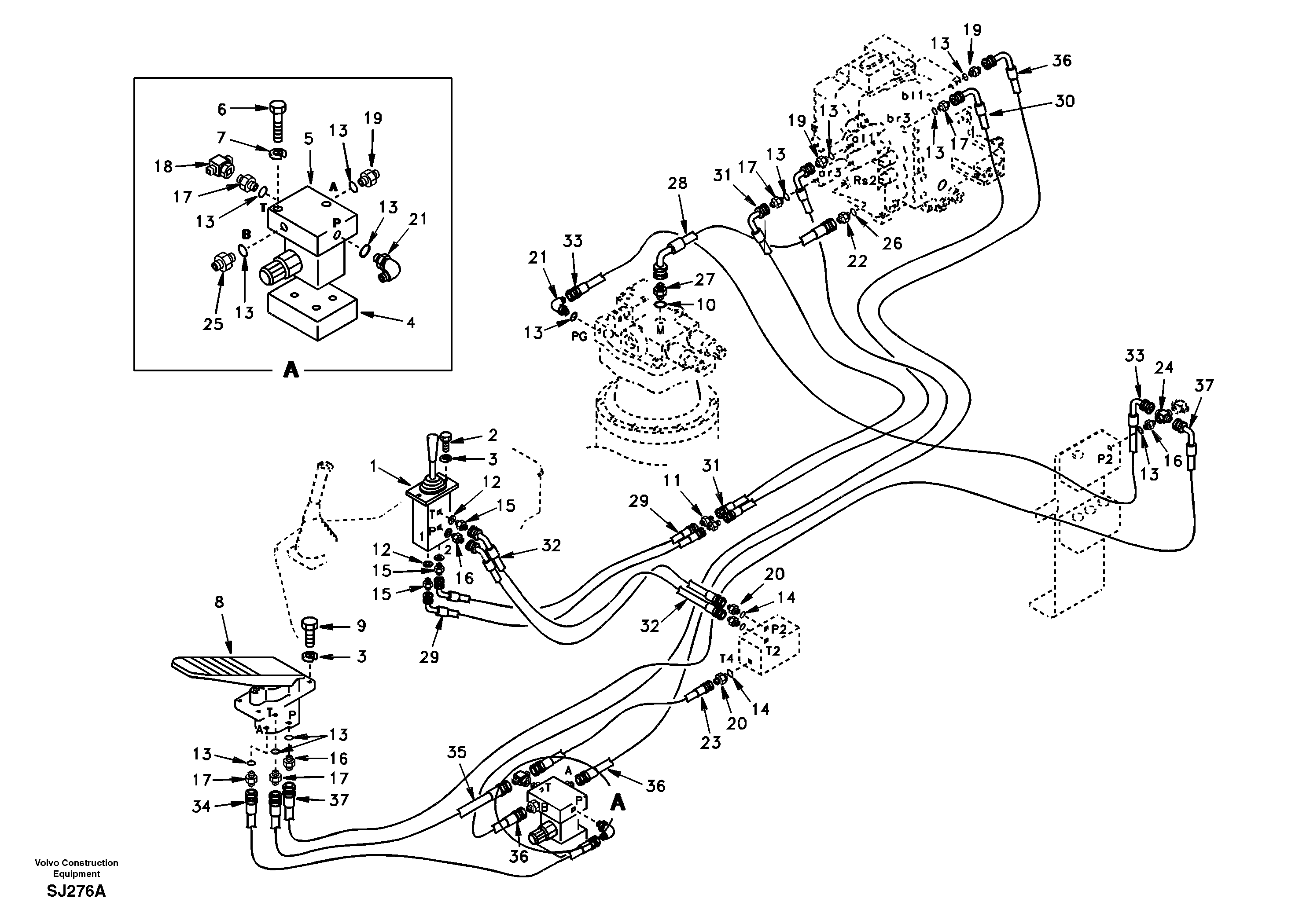
Запчасти Volvo EW170 48592 Servo system, control valve to remote control valve pedal EW170 & EW180 SER NO 3031-

Схема запчастей Volvo EW170 - 48592 Servo system, control valve to remote control valve pedal EW170 & EW180 SER NO 3031-
FIT
1:1
100%

Артикул

Название

Примечание

Количество

SA 9451-02218

Hose assembly

SER NO 3084-

1шт.

SA 9451-02218

Hose assembly

SER NO 3084-

1шт.

SA 9452-02219

Шланг

SER NO 3084-

1шт.

SA 9453-02240

Hose assembly

SER NO 3084-

1шт.

SA 9453-02235

Hose assembly

SER NO 3084-

1шт.

SA 9453-02217

Hose assembly

SER NO 3084-

1шт.

SA 9453-02237

Hose assembly

SER NO 3084-

1шт.

SA 9453-02218

Hose assembly

SER NO 3084-

1шт.

SA 9453-02218

Hose assembly

SER NO 3084-

1шт.

SA 9453-03260

Шланг

SER NO 3084-

1шт.

SA 9453-02216

Шланг

SER NO 3084-

1шт.

SA 9453-02216

Hose

SER NO 3084-

1шт.

SA 9455-02248

Шланг

SER NO 3084-

1шт.

1

SA 1040-74450

Rmt Cont Valve

BLADE

1шт.

10

SA 9511-12024

Кольцо уплотнительное (О-кольцо)

1шт.

11

SA 9416-11021

Соединитель

1шт.

11

SA 9416-11021

Соединитель

1шт.

12

SA 9426-10020

Прокладка

1шт.

13

SA 9511-12011

Кольцо уплотнительное (О-кольцо)

1шт.

14

SA 9511-12014

Кольцо уплотнительное (О-кольцо)

1шт.

15

SA 9412-12020

Соединитель

1шт.

16

SA 1048-10540

Соединитель

1шт.

17

SA 9412-11020

Соединитель

1шт.

18

SA 9411-92180

Tee

1шт.

19

SA 9412-11120

Соединитель

1шт.

2

SA 9011-10805

Болт

1шт.

20

SA 9412-11130

Соединитель

1шт.

21

SA 9413-11010

Elbow

1шт.

22

SA 9412-11260

Соединитель

1шт.

23

SA 9451-02318

Шланг

SER NO 3001-3083

1шт.

24

SA 9411-91960

Tee

1шт.

25

SA 9414-11160

Elbow

1шт.

26

SA 9511-12029

Кольцо уплотнительное (О-кольцо)

1шт.

27

SA 9412-11050

Соединитель

1шт.

28

SA 9453-05210

Hose assembly

1шт.

28

SA 9453-05210

Hose assembly

1шт.

29

SA 9452-02319

Шланг

SER NO 3001-3083

1шт.

3

SA 9213-08000

Шайба

SER NO 3001-3430

1шт.

30

SA 9453-02340

Шланг

SER NO 3001-3083

1шт.

31

SA 9453-02335

Hose assembly

SER NO 3001-3083

1шт.

31

SA 9453-02335

Шланг

SER NO 3001-3083

1шт.

32

SA 9453-02317

Шланг

SER NO 3001-3083

1шт.

33

SA 9453-02337

Hose assembly

SER NO 3001-3083

1шт.

33

SA 9453-02337

Шланг

SER NO 3001-3083

1шт.

34

SA 9453-02318

Hose assembly

SER NO 3001-3083

1шт.

34

SA 9453-02318

Шланг

SER NO 3001-3083

1шт.

35

SA 9453-02316

Hose assembly

SER NO 3001-3083

1шт.

35

SA 9453-02316

Шланг

SER NO 3001-3083

1шт.

36

SA 9453-03360

Шланг

SER NO 3001-3083

1шт.

37

SA 9455-02348

Шланг

SER NO 3001-3083

1шт.

4

SA 1148-01600

Пластина

1шт.

5

SA 1040-72252

Встроенный клапан в сборе

1шт.

6

SA 9011-20610

Болт

1шт.

7

VOE 955919

Шайба пружинная

1шт.

7

VOE 955919

Шайба пружинная

1шт.

8

SA 7260-00141

Rmt Cont Valve

SINGLE PEDAL

1шт.

9

VOE 946671

Flange screw

1шт.

9

VOE 946671

Flange screw

1шт.

Выбрано товаров: 58