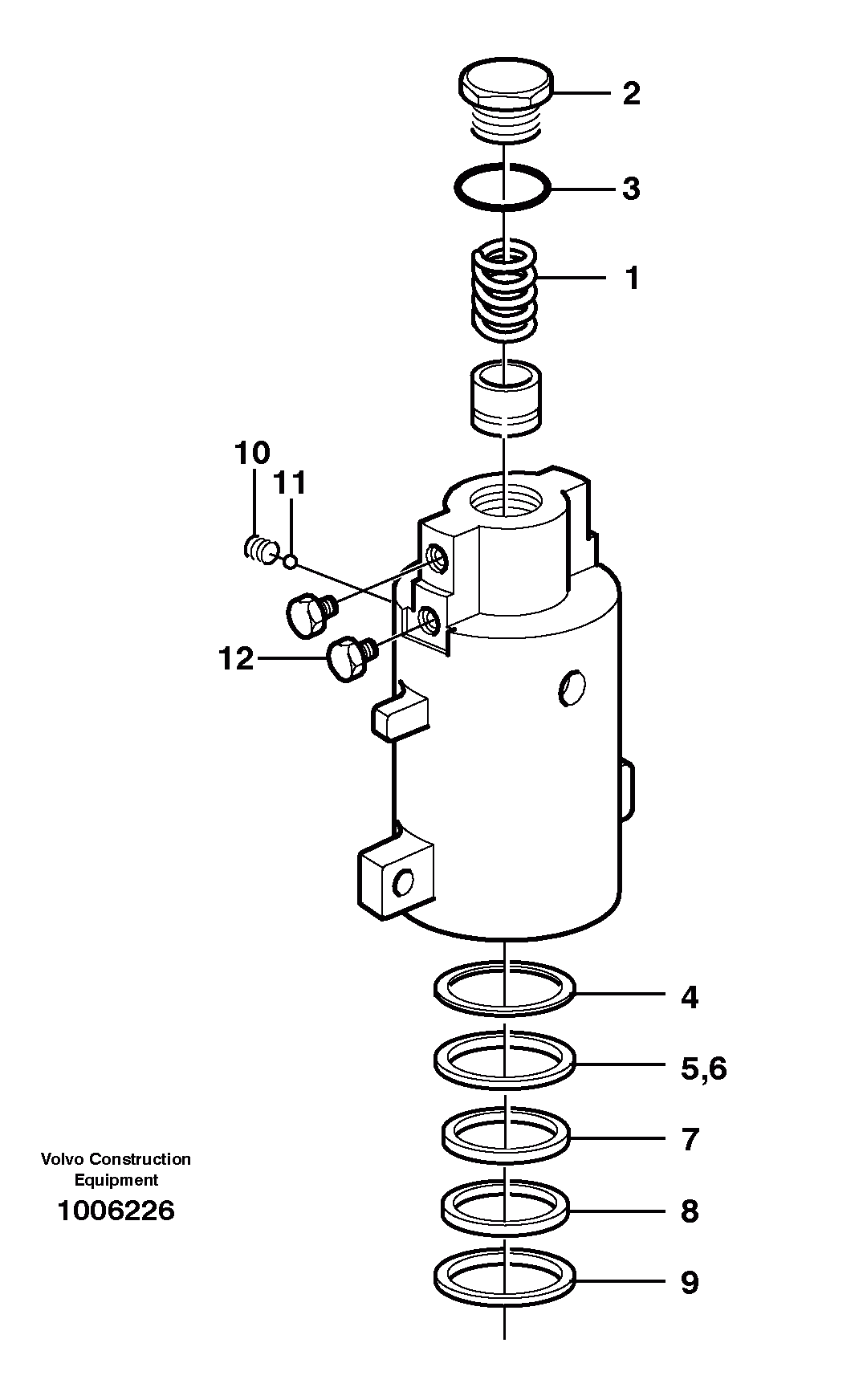
Запчасти Volvo EW180B 3766 Axle locking cylinder EW180B

Схема запчастей Volvo EW180B - 3766 Axle locking cylinder EW180B
FIT
1:1
100%

Артикул

Название

Примечание

Количество

VOE 14521939

Sealing Kit

1шт.

VOE 14375088

цилиндр

1шт.

1

SA 7282-11600

Пружина

1шт.

10

SA 7281-11070

Дефлектор

1шт.

11

SA 9676-14000

Ball

1шт.

12

SA 6046-11370

Пробка (заглушка)

1шт.

2

SA 7282-11610

Пробка (заглушка)

1шт.

3

SA 9511-12036

Кольцо уплотнительное (О-кольцо)

1шт.

4

SA 1146-08100

Sealing

1шт.

4

SA 1146-08100

Сальник

1шт.

5

SA 9563-20900

Сальник

1шт.

5

SA 9563-20900

Sealing

1шт.

6

SA 9567-20900

Кольцо

1шт.

6

SA 9567-20900

Кольцо

1шт.

7

SA 2046-02870

Кольцо

1шт.

7

SA 2046-02870

Кольцо изнашиваемое

1шт.

8

SA 9564-20900

Сальник

1шт.

8

SA 9564-20900

Sealing

1шт.

9

SA 9556-09000

Кольцо

1шт.

9

SA 9556-09000

Retaining ring

1шт.

Выбрано товаров: 20