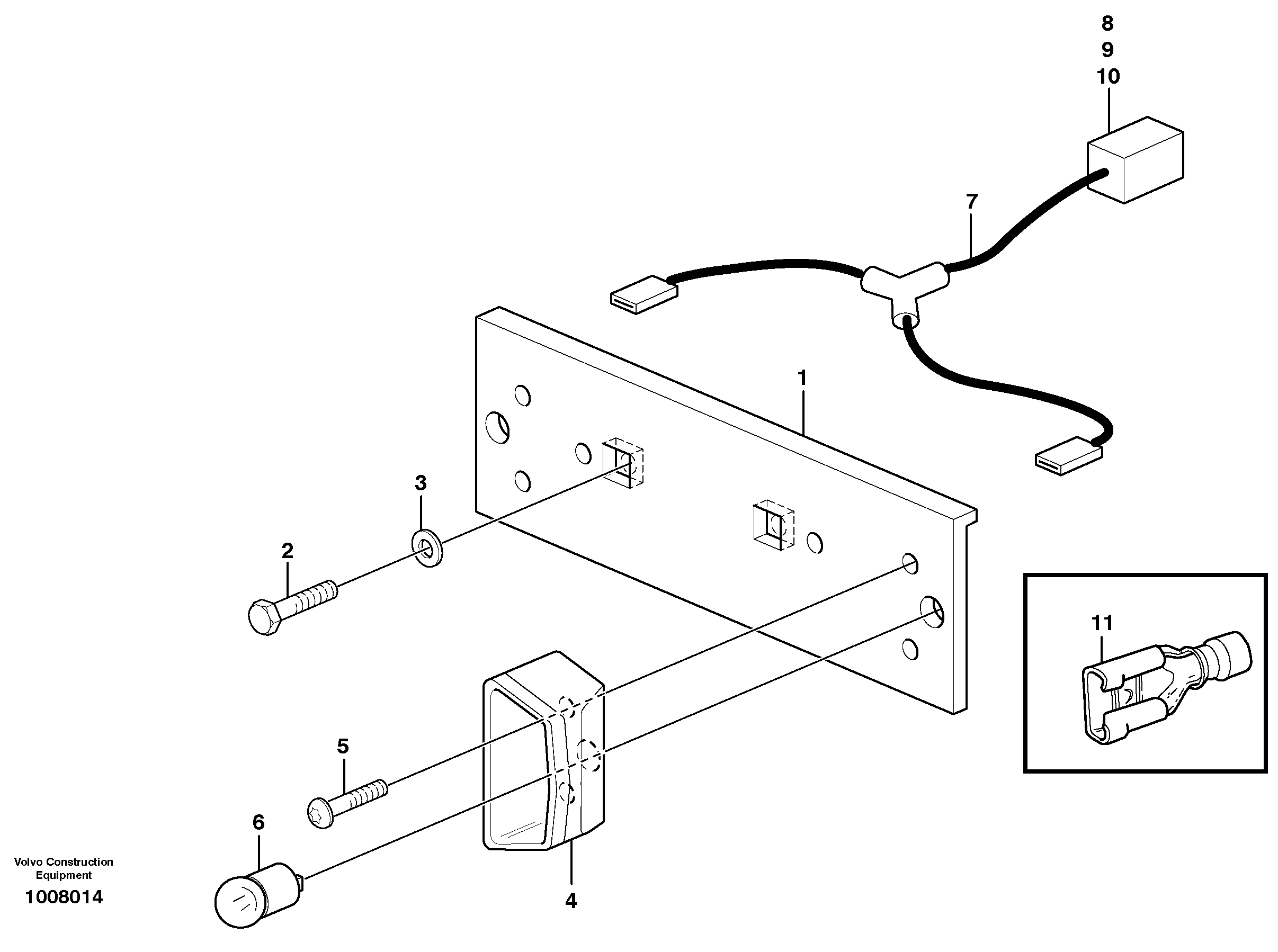
Запчасти Volvo EW180B 43990 Sign plate EW180B

Схема запчастей Volvo EW180B - 43990 Sign plate EW180B
FIT
1:1
100%

Артикул

Название

Примечание

Количество

1

VOE 14375198

Number plate retainer

1шт.

10

VOE 14370860

Cable terminal

1шт.

10

VOE 14370860

Cable terminal

1шт.

11

VOE 940341

Cable terminal

1шт.

11

VOE 940341

Cable terminal

1шт.

2

VOE 13970944

Винт шестигранник

1шт.

2

VOE 13970944

Винт шестигранник

1шт.

3

VOE 960148

Шайба

1шт.

3

VOE 960148

Шайба

1шт.

4

VOE 11147756

Sign lamp

1шт.

4

VOE 11147756

Sign lamp

1шт.

5

VOE 13956061

Болт

1шт.

6

VOE 13949185

Lamp

24V/10W

1шт.

6

VOE 13949185

Lamp

24V/10W

1шт.

7

VOE 14375215

Cable harness

1шт.

8

VOE 14370761

Соединитель

1шт.

8

VOE 14370761

Connector

1шт.

9

VOE 14370881

Вставка

1шт.

9

VOE 14370881

Вставка

1шт.

Выбрано товаров: 19