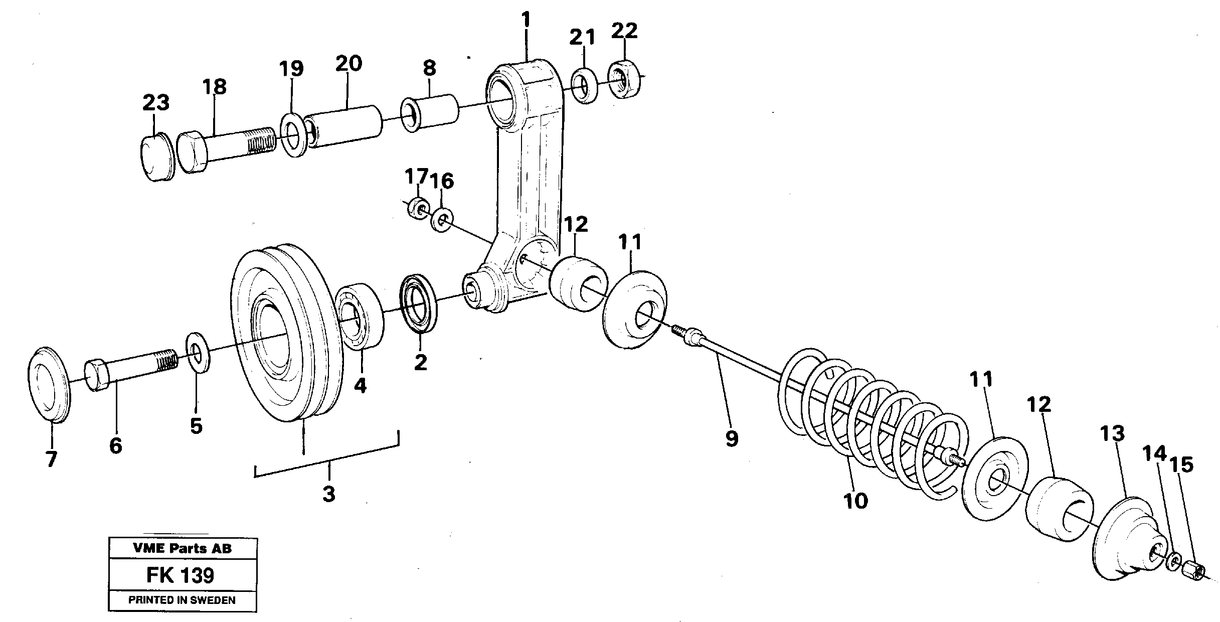
Запчасти Volvo EW200 43606 Automatic belt tensioner with fitting parts EW200 ?KERMAN ?KERMAN EW200

Схема запчастей Volvo EW200 - 43606 Automatic belt tensioner with fitting parts EW200 ?KERMAN ?KERMAN EW200
FIT
1:1
100%

Артикул

Название

Примечание

Количество

VOE 421540

Belt tensioner

1шт.

VOE 471320

Belt tensioner

1шт.

1

VOE 3183644

3183644

1шт.

10

VOE 471318

Compression spring

1шт.

11

VOE 471323

Spring guide

1шт.

11

VOE 471323

Spring guide

1шт.

12

VOE 1134962

Втулка

1шт.

12

VOE 1134962

Втулка

1шт.

13

VOE 471325

Spring anchorage

1шт.

13

VOE 471325

Spring anchorage

1шт.

14

VOE 955892

Шайба

1шт.

14

VOE 955892

Шайба

1шт.

15

VOE 421541

Гайка

1шт.

15

VOE 421541

Гайка

1шт.

16

VOE 976943

Шайба

1шт.

16

VOE 976943

Шайба

1шт.

17

VOE 13955781

Гайка

(955781)

1шт.

17

VOE 13955781

Гайка

(955781)

1шт.

18

VOE 13970983

Винт шестигранник

(970983)

1шт.

18

VOE 13970983

Винт шестигранник

(970983)

1шт.

19

VOE 13960145

Шайба

(960145)

1шт.

19

VOE 13960145

Шайба

(960145)

1шт.

2

VOE 477016

Sealing washer

1шт.

2

VOE 477016

Sealing washer

1шт.

20

VOE 471317

Вал

1шт.

20

VOE 471317

Вал

1шт.

21

VOE 471321

Кольцо уплотнительное

1шт.

21

VOE 471321

Кольцо уплотнительное

1шт.

22

VOE 13971072

Hexagon nut

(971072)

1шт.

22

VOE 13971072

Hexagon nut

(971072)

1шт.

23

VOE 471889

Protecting casing

1шт.

23

VOE 471889

Protecting casing

1шт.

3

VOE 1661878

Шкив

1шт.

4

VOE 11000235

Ball bearing

1шт.

4

VOE 11000235

Ball bearing

1шт.

5

VOE 947354

Шайба

1шт.

5

VOE 947354

Шайба

1шт.

6

VOE 949894

Flange screw

1шт.

6

VOE 949894

Flange screw

1шт.

7

VOE 471430

Protecting cover

1шт.

8

VOE 477160

Slide bearing

1шт.

8

VOE 477160

Slide bearing

1шт.

9

VOE 477312

Cable

1шт.

9

VOE 477312

Cable

1шт.

Выбрано товаров: 44