Запчасти Volvo EW200 9623 Hydraulic motor, transport EW200 ?KERMAN ?KERMAN EW200

Схема запчастей Volvo EW200 - 9623 Hydraulic motor, transport EW200 ?KERMAN ?KERMAN EW200
FIT
1:1
100%

Артикул

Название

Примечание

Количество

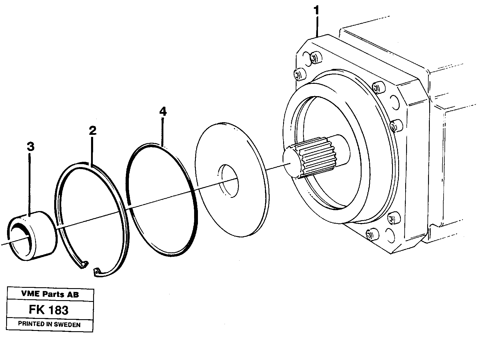
1

VOE 14215459

Гидромотор

1шт.

2

VOE 914552

Snap Ring

1шт.

2

VOE 914552

Кольцо стопорное

1шт.

3

VOE 14262763

Кольцо уплотнительное

1шт.

3

VOE 14262763

Кольцо уплотнительное

1шт.

4

VOE 925262

Кольцо уплотнительное (О-кольцо)

1шт.

4

VOE 925262

Кольцо уплотнительное (О-кольцо)

1шт.

Выбрано товаров: 7