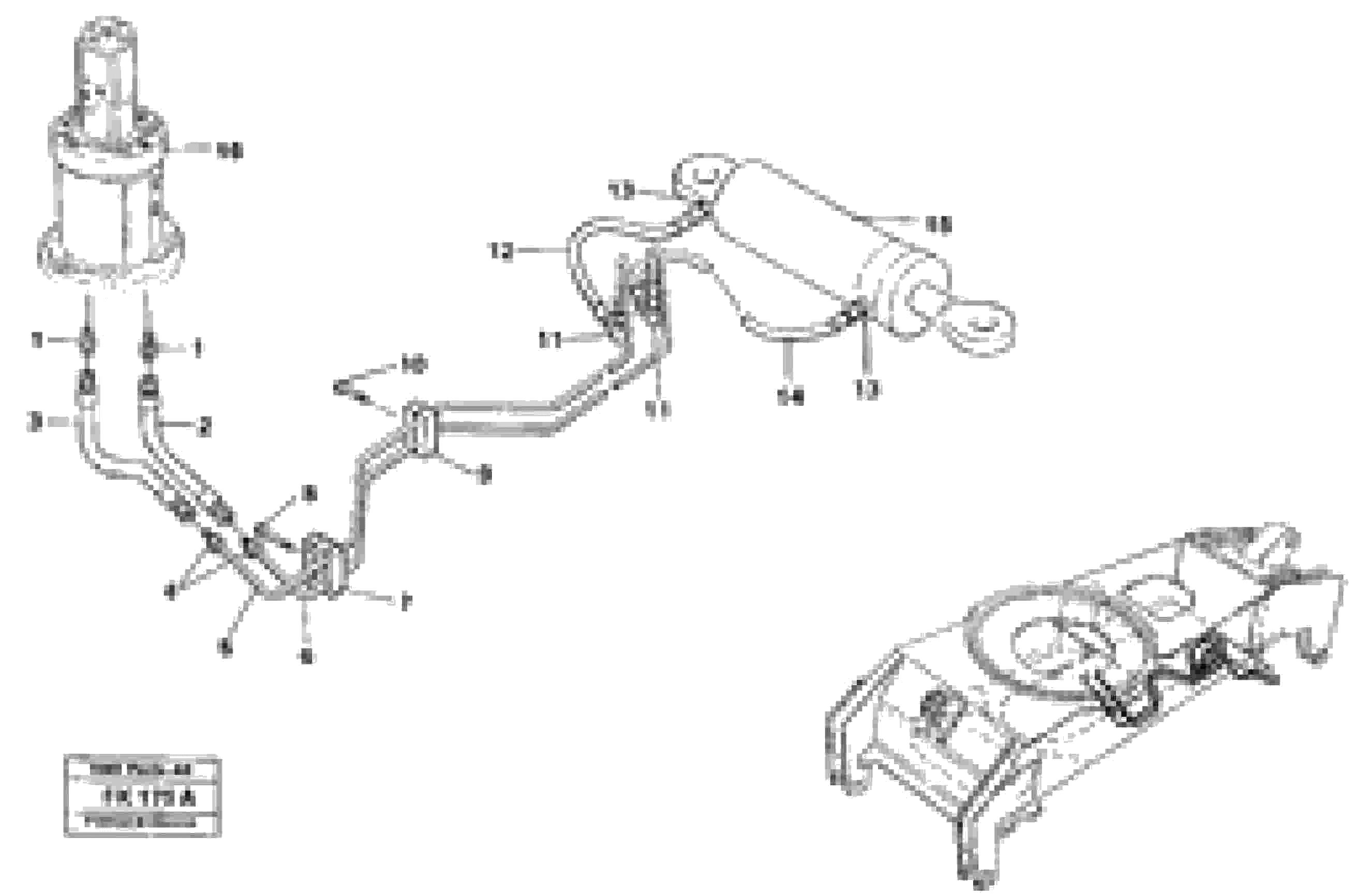
Запчасти Volvo EW200 45028 Steering system, undercarriage EW200 ?KERMAN ?KERMAN EW200

Схема запчастей Volvo EW200 - 45028 Steering system, undercarriage EW200 ?KERMAN ?KERMAN EW200
FIT
1:1
100%

Артикул

Название

Примечание

Количество

VOE 14211858

Кольцо уплотнительное

1шт.

VOE 14211858

Кольцо уплотнительное

1шт.

VOE 14211858

Кольцо уплотнительное

1шт.

VOE 14211858

Кольцо уплотнительное

1шт.

1

VOE 14012423

14012423

1шт.

10

VOE 13970958

Винт шестигранник

1шт.

10

VOE 13970958

Винт шестигранник

1шт.

11

VOE 14012489

14012489

1шт.

12

VOE 14056260

Hydraulic hose

1шт.

13

VOE 14012423

14012423

1шт.

14

VOE 14040484

Hydraulic hose

1шт.

2

VOE 14245605

Hydraulic hose

1шт.

3

VOE 14056260

Hydraulic hose

1шт.

4

VOE 14012404

14012404

1шт.

4

VOE 14012404

Фиттинг

1шт.

5

VOE 14248364

Tube Assembly

1шт.

6

VOE 14248365

Tube Assembly

1шт.

7

VOE 14240241

Tube Clamp

1шт.

8

VOE 13970958

Винт шестигранник

1шт.

8

VOE 13970958

Винт шестигранник

1шт.

9

VOE 14240241

Tube Clamp

1шт.

Выбрано товаров: 21