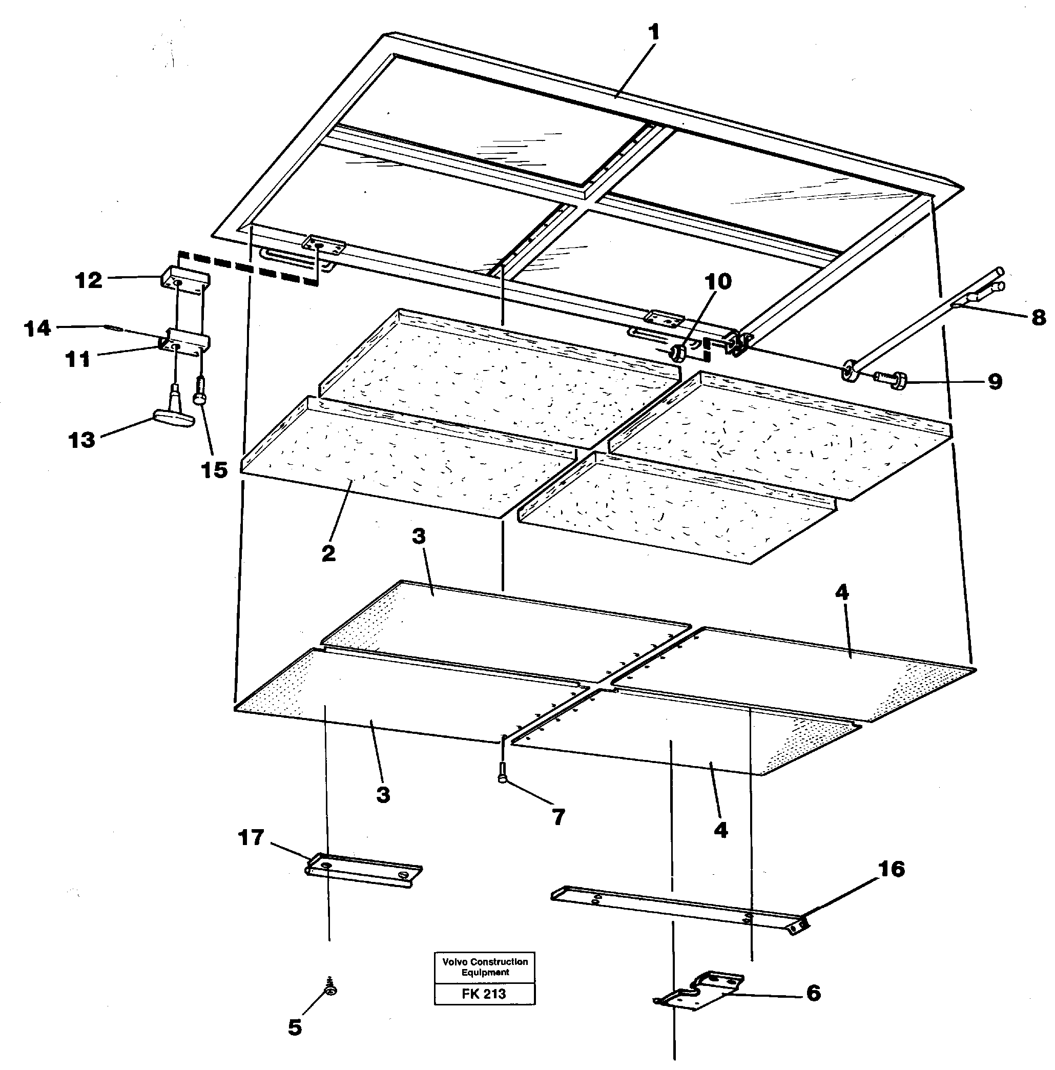
Запчасти Volvo EW200 42510 Hatch, engine EW200 ?KERMAN ?KERMAN EW200

Схема запчастей Volvo EW200 - 42510 Hatch, engine EW200 ?KERMAN ?KERMAN EW200
FIT
1:1
100%

Артикул

Название

Примечание

Количество

VOE 14265019

Hatch

1шт.

10

VOE 963110

Гайка

1шт.

10

VOE 963110

Lock nut

1шт.

11

VOE 14054944

Вставка

1шт.

12

VOE 14025506

Lock

1шт.

13

VOE 14340848

14340848

1шт.

14

VOE 14102979

Spring pin

1шт.

15

VOE 14210397

Болт

1шт.

15

VOE 14210397

Болт

1шт.

16

VOE 14263709

Moulding

1шт.

17

VOE 14265012

Шайба

1шт.

17

VOE 14265012

Тарелка клапана

1шт.

2

VOE 14280886

Insulation

1шт.

3

VOE 14251727

Шайба

1шт.

4

VOE 14265044

Шайба

1шт.

5

VOE 14014669

Болт

1шт.

6

VOE 14263601

Attachment

1шт.

7

VOE 14211258

Болт

1шт.

7

VOE 14211258

Болт

1шт.

8

VOE 14040048

Опора

1шт.

9

VOE 13955366

Болт

1шт.

9

VOE 13955366

Болт

1шт.

Выбрано товаров: 22